The Project Gutenberg EBook of Scientific American Supplement, No. 492,
June 6, 1885, by Various

This eBook is for the use of anyone anywhere at no cost and with
almost no restrictions whatsoever.  You may copy it, give it away or
re-use it under the terms of the Project Gutenberg License included
with this eBook or online at www.gutenberg.org


Title: Scientific American Supplement, No. 492, June 6, 1885

Author: Various

Release Date: June 2, 2004 [EBook #12490]

Language: English

Character set encoding: ISO-8859-1

*** START OF THIS PROJECT GUTENBERG EBOOK SCIENTIFIC AMERICAN ***




Produced by Don Kretz, Juliet Sutherland, Charles Franks and the DP Team





TITLE

SCIENTIFIC AMERICAN SUPPLEMENT NO. 492

NEW YORK, JUNE 6, 1885

Scientific American Supplement. Vol. XIX, No. 492.

Scientific American established 1845

Scientific American Supplement, $5 a year.

Scientific American and Supplement, $7 a year.


TABLE OF CONTENTS.
I. ENGINEERING AND MECHANICS.—The New Spanish Artillery.—2 engravings.
Qualitative Tests for Steel Rails.—By L. TETMAJER.
A New Form of Small Bessemer Plant.—By A. TRAPPEN.
Triple Compound Engines.—A paper read by A.E. SEATON before the Institution of Naval Architects.
Early History of the Steam Jack.
Bridge over the River Adige, at Verona.—13 figures.
Pumping Machinery.—Mine pumps.—Direct acting steam pumps. By E.D. LEAVITT.
Improved Gun Pressure Gauge.—2 figures.
Measuring the Thickness of Boiler Plates.
On an Express Engine.
II. TECHNOLOGY.—Improved Plaiting Machine.—With engraving.
Self-acting Shuttle Guard.—1 figure.
Ruler and Triangle for Hatching.
The Distillation of Sea Water.—1 figure.
Aids to Correct Exposure on Photographic Plates.—An interesting paper by W. GOODMAN.
Isochromatic Photography.—By FRED. E. IVES.—2 figures.
Distortion from Expansion of the Paper in Photography.
III. ELECTRICITY, ETC.—On the Fritts Selenium Cells and Batteries.—A paper read before the American Association by C.E. FRITTS.
Electricity Applied to the Manufacture of Varnish.—2 figures.
Naglo Brothers' Telephone System.—3 figures.
The Gerard Electric Lamp.—1 figure.
A New Reflecting Galvanometer.—3 figures.
IV. ART AND ARCHITECTURE.—Groups of Statuary for the Pediment of the House of Parliament in Vienna.—2 engravings.
The Casino at Monte Carlo.—An engraving.
V. PHYSICS.—Determining the Density of the Earth.—1 figure.
Physics without Apparatus.—The Porosity and Permeability of Bodies.—A Hot Air Balloon.—2 engravings.
VI. NATURAL HISTORY.—Winter and the Insects.—An engraving.
Silk Worm Eggs.—With engraving.
VII. HORTICULTURE.—The Melleco.—Ullucus tuberosa.—With engraving.
VIII. PHYSIOLOGY, MEDICINE, ETC.—Histological Methods.—Section cutting machines.—Methods of preserving the tissues.—Preservative media.—Preparation for mounting tissues.—1 figure.
Life History of a New Septic Organism.
Erythroxylon Coca as a Therapeutic Agent.—By Dr. E.R. SQUIBB.

NEW SPANISH ARTILLERY.

The Spanish Government is now engaged in supplying some of its principal fortifications with heavy guns of the most improved construction. The defenses of Cadiz and Ceuta have been greatly strengthened in this respect. The most recent additions are some very powerful Krupp guns for the fortress of Isabel II., at Mahon.

 NEW KRUPP BREECH LOADING GUNS FOR SPANISH FORTIFICATIONS.

NEW KRUPP BREECH LOADING GUNS FOR SPANISH FORTIFICATIONS.

We give engravings from photographs, as presented in La Illustracion Española. These guns are breech loaders, of steel, 30½ centimeters caliber, or 12 inches, 49 tons weight.

 NEW KRUPP BREECH LOADING GUNS FOR SPANISH FORTIFICATIONS.

NEW KRUPP BREECH LOADING GUNS FOR SPANISH FORTIFICATIONS.

One of our engravings shows the great revolving crane by which the guns were lifted and placed on the truck for conveyance over a track to their intended position. This crane is worked by eight men, and readily lifts burdens of about 200,000 lb. The other engraving shows the jack frame and jacks employed to remove the gun from the temporary truck. At a range of 7,000 yards these guns are able to penetrate iron plates of two feet thickness.


QUALITATIVE TESTS FOR STEEL RAILS.

By Mr. L. TETMAJER.

This memoir is the first of a series upon the unification of nomenclature and classification of building materials, undertaken by the author at the request of the Swiss Engineers' and Architects' Union. For its preparation numerous mechanical tests have been made upon steel rails, both good and bad, taken from the Swiss railways, while the corresponding chemical analyses have been made by Dr. Treadwell in the Polytechnic Laboratory, at Zurich. The results are given for twenty-two examples, about one-half of which have stood well, while the remainder have either broken, split, or suffered considerable abrasion in wear; but in many instances the mechanical test of tensile strength, elongation, and contraction, and the figures of quality (Wohler's sum and Tetmajer's coefficient) deduced from these have varied very considerably for the results obtained in practice.

The best wearing rails, which often give contradictory results with the tensile test, were comparatively pure manganese steels, low in silicon, only exceptionally up to 0.2 per cent., but generally below 0.1 per cent., and with less than 0.1 per cent. of phosphorus and sulphur. On the other hand, rails with a tendency to break or split are low in carbon, with variable proportions of manganese, but contain much silicon, 0.3 to 0.9 per cent., and often above 0.1 per cent. of phosphorus. Another series of experiments upon rails for the Finland lines made by the author in 1879-80 shows the high quality of manganese steel. These are essentially highly carburized (0.3-0.4 per cent. carbon) with 0.7 to 1.4 per cent. manganese, and have stood three and a half years' wear without a single one being broken; while those of silicon steel with 0.106-0.144 per cent. carbon, 0.592-0.828 manganese, and 0.423-0.435 silicon have failed in many cases, showing a great tendency to split. In both of the latter instances, however, the figures deduced from tensile tests of both good and bad specimens were substantially the same.

The causes of the difference between the two kinds of steel the author attributes to differences in the structure of the ingot due to the agent used in "chemical consolidation," which may be either manganese or silicon, which structures are illustrated by photographs of ingot fractures. When silicon is used there is a tendency to unsoundness about the exterior of the ingot, which is surrounded by a honeycomb-like cellular casing of greater or less depth; while with manganese the vesicular cavities are more or less dispersed through the whole substance, or concentrated toward the interior of the ingot. Rails made from the former are, therefore, more likely to contain unsound portions near the outer wearing surface, and to give unsatisfactory results in wear, than those from the latter; but as the test pieces are usually cut from the center of the railhead, the tensile resistance of the interior may be equal to or surpass that of the superior material. In summing up his observations the author concludes that the method of tensile testing is mainly of value in determining the quality of the material, but that for the finished product properly arranged falling weight tests are necessary. He also considers that the test pieces should be flat bars of 2.5 to 3.5 centimeters in area, cut as near as possible to the outer surface of both head and foot of the rail. He reprobates especially the research for microscopic imperfections (mikrobensücherei) upon the fractured surfaces, as an annoyance to the producer, and perfectly useless to the consumer.—Stahl und Eisen, vol. iv., page 608; through Proc. Inst. Civ. Eng.


A NEW FORM OF SMALL BESSEMER PLANT.

By Mr. A. TRAPPEN.

The success of the Bessemer process when carried out on the small scale at Avesta in Sweden, as described by Professor Ehrenwerth, and subsequent experiments of a similar kind made at Pravali, in Carinthia, and elsewhere, have led the author, who is specially occupied in the building of Bessemer works, to design a plant suitable for operation upon small charges. This consists essentially of a converter about 1 meter outside diameter, and 1.5 meters high, connected by a single trunnion to a horizontal steel shaft carried by the arm of a hydraulic crane which is very similar in character to the ladle crane of a large sized converter. The sweep of the crane is such as to allow the converter to be brought close up to the tap hole of the blast furnace or cupola, so that the use of open gutters for the fluid metal may be avoided as much as possible. The converter is turned on its axis by a screw and worm wheel, which is manipulated by a workman standing on a platform at the opposite arm of the crane. The blast is brought in from above by a pipe down the central pillar of the crane, which is connected with the blast-main by a flexible tube and packed joint. The outer trunnion bearing is open, so that by slightly raising and lowering the ram of the crane, the converter may be left suspended to a weighing machine in front of the furnace, if it is required to determine the weight of the charge. When the converter is filled, it is borne by the crane into a convenient position for blowing, and if the basic method is followed for removing the slag, the converted metal is cast into ingot moulds, which are manipulated by a small ingot crane of the ordinary pattern. In the case of small existing blast-furnaces, which usually have their tap holes near to the ground, it may be necessary to have a shallow ingot pit (20 to 24 inches deep); but with cupolas this will not generally be necessary, and the whole of the operations may be carried on at the ground level. Each crane is intended to be supplied with two or three converters, so that operations may be carried on continuously. The weight of charge proposed is 15 cwt., which should under ordinary conditions give 12 cwt. of ingots. Taking the time of a single converting operation at half an hour it will be easy to obtain fifty blows per day, or a production of 30 tons. This may be easily increased by placing a second converting crane on the other side of the furnace, for which the same blowing engine will be sufficient, as the actual blowing time will not exceed twelve minutes. The labor required for each converter will be about six men per shift.

The blast required has been experimentally determined at 40-50 cubic meters per minute at 15 lb. pressure. This will be supplied by a single cylinder engine of 900 millimeters blast, and 786 millimeters steam piston, diameter 786 millimeters, stroke making fifty revolutions per minute, which is also to work a Root blower and the accumulator pumps. Having regard to these very different demands upon the power of the engine, it will be provided with expansion gear, allowing a considerable variation in the cut-off. A single boiler of 70 to 75 square meters heating surface will be sufficient. The accumulator is intended to work at 300 lb. pressure.

The cost of the plant, including one of each of the following items, converter, converter truck, blowing engine, accumulator, ingot crane, centesimal weighing machine, and accumulator pump, is estimated at £2,050 to £2,100; and that of the steam boiler, £325. The buildings may be of the simplest and cheapest possible character. As the productive power of such a plant contrasts very favorably with its cost, the author considers that it may be fairly expected to meet the competition of large works, especially in the manufacture of a high-class product.—Stahl und Eisen, vol. iv., page 524; through Proc. Inst. Civ. Eng.


TRIPLE COMPOUND ENGINES.[1]

By Mr. A.E. SEATON.

My attention was first called to the modern triple compound engine by the published reports of the trial trip of the yacht Isa, and in it I plainly discerned the germs of a successful new type of engine; but it was not until I had seen the engines of the screw steamer Aberdeen erected in the workshops of Messrs. Robert Napier & Sons that I became convinced that it was the engine of the immediate future. It is, however, due to the farsightedness and enterprise of Mr. C.H. Wilson, M.P., that I was enabled to try the merits of the new system and compare it with the old. Mr. Wilson had already viewed the triple compound engine with more than ordinary interest, and it required little persuasion on my part to allow the company to which I have the honor to belong to construct a triple expansion engine in lieu of the ordinary compound for one of four sister ships which it then had in hand for Messrs. Thomas Wilson, Sons & Co., the latter only stipulating that it was to be of the same power as the engine already contracted for. As I was quite convinced that economy was due to the system rather than to the higher pressure, it was decided not to increase the boiler pressure more than was necessary to suit the triple system. The other three ships already alluded to were being fitted with engines having cylinders 25 inches and 50 inches diameter by 45 inches stroke, and supplied with steam of 90 lb. pressure from a double ended boiler 13 feet 9 inches diameter by 15 feet long, having a total heating surface of 2,310 feet, so that these engines have every qualification for being economical so far as general proportions go, the stroke being an abnormally long one and the boiler of ample size. Experience has since shown that these engines are economical in coal, and the wear and tear exceptionally small.

The new engines for the fourth boat were made with considerably shorter stroke, and the cylinders proportioned so as to give equal power; they are 21 inches, 32 inches, and 56 inches diameter by 36 inches stroke, the high pressure cylinder being supported on columns immediately over the medium cylinder, and in other respects these engines were made as near as possible like the other ones above named. Steam at 110 lb. pressure is supplied from a double ended boiler 12 feet 9 inches diameter and fifteen feet long, having a total heating surface of 2,270 square feet, and identical in design with the boiler supplied for the other engines. The propellers were made exactly alike in all respects, and the ships being likewise precisely alike, a comparison of the performances of the one fitted with the triple engines could be made with as little grounds for differences of opinion as is possible. One of the ships fitted with the ordinary compound engines was named the Kovno, that with the triple compound engines the Draco. Their dimensions are as follows:

                                 Feet. Inches.
Length between perpendiculars.    270    0
Breadth.                           34    0
Depth of hold.                     18    3

And of 1,700 tons gross register. They are ordinary cargo boats, built of steel, having a raised quarter deck and long bridge amidships, but nothing about them otherwise requires comment.

After making a voyage or two to the Baltic, and finding that everything was working satisfactorily, the Kovno was loaded with 2,400 tons dead weight, and sailed in January, 1883, for Buenos Ayres; the Draco was loaded with 2,425 tons dead weight, and sailed March, 1883, for Bombay, the distance in both cases being about 6,400 miles. It was thought advisable, for purposes of comparison, that the ships should steam at as near as possible the same speed; and to attain this object, we considered the safest plan was to instruct the engineers as to the average amount of coal they were to burn per day, and experience with these ships on their Baltic voyages had fixed this at 12 tons in the case of the Kovno and 10 tons in the case of the Draco. During the voyage each ship seems to have had fair average weather, and equal care was taken in getting the best results possible. The average speed of the Draco was, however, 8.625 knots, or 207 miles per day, the engines making on the average 57.5 revolutions per minute, while the Kovno did only 8.1 knots, or 194 miles per day, the engines making 55.5 revolutions. The coal used was ordinary South Yorkshire, just as it comes from the pits for bunker purposes. The indicated horse power in each case would average about 600. The total coal consumed was 326 tons in the Draco and 405 tons in the Kovno, or a saving of 19.5 per cent. over the ordinary compounds, with an increase of speed of 6.5 per cent.

In December, 1883, one of the others, the Grodno, sailed from Bombay, and attained an average speed of 8.5 knots, or 204 miles per day, the engines making 57 revolutions, with a coal consumption of 12.8 tons per day, or 469 tons on the voyage. The Draco's consumption is therefore 30.5 per cent. less than that of the Grodno on the round voyage, and 20.3 percent per day.

The success of the triple compound engine was in these instances more than had been anticipated, and induced Mr. Wilson to go a step further. The S.S. Yeddo had been refitted with boilers made for a working pressure of 90 lb. per square inch, but owing to the size of the shafting the working pressure was limited to 70 lb.; the average consumption of coal under these circumstances on two voyages was 17 tons per day. These boilers had a margin of safety beyond what was required by the rules when made, and as the Board of Trade rules had been modified in the mean while, it was found that they could with safety be worked at 100 lb. per square inch. A third cylinder was now fitted on the top of the original low pressure, and the safety valves loaded to the 100 lb., and the ship was dispatched to Cronstadt. After making two voyages under similar circumstances to the two previous ones, the average consumption was 13.5 tons per day only. In this case it was the same ship, same boilers, same engines, same propeller, and same men, the only difference being the addition of a third cylinder and the increase of pressure.

So far all the trials had been made with two crank engines; so it was now decided to construct another set of engines for 150 lb. pressure, having a crank to each cylinder. These engines had cylinders 20½ inches, 33 inches, and 58 inches diameter by 36 inches stroke, and were fitted into the screw steamer Rosario, whose dimensions are 275 feet 3 inches between perpendiculars, 34 feet 3 inches beam, and 19 feet 2 inches depth of hold, 1,862 tons gross, and the deadweight capacity 2,550 tons. In March last year she was loaded with 2,530 tons deadweight, and did the voyage to Bombay at an average speed of 8.6 knots on a consumption of 10.5 tons per day of South Yorkshire coal, and burnt on the voyage 347 tons. This result is superior to that of the Draco when the size of the ship is taken into account, but is not so much so as might have been anticipated from the increase of pressure and the rate of expansion, which was 14.4 in the Rosario and 12 in the Draco. Another set of engines was made from the patterns of those of the Draco, but with the high pressure cylinder 20 inches diameter, steam at 150 lb. pressure being supplied from two single ended boilers, having a total heating surface of 2,200 square feet. They are fitted in the S.S. Finland, a cargo boat 270 feet long, 35 feet beam, by 18 feet depth of hold, and 1,954 tons gross register. In January she was loaded with 2,500 tons deadweight, and sailed for Rangoon. The average speed attained was 8.42 knots per hour, or 202 miles per day, on a consumption of 10.3 tons of Welsh coal per day, the rate of expansion being 12. It should be mentioned that all these ships named are fitted and steered with steam stearing gear, so that in comparing these results and those published of the engines made by an eminent engineer in the north of England, an allowance should be made, as in that ship there was no steam stearing gear.

I have chosen to make all these comparisons by reference to the ships' logs, and to give results such as a shipowner looks for rather than those which engineers prefer to use in forming a judgment on the merits of different engines. I do this for two reasons: first, because the commercial success of the triple compound engine depends on the saving it can effect in a long voyage; and secondly, because I had no reliable indicator diagrams from which the consumption per indicated horse power could be calculated with any degree of accuracy. On trial trips with the steamers already named, the consumption of ordinary South Yorkshire coal was 1.6 lb. per indicated horse power, and the consumption of water per indicated horse power calculated from the high pressure indicator diagrams was 1.41 in the Draco, 13.2 in the Rosario, and 13.16 with the Finland, or taking the medium pressure diagrams, it was 12.2, 1.30, and 11.95 respectively. Twelve months ago we constructed for Messrs. Thomas Wilson, Sons & Co., two sets of triple expansion engines of 600 indicated horse power, one having two cranks and the other three cranks, the engines, boilers, and propellers being otherwise exactly alike and fitted into sister ships. The water consumed in the three crank engine is 12.93 lb., against 13.0 in the two crank, but the former drives its ship nearly ½ knot per hour faster than the latter does its, and when both ships are driven at the same speed the consumption of coal in the three crank ship is considerably less than in the other.

We have now entirely given up the construction of two-crank triple expansion engines, because of the impossibility of equally dividing the work between the cranks; for, although the engine when running appeared to be perfectly balanced, the wear of the brasses of the crank having the two cylinders was always considerably more than that of the other. Placing the high pressure cylinder over the low pressure cylinder seemed to give the most satisfactory results, but even these were far inferior to those once obtained with the three cranks. We have lately constructed some very small three-crank engines from which exceedingly good results were obtained; the cylinders are only 11½ inches, 17 inches, and 30 inches by 18 inches stroke, which developed 218 indicated horse power with a consumption of 12.8 lb. of water per indicated horse power, and this, together with some other observations, leads me to believe that the best economical results will be obtained by running triple expansion engines at a much higher number of revolutions than is usual, and with a rate of expansion not less than 12 for a steam pressure not less than 140 lb. (155 absolute). The largest engines we have made of this type so far are those of S.S. Martello, which have cylinders 31 inches, 50 inches, and 82 inches diameter by 57 inches strokes and indicate at sea 2,400 horse power when running at 60 revolutions with steam of 150 lb. pressure; the consumption of Yorkshire coal is 37 tons per day average throughout a New York voyage. Had Welsh coal been used in every case, the results would have been very much better, for, in addition to the superior evaporative power of Welsh coal, it is slow burning and much more easily controlled, especially on the comparatively short grates of these modern boilers, the quick-burning Yorkshire coal causing the safety valves to frequently blow off when working near the load pressure unless great care is taken by the firemen.

I trust these few particulars may be of interest to the Institution, and especially to those members of it who are particularly interested in the commercial success of our mercantile navy. I have purposely avoided engineering details and technicalities of any kind, giving only such information as will tend to give British shipowners faith in that form of engine which will undoubtedly help them to successfully tide over bad times, and keep the bulk of the carrying trade of the world in their hands.

[1]
Paper read before the Institution of Naval Architects, March 27, 1885.

EARLY HISTORY OF THE STEAM JACK.

To the Editor of the Scientific American:

A friend has brought me a copy of the SCIENTIFIC AMERICAN SUPPLEMENT, of April 18, 1885, containing an article about a "steam jack."

Says Mr. J.G. Briggs, in the American Engineer: "Of its origin nothing is known." Also the invention is attributed to "Benjamin Baleh." I can give you the true history of the "steam jack." It was invented by my grandfather, John Bailey, of Hanover, Plymouth County, Mass. He was a minister of some note in the Society of Friends, or Quakers.—a man of superior mental ability, but poor in purse, for, like all early inventors, he reaped but little pecuniary benefit from his inventions. Among those inventions was the first iron sink in this country—if not in the world. A few years ago that sink was in use at his old home in Hanover. He also invented the crooked nose for the tea-kettle. Previous to that the nose was straight. Both sink and tea-kettle were cast at the Middleborough foundry. When he made the steam-jack he said, "In less than fifty years the common mode of travel would be by steam." People called him "steam mad." But about the jack. We have one in our possession of which your cut is an exact copy. We have used it several times. We also have the parchment patent, of which I send you a copy. The jacks were not in general use, for soon after the invention the "tin kitchen," or "Dutch oven," as it was sometimes called, was introduced, and superseded the jack entirely, as people were afraid of being blown up by steam. The patent says, "John Bailey, of Boston," showing that at that early date Boston was considered the Hub, and that it was considered a good thing to hail from there. Hanover is about twenty-four miles from Boston.

Trusting I have not wearied you, I am,

ANNA M. BAILEY.

Bleak House, Lynn, Mass., May 12.

COPY OF PATENT.

United States.

To all to whom these Presents shall come, Greeting. Whereas, John Bailey, of Boston, in the State of Massachusetts, hath presented a petition to the Secretary of State, the Secretary for the Department of War, and the Attorney-General of the United States, alledging and suggesting that he hath invented the following useful Machine, not before known or used, that is to say: A Steam Jack, consisting of a boiler, three wheels, and two wallowers; the steam which issues from boiling water in the said boiler gives motion to one of those wheels by striking on buckets on its circumference; on the outer end of the axle of the wheel is a wallower, the rounds of which fall into the teeth of a second wheel; on the axle of this second wheel is another wallower, the rounds of which fall into the teeth of a third wheel; on the axle of which third wheel is a spit: and praying that a patent may be granted therefor: and, whereas, the said invention hath been deemed sufficiently useful and important: These are, therefore, in pursuance of the Act, intitled an Act to promote the progress of useful arts, to grant the said John Bailey, his heirs, administrators, or assigns, for the term of fourteen years, the sole and exclusive right and liberty of constructing, using, and vending to others to be used, the said invention so far as he the said John Bailey was the inventor, according to the allegations and suggestions of the said petition. In Testimony whereof I have caused these Letters to be made patent, and the Seal of the United States to be hereunto affixed. Given under my hand, at the City of Philadelphia, this twenty-third day of February, in the year of our Lord one thousand seven hundred and ninety-two, and of the Independence of the United States of America the Sixteenth. Go. WASHINGTON.

By the President,

TH. JEFFERSON.

CITY OF PHILADELPHIA, February 23, 1792.

I do hereby certify that the foregoing Letters-patent were delivered to me in pursuance of the Act intitled an Act to promote the progress of useful arts: that I have examined the same, and find them conformable to the said Act.

EDM. RANDOLPH,

Attorney-General of the U.S.

[SEAL.]


BRIDGE AT VERONA.

 BRIDGE OVER THE RIVER ADIGE, AT VERONA.

BRIDGE OVER THE RIVER ADIGE, AT VERONA.

The iron bridge which spans the Adige at Verona, of which we publish illustrations, has been recently completed to replace an old masonry bridge built in the fourteenth century, and which was destroyed by the celebrated flood of 1882. In designing the new work two leading conditions had to be fulfilled, namely, that there should be a single opening of 291 ft. between abutments, and that this width should be left quite unobstructed, for the river is subject to floods, which are frequent, and very violent and sudden. For this latter reason an ordinary form of arch, with the roadway above it, was inadmissible, since the waterway would be seriously obstructed; the special form illustrated was, therefore, carried into execution. The bridge, as will be seen from Figs. 1, 2, 3, and 7, consists of two main arched girders, with two vertical sides in lattice work; these arches spring below the level of the roadway and rise to a considerable height above it, in the center. The horizontal girders carrying the roadway, are connected to the arches by verticals of the form and section shown in the drawings. The longitudinal girders are of double trellis, as will be seen by reference to Figs. 1, 12, and 16. The following are the principal dimensions of the bridge:

                                     Ft. In.
Clear opening between abutments      291 4
Rise of arch                          32 9¾
Width of bridge                       37 4¾
Depth of arched girders                4 7

The arched girders are connected together, in the central portion, by a system of diagonal bracing, as is shown on Figs. 2 and 7. The carriage road on the platform consists of buckled plates resting on transverse girders spaced 6 ft. 6 in. apart, and covered with road metal, and for the sidewalks checkered plates are used. The ironwork in the bridge weighs 400 tons, and cost 8,400 l.; the abutments cost 3,600l., making the total outlay on the structure 12,000l. The bridge was tested by a uniformly distributed load of 82 lb. per sq. ft., and under this stress the arched girders deflected 1.06 in. The horizontal and vertical oscillation of the bridge, which were carefully observed and graphically recorded by special instruments, were very slight. The engineer of the work was Mr. G.B. Biadego, of Genoa.—Engineering.

 BRIDGE OVER THE RIVER ADIGE, AT VERONA.

BRIDGE OVER THE RIVER ADIGE, AT VERONA.


PUMPING MACHINERY.[1]

By E.D. LEAVITT, JR., Cambridgeport, Mass.

MINE PUMPING MACHINERY.

One of the earliest steam engines, of any size, introduced into America, was erected about the year 1763, at the Schuylkill copper mine, situated upon the Passaic River, in New Jersey. All its principal parts were imported from England; and a Mr. Hornblower (the son, it is believed, of the well known engineer of that name) came to this country for the purpose of putting up and running this engine.

At the time when the manufacture of the engines for the Philadelphia Water Works was commenced, and as late as the year 1803, we find five engines, in addition to the one above mentioned, noticed as being used in this country: two at the Philadelphia WaterWorks; one just about being started at the Manhattan Water Works, New York; one in Boston; and one in Roosevelt's sawmill, New York; also a small one used by Oliver Evans to grind plaster of Paris, in Philadelphia. Thus, at the period spoken of, out of seven steam engines known to be in America, four were pumping engines.

In the coal regions of Pennsylvania, a simple, high pressure, single acting Bull engine has been extensively adopted; the dimensions usually run from 36 inches to 80 inches in diameter, and a very common stroke is 10 feet. At the Empire shaft, in the Schuylkill coal region, there is a very fine pair of these engines, with 80 inch cylinders, working 24 inch pumps. The stroke of both steam pistons and pumps is 10 feet. These Bull engines are placed either vertically or on an incline, as is most convenient for the workings. The water valves are made either double, triple, or four beat, according as the pumps are large or small; and the beats are usually flat, and faced with leather. Many flap-valves are also in use. These are frequently arranged on conical seats, and work very well.

The Bull engines, from their strength and simplicity, give very little trouble, working year after year with astonishing freedom from accident and slight cost of repair. No attempt is made to economize fuel, which consists mainly of culm, which would otherwise be wasted. Of late, direct acting steam pumps placed under ground have found much favor with mine operators, on account of their portability and small first cost. They usually range in size from 8 inch steam and 5 inch water cylinders by 12 inch stroke to 80 inch stream and 14 inch water cylinders by 36 inch stroke. Great numbers of these pumps are in use all over the United States.

A pumping engine that is remarkable for its size and peculiarities of construction is located at the Lehigh zinc mine, at Friedensburg, Pa. It was designed by Mr. John West, the company's engineer, and built by Merrick & Sons, of the Southwark Foundry, Philadelphia. It is a beam and fly-wheel engine, the steam cylinder being 110 inches in diameter, with a stroke of 10 feet. There are two beams on the same main center, from the outer end of which a double line of bucket and plunger pumps is operated. The crank-shaft is underneath the steam cylinder; and there are two fly-wheels, one on each end of said shaft, the crank-pins being fast in the hubs of the same. There are two connecting rods, which are attached one to each end of an end beam pin 28 inches in diameter. The main center and crank shafts are also 28 inches in diameter; each of the two plunger holes is 24 inches by 30 inches in section; and all the working parts are in proportion to those heretofore mentioned.

Perhaps no mining district has ever had to contend against greater difficulties in pumping than have faced the engineers of the celebrated Comstock lode, Virginia City, Nev. The mines are of great depth, in some instances 3,300 feet; and the water is hot, rising to 160 degrees Fahr. The machinery collected at this location is of great variety and magnitude. There are many Davey engines, both horizontal and vertical. The Union and Yellow Jacket shafts have compound fly wheel engines of very great power; the former having a beam, and the latter being horizontal, with cylinders placed side by side, and pistons connected to a massive cross-head, from the ends of which connecting rods lead to crank pins located in the hubs of the fly-wheels, which are overhung upon the ends of the main shaft. From the center of the cross head, a link runs to the main pump-bob, which operates a double line of 16 inch pumps, 10 foot stroke. The steam stroke is 12 feet. Depth of shaft, 3,300 feet.

The pumping machinery used in the iron and copper districts of Michigan usually consists of Cornish plunger pumps, which are operated by geared engines; the latter making from three to sixteen strokes to one of the pumps.

The largest plant of this type yet erected is that of the Calumet and Hecla copper mine, at Calumet, Mich. There are two lines of pumps, varying in diameter from 7 inches to 14 inches, and with an adjustable stroke varying from 3 feet to 9 feet. The object of the adjustable stroke is to diminish the capacity of the pumps in the dry season. Each line of pumps is driven from a crank placed on a steel spur-wheel shaft 15 inches in diameter, making ten revolutions per minute. The mortise spur-wheels have a diameter of 22½ feet at the pitch line, with two rows of teeth, each 15 inches face. The pitch is 4.72 inches. Engaging with the mortise wheels are pinions of gun iron 4 feet 6 inches in diameter, placed on steel shafts 12 inches in diameter, and making 50 revolutions per minute. The 12 inch pinion shafts are driven through mortise wheels 12 feet in diameter, and 24 inches face, by pinions 3 feet 9 inches diameter, which make 160 revolutions a minute. The pinion shafts are driven through a wire rope transmission from an engine located 500 feet distant. The rope wheels are 15 feet in diameter, and make 160 revolutions a minute. The engine is 4,700 horse power, and, in addition to driving the pumping machinery, does the hoisting and air compressing for the Calumet mine.

In the same building with the mine pump gearing is a duplicate arrangement for operating the man engine. In order to operate the mine pumps and man engine for the Hecla mine, it was necessary to use rock shafts, which are made of gun iron, and hollow; they are 32 inches in diameter outside, with 4½ inches thickness of metal. The pump rock shaft is 39 feet 4½ inches long over all, in two sections, and weighs 40 tons. There are rockers placed on each end of this shaft, one of which is connected with a crank on the mortise wheel shaft, and the other with the surface rods that work the pump-bobs. These rods are of Norway pine, 12 inches by 12 inches in section, and 1,000 feet long. There are two bobs, one above the other, with axes at right angles, each weighing about 25 tons. The connection from the upper bob to the lower has hemispherical pins and brasses to accommodate vibrations in right angled planes. The slope of the main pump is 39 degrees, and the machinery has been designed to raise water from 4,000 feet depth. The pumps are of the usual Cornish plunger type, with flap valves. There is an auxiliary engine, of the Porter-Allen type, for driving the pumps and man engines when the main engine is not working. It makes a 160 revolutions per minute, the same as the rope wheels The seeming complication of the arrangement is due to the fact that it had to be adapted to existing works, for increased depths, and put in without interfering with the daily operation of the mine.

The Calumet & Hecla Mining Company has also an extensive pumping plant at its stamp mills, which are located on the shore of Torch Lake, about four and a half miles from the mine. There are located here 3 pumping engines; two of which have a capacity of 20,000,000 gallons a day, and a third 10,000,000 gallons a day. The water is elevated between 50 and 60 feet, and is used for treating the stamped rock. Two of the engines are of the inverted compound beam and fly-wheel type; and the third is a geared pump, which has a horizontal double acting plunger, 36 inches in diameter, by six foot stroke, driven from the crank of a spur-wheel shaft.

The spur wheel is 12 feet diameter, 24 inches face, and contains 96 teeth. The pinion engaging with it has 27 teeth, and is fast on the fly-wheel shaft of a Brown horizontal engine, having a cylinder 18 inches in diameter, and a stroke of four feet. The steam pressure used is 110 pounds per square inch; and the engine has a Buckley condenser. The pump valves are annular, of brass, faced with rubber, and close by brass spiral spiral springs. Their external diameter is six inches, and the lift is confined to ½ inch. There are 91 suction and 91 delivery valves at each end of the pump. The maximum speed of this pump is twenty-six double strokes a minute.

The largest of the compound engines is named Ontario, and has a vertical low pressure cylinder 36 inches in diameter, and an inclined high pressure cylinder 17½ inches in diameter; the stroke of both being five feet. These are inverted over a beam, or rocker; and the pistons are connected to opposite ends of the same.

The beam attachment of the main connecting rod is made to a pin located above and midway between the pins for piston connections.

The main center of the beam and the crank shaft have their pedestals in the same horizontal plane. The throw of the crank is five feet. There are two differential plunger pumps, having upper plungers 20 inches in diameter, and lower plungers 33 inches in diameter, with a stroke of 5 feet. These pumps are vertical, and placed beneath the engine bed-plate, to which they are attached by strong brackets. The pump under the low pressure cylinder is worked directly from its cross-head by an extension of the piston rod. The other pump is worked by a trunk connection from the opposite end of the beam. The radius of the beam is but fifty inches, but the connections to it are made very long by links.

The lower plungers work through sleeves in diaphragms located in the center of the pumps. In these diaphragms, the openings for the delivery valves are made. These valves are similar in construction to those previously described for the horizontal plunger pump. Their diameter, however, is but 5¼ inches, instead of 6 inches, and there are 72 suction and 72 delivery valves for each pump. It will readily be seen that the action of these pumps is similar to that of the bucket and plunger; each pump having one suction and two deliveries for each revolution of the engine. The Ontario is designed to run at a maximum speed of 33 revolutions a minute; and the service required of it is to run regularly 144 hours a week, without a stop, which is performed with the utmost regularity.

The differential pump was invented and patented, many years since, by a party named James Ramsden, in Pennsylvania, who designed it for an ordinary house pump. It was subsequently reinvented by the writer, who first ascertained that he was not the original inventor upon applying for a patent. A pump of this description was run at the Hecla mine for several years, at a speed of 500 feet a minute; and its performance was in every way satisfactory.

DIRECT ACTING STEAM PUMPS.

This class of machinery deserves a prominent place, as the number in use vastly exceeds those of all other types combined.

The first consideration will be given to the Worthington, which is the pioneer of its type, having been invented by the late Henry R. Worthington, and patented in 1844. Mr. Worthington's first pump was designed for feeding boilers. His first water works engine was built for the city of Savannah, Ga., and erected in 1854. The second engine, which was the duplicate of the Savannah engine, was erected at the city of Cambridge, Mass., in the year 1856, and was guaranteed to deliver 300,000 gallons in twenty-four hours to an altitude of 100 feet. It had a high pressure cylinder 12 inches in diameter, placed within a low pressure cylinder 25 inches in diameter; the low pressure piston being annular. The double acting water plunger was 14 inches in diameter, and worked directly from the high pressure piston rod; the stroke of pistons and plunger being 25 inches. This engine was tested in 1860, with the result of a duty equal to 70,463,750 foot pounds per 100 pounds of coal. Subsequently, a test made by Mr. Frederick Graff, of Philadelphia (long prominently connected with the Philadelphia Water Department), and the late Erastus W. Smith, of New York, developed a duty of 71,278,486 foot pounds per 100 pounds of coal, which long remained the best record in the United States. In 1863, Mr. Worthington brought out at Charleston, Mass., his crowning success, the duplex engine, which fairly deserves to be placed first among the hydraulic inventions of this century. This engine has since been more extensively duplicated for water works purposes than any other, with the possible exception of the Cornish.

[1]
A paper read at the Montreal Meeting of the British Association.

IMPROVED GUN PRESSURE GAUGE.

The following description of the construction and mode of action is by Thomas Shaw, M.E., Philadelphia, the inventor.

 IMPROVED GUN PRESSURE GAUGE.

IMPROVED GUN PRESSURE GAUGE.

Fig. 1 represents the gauge secured to small ordnance, the gun shown in cross section. Fig. 2 represents face view of the gauge and indicator, exposing a vertical section through the hydraulic portion of the gauge, on line 3 and 4 of Fig. 1. The same principles of reduction of high pressure are used in this gauge as in Shaw's hydraulic gauge. It will be observed that a solid steel piston, E, in the cylinder, A, is provided with a plunger on its under side, which comes in contact with an elastic packing, D; the plunger may stand as 1 to A 1,000, or as 1 to A 100, in point of area of exposed surface, as compared with the large piston head, as desired. Assuming the proportions to be 1 to A 1,000, the 1,000 lb. pressure on the plunger means only 1 lb. pressure in the fluid chamber, above piston head, E, and this greatly reduced pressure is now susceptible of measurement by any of the ordinary light pressure instruments for measuring pressures. All the passage ways connecting to dial gauge, R, with the fluid chamber above piston, E, are filled solid with fluid, permitting no air spaces that can be avoided. The steel plug, L, that forms a passage way between the fluid chamber and the dial gauge, is provided on one side with a small screw hydraulic pump, with a reservoir supply of fluid. This part is shown in longitudinal section; the steel plunger, I, is firmly secured to wheel, F, the long hub, H, of which is provided with a screw thread on its inner side, which thread screws upon the exterior of pump barrel, K. After first filling the interior of the pump barrel with fluid, the said hub is screwed upon the pump barrel, causing the plunger, I, to force the fluid into the fluid chamber and passage way leading to the dial gauge, causing the hand or pointer to move to any predetermined pressure on dial, in advance of pressure applied in the high pressure chamber at D. The purpose accomplished in this act is to give the least possible movement of the pointer to record any maximum pressure, as, for example, assuming that 20,000 lb. was the expected pressure from any one explosive, then the pointer, by the means above described, can be set at, say, 18,000 lb., in which event the pointer is reduced to the minimum movement of only 2,000 lb. to register 20,000 lb.

It will be evident that much greater accuracy of measurement of maximum pressures can be obtained by the minimum movement of the pointer, as both the inertia and the momentum are reduced to the minimum quantity. The subsidence of pressure resulting from explosives being about as sudden as the creation of pressure, causes the pointer to move too rapidly for correct ocular observation, on which account a static electric current is employed, causing a stream of electric sparks to shoot off from the end of the pointer, B, to the brass outer ring, M. The gauge is insulated for that purpose by glass plate, S, which is secured concentrically to the gauge proper and the ring, M. Binding posts for the electric wires are provided at O and P, which wires are shown in Fig. 2. A spring clamp, N, Fig. 2, enables the insertion of chemically prepared or other paper, which lies against the inner side of brass rim, M, and held in place by the clamp, N. The electric sparks above spoken of pierce the strip of paper with small holes and colored marks. These holes, etc, show the exact limits to which the pointer has traveled under pressure, and thus an indelible record is kept by the electrical indications shown upon the strip of paper. The paper can have the pressures corresponding to gauge printed upon the same, when the holes are made prominent by holding the paper to the light, exposing an exact indication of the pressures or explosives operated with.

The gases resulting from the explosives are injurious to the gauge packings, etc., on which account the bore in gun, W, and the connecting steel plug, B, are filled with fluid. A screw plug, U, enables the insertion of the fluid, after first pushing an elastic wad of rubber, B, or cork, in the bore near the inner wall of the gun, which wad will prevent the escape of the fluid to the interior, and be sufficiently free to prevent any interference with the pressures. The patentee and manufacturer of this gauge is prepared to fill orders up to 50,000 lb. per square inch. This gauge is made of the best steel, and is very compact, the weight being inside of twenty-five pounds.

The inventor has heretofore made mercury column gauges for gunpowder pressures, which were too large for direct attachment to guns, but were connected with special powder chambers to test the pressure, etc., of confined explosives. The experience thus gained enabled the construction of the instrument here shown, which is adapted to direct attachment to the gun, making it as easy now to measure gunpowder pressures as it had been, heretofore, to measure steam pressures. The effect of this movement is to reduce the exaggerated statement of high pressures, obtained from ordinary sporting powders; these have been accredited with pressures up to 40,000 lb. per square inch, but they only really gave 22,000 lb. by actual gauge measurement. Artillerists and ordnance officers have, in this instrument, a true pulse of the internal pressures of the gun, of inestimable value when determining the quantity of powder and the proper weight of shot. These are important matters in ordnance practice.

This gauge is a compact machine, designed to measure and indicate the quick pressures resulting from gunpowder explosives and the slow pressures of hydraulic force; the same mechanism used in both cases permits the ready testing and examination of gauge under hydraulic pressure, to determine its accuracy, for the more sudden pressure occasioned by the use of gunpowder.


IMPROVED PLAITING MACHINE.

The principal object the inventors of the machine we illustrate herewith had in view in designing it was to arrange a mode of working the grip motion positively, so that the cloth shall be received freely and without strain or friction before or up to the very instant at which each fold is completed, and shall then be seized and firmly held. In existing machines there is not we believe, any arrangement for the accomplishment of this purpose; it is true, the table upon which the cloth is folded is relieved at the termination of the stroke of the plaiting knife, but the upper gripper bar, against which the folds of cloth are pressed upon the return of the table to its normal position, is stationary, being rigidly fixed to the sides of the machine. One result of this rigidity is that the cloth has to be forcibly thrust by the plaiting knife under the upper gripper bar, and in consequence of the violence involved the fold just made at the opposite end is dragged out from the grip, making a short fold, and further, in the case of delicate finishes, giving rise to damaged goods. Another result of this arrangement, when the cloth is not pressed against the upper bar, is that it returns with the return stroke of the plaiting knife, the grip not being made until the knife is clear of the upper bar; thus the plaits or folds are made of irregular length.

 IMPROVED PLAITING MACHINE.

IMPROVED PLAITING MACHINE.

To remedy this and to prevent its occurrence, Messrs. A. Edmeston and Sons, Manchester, in the plaiting machines they are now manufacturing make the upper gripper bar movable as well as the table below. Referring to the illustration, the upper gripper bars, A A, are capable of moving about the center pins, B B, and when the machine is working are operated in the following manner:

Upon the shaft, C, which revolves in unison with the crank shaft working the plaiting levers and knife, are placed two cams, D, one at each end, inside the main frames. These cams engage with and work two escapement levers or pallets, E E, upon which rest the feet of four rods, attached one end to each of the upper gripper bars. Upon these four rods are helical springs of sufficient strength to hold down, by means of the grippers to which they are connected, the folds of cloth that have just been made. The cam, D, is so shaped that when the advancing plaiting knife and cloth reach the front edge of the gripper bar, the gripper is raised from the table to admit them freely. The instant the end of the stroke is reached the anchor pallet or lever, E, escapes from the cam, and the gripper bar is suddenly forced on to the knife and cloth by the springs before mentioned, securely retaining the piece in its position. Simultaneously with the first of these motions the plaiting table itself is lowered, and, when the plaiting knife reaches the end of its stroke, is released by means of the levers and chains, F F, which are in connection with the escapement pallets, E, and partake of their every motion. These chains are so attached that they exert no effort upon the table until the escapement lever is moved, thus permitting the plaiting table to press upward against either one or both of the gripper bars with the full force imparted to it by the weights and levers, G1 G1. The chains, furthermore, are also threaded over pulleys in such a manner that they adjust themselves automatically to every position of the table and to the different thicknesses which the folded cloth acquires.

It will be obvious from this description that in plaiting there is no more strain put upon the cloth in placing it under the grip than is necessary to draw it over the table from the feed rollers. This feature insures perfect immunity from the dragging out of grip, as already described, and renders the machine very useful for finishers and makers-up, as the delicacy with which the cloth is handled prevents any damage being done to the finish of the lightest fabrics. Double cloth can, of course, be plaited by it equally well, and the precision and uniformity with which the cloth is plaited makes the machine thoroughly reliable as a cloth measurer.—Tex. Manfr.


SELF-ACTING SHUTTLE GUARD.

 SELF-ACTING SHUTTLE GUARD.

SELF-ACTING SHUTTLE GUARD.

The annexed illustration shows the essential parts of Hahlo and Liebreich's improvement, the loom being now at work. The handrail, shuttle race, and starting handle can be at once recognized, and the shuttle guard will be seen in its proper position, which position it rigidly retains as long as the loom is working, but on a stoppage the rod swings back close underneath the handrail, and quite clear of the reed. The mode in which this is accomplished we will endeavor to make clear. The guard is connected to the starting lever by the arrangement shown, consisting of a stud on the handle, on which, with the movement of the slay, lever, a, slides. This lever, by means of another lever and a link, is attached to the shuttle guard by the crank, b, which, by means of the set screw in the boss, permits the shuttle guard to be adjusted in the most convenient place. It will be observed that whenever the loom stops working, whether it is stopped by hand or automatically, the hand lever has to be moved, and this movement is communicated to the shuttle guard by the mechanism just described, placing the guard rod beneath the hand rail, and leaving the whole of the shuttle race free and unencumbered. The act of starting the loom brings the guard again to the working position without any extra act having to be performed by the weaver. The action is entirely automatic, and the weaver has not anything to do that she has not to do with the present unguarded looms. The arrangement appeared to ourselves to be a very efficient one, and it has the merit that the length of the guard can be made greater than the width of the cloth, a further advantage that will be recognized by practical weavers.


RULER AND TRIANGLE FOR HATCHING.

The instrument shown in the cut is the invention of Mr. Maginnis, and is designed for producing equidistant hatchings. It consists of a short ruler, A, and a triangle, B, supposed to be one of 45°, but which may be of any angle. The triangle carries two stops, c c, while the ruler is provided with a conical piece, D, which is slotted, and is held by a screw. The play that occurs between this conical slide and the stops varies according to the position of the former.

 RULER AND TRIANGLE FOR HATCHING.

RULER AND TRIANGLE FOR HATCHING.

The apparatus operates as follows: In the figure, the stop to the right being in contact with the piece, D, a line is drawn along the right side of the triangle. Then the ruler is made to slide along the triangle until D touches the other stop, and then the triangle is slid along the ruler until the stop to the right touches D again. In this position another line is drawn, and so on. The position of the piece, D, between the stops is regulated according to the fineness of the hatching to be done.—Chronique Industrielle.


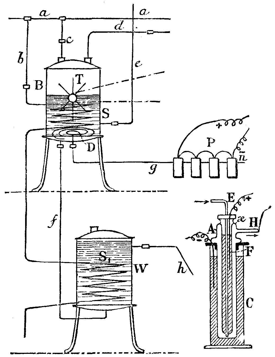
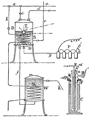
THE DISTILLATION OF SEA WATER.

The supplying of the troops at Suakim and in the Soudan with water is one of the most important items in the whole conduct of the Egyptian war. Even in cold or temperate latitudes fresh water is a first necessity for animal life; much more is this the case in the desert; and the wells in the country forming the scene of our military operations form in themselves valuable strategical points. Their supply, however, has to be supplemented, and to do so artificial means and the aid of the engineer have to be enlisted into this service.

Many of our readers see notices from time to time in the newspapers about this or that ship being employed, or at least her steam fittings, in distilling water for the use of the troops; and although most of, if not all, our readers are engineers, still it is no disparagement to some of them to assume that they are more or less unfamiliar with sea water distillation on the scale on which the process is now being carried on at Suakim; and as the subject is of general interest, we give a short description of the process.

In a general sense, fresh water is obtained from sea water by simply generating steam from the sea water, passing the said steam through a surface condenser, and filtering the resulting water. The obtaining of fresh water in this way has been in practice on board sea-going ships for many years. It is supposed by some authorities on this subject that the first time fresh water was thus obtained at sea was by an old captain of a brig which ran short of water, and he cut up some pewter dishes into strips, which he bent and soldered into a pipe. He, with the carpenter's aid, fitted a wooden lid in one of the cooking boilers, and fixed one end of his pipe in it. He next sawed a water cask in half, bored a hole in the bottom of one half, and took his pipe through it, filling the space round the pipe with sea water. Thus he extemporized a worm and still or condenser. The distilled water, however, was scarcely drinkable. Not to be beaten, however, the captain got some pieces of charred wood which he put in the water, which so far improved it as to render it at all events fit to sustain life, and our skipper brought his brig and her screw safely to port. What suggested the use of charcoal to his mind history does not tell. For many years past scarce any sea-going vessel leaves port that is not fitted with a properly constructed distiller; and one conspicuous advantage attending this practice is that each ship thus fitted to the satisfaction of the Board of Trade inspector is allowed to sail with only half the quantity of fresh water on board which she should have if not provided with a distiller. The distiller and filter occupy very much less space than that which would be occupied by the casks or tanks of water otherwise required to be carried.

Coming now a little to detail, sea water distillers are usually fitted in connection with the winch and its boiler, which latter supplies the steam both for distillation and to drive the engine working its circulating pump. Smaller distillers are worked without a pump, the cooling water merely passing through by gravitation. These smaller affairs again are of two kinds, the one being mounted at one end of the cooking hearth, as in outline sketch, which shows a two oven hearth with distiller at one end. A is the supply pipe to admit air to aerate the water; B is the cock where fresh water is drawn off; C is a pipe conveying cooling water to the condenser E, placed on three little feet on top of the boiler, F, whose steam rises up a central pipe to the dome top, where it expands out and returns downward through a number of tubes about 1 in. diameter, in which it is condensed, collected in a bottom chamber, and drawn off through the cock, B. A distiller of this size would make about thirty gallons of fresh water per day. Very frequently a distiller, such as is shown in the sketch, is mounted separately, and placed near the winch or donkey boiler, which supplies it with steam, the lower part, F, being then used as a filter. The diameter of E is from 15 in. to 18 in., the outer casing being either iron or copper. Another form of distiller is one like the above, but larger, and having a small donkey engine and circulating pump attached thereto. As a rule these distillers are vertical, but larger apparatus are arranged horizontally. To give our readers some general idea of size, weight, and produce of water, we may say that a plain cylindrical distiller, mounted on a square filter case, measuring 3 ft. 9 in. high, weighing 4½ cwt., will distill twelve gallons per hour. A larger size, measuring 6 ft. 2 in. high, and weighing about 23 cwt., will give 85 gallons; while a still larger one, measuring 7 ft. high and weighing 32 cwt., yields 150 gallons. These have no pumps. When an engine and pump are fitted, the weight is increased from about 80 per cent. in the smaller to 50 per cent. in the larger sizes. An immense advantage attends the use of those distillers that are combined with a winch boiler. Of course, the chief use of the winch is while in dock; some use is made of it at sea to do heavy pulling and hauling, to wash decks, and in case of emergency the circulating pump is used as a fire engine. Were it not, however, for the distiller, the winch boiler would simply be idle lumber at sea. The distiller, however, finds useful employment for it, and has also this excellent effect, that as steam is pretty constantly kept up for the distiller, in the evil event of a fire the boiler is ready to work at once. In horizontal types of distiller an engine and pump are mounted on a cast iron casing as a bed, and in this casing is placed a number of tubes through which the steam passes to be condensed, the whole being simply a surface condenser with engine and pump above. Another type is that of a small single-flued horizontal boiler with combustion chamber and twenty or thirty return tubes—in fact, the present high-pressure marine boiler on a small scale. A boiler of this sort, measuring 4 ft. to 5 ft. long, 3 ft. 9 in. to 4 ft. 6 in. diameter, would have a horizontal donkey engine on a bed at its side, and at the end of the engine a vertical cylindrical condenser.

Few have done more, perhaps none so much, as Dr. Normandy to make sea water distillation not only a success as a source of water supply, but also to supply it at a minimum cost for fuel. He by a peculiar arrangement of pipes embodied something of the regenerative system in his apparatus, using the heat taken from one lot of steam to generate more, and again the heat from this he used over again. The defect of his older arrangements was undue complexity and consequent trouble to keep in order.

As can be well imagined, the distillers in use at Suakim are on a much more colossal scale, and owing to the now almost universal use of surface condensers in ocean steamers, no great difficulty ought to attend the adaptation of the boilers and condensers of one of our transports. One of these full-powered steamers will indicate, say, 5,000 horse-power, and assuming her engines to use 25 lb. of steam per indicated horse-power, or 2¼ gallons, she could distill some 12,000 gallons of water per hour. As no appreciable pressure of steam need be maintained, the boilers would suffer little from deposit, especially if regularly blown out. Hard firing need not be resorted to; indeed, it would be injudicious, as, of course, priming must be carefully guarded against. Of course, the salt water distilled will affect the working, not exactly of the distillers, but of the boilers. If the water in the harbor, as is not improbable, is muddy, some method of filtering it before pumping it into the boilers ought, if at all practicable, to be resorted to, for the twofold reason of preserving the boiler plates from muddy deposit, and also to prevent priming, which would certainly ensue from the use of muddy water. No doubt the medical staff take care that the distilled water is alike thoroughly aerated and efficiently filtered. The most successful method of aerating is, we believe, to cause the current of steam as it enters the condenser to suck in air by induced current along with it. The filtering ought not to present any difficulty, as at all events sand enough can be had. Charcoal, however, is another affair, and all distilled water ought to be brought into contact with this substance.

Simple, however, as such an arrangement as this appears to be, practical difficulties, which it is said are insurmountable, stand in the way of its adoption, and the distilled water produced for Egypt is made in special apparatus, and various forms of condenser are employed, made under various patents. The principle involved is, however, in all cases the same. Steam is generated in one of the ships' boilers, and condensed, filtered, and aerated in a special apparatus. The great objection to the use of the ordinary surface condenser is that the main engines would, in the majority of cases, have to be kept going, in order to pump the distilled water out of the condenser, and to supply circulating water. But it is easy to see that if engineers thought proper, this difficulty could be readily got over. Separate circulating pumps, usually centrifugal, are now freely used, and the addition of a special pump for lifting the condensed water presents no difficulty whatever. While the main engines are running, the withdrawal of much condensed water would no doubt risk the safety of the boiler; but in the case of so-called "distilling" ships, there need be no trouble incurred on this score.—The Engineer.


AIDS TO CORRECT EXPOSURE ON PHOTOGRAPHIC PLATES.[1]

With good plates, and intelligent development, a practiced photographer may within certain limits correct the effects of an over or under exposure; but you have all, doubtless, found out that there is a correct exposure, and that you cannot trespass very far on either side of it without sacrificing something in the resulting negative.

         MR. W.K. BURTON'S TABLE OF COMPARATIVE EXPOSURES
------------+--------------------+-------------------+-------------------------
            |                    |      Badly lighted|      Portraits in bright
            |                    |         interiors,|      diffused light
Aperture    |                    +------------+  up  |      out of doors.
calculated  |     Landscape with |     Fairly |  to  |     /
on the      |   heavy foliage in |    lighted |      |    /      Portraits in
standard    |        foreground. |  interiors |      |   /       studio light
system      +------+-------+     +------+     |      |   |      /
of the      | Sea  |Open   |     | Under|     |      |   |     /   Portraits
Photographic| and  |land-  |     |trees,|     |      |   |     |   in ordinary
Society.    | sky. | scape.|     |up to |     |      |   |     |   room.
------------+------+-------+-----+------+-----+------+------+-----+------
            |  sec |  sec  | sec | m  s | m  s| h  m |  sec | m  s| m  s
No. 1,      | 1/160|  1/50 | 1/8 | 0 10 | 0 10| 0  2 |  1/6 | 0  1| 0  4
or f/4      |      |       |     |      |     |      |      |     |
------------+------+-------+-----+------+-----+------+------+-----+------
No. 2,      | 1/80 |  1/25 | 1/4 | 0 20 | 0 20| 0  4 |  1/3 | 0  2| 0  8
or f/5.657  |      |       |     |      |     |      |      |     |
------------+------+-------+-----+------+-----+------+------+-----+------
No. 4,      | 1/40 |  1/12 | 1/2 | 0 40 | 0 40| 0  8 |  2/3 | 0  4| 0 16
or f/8      |      |       |     |      |     |      |      |     |
------------+------+-------+-----+------+-----+------+------+-----+------
No. 8,      | 1/20 |  1/6  |  1  | 1 20 | 1 20| 0 16 | 1-1/3| 0  8| 0 32
or f/11.314 |      |       |     |      |     |      |      |     |
------------+------+-------+-----+------+-----+------+------+-----+------
No. 16,     | 1/10 |  1/3  |  2  | 2 40 | 2 40| 0 32 | 2-2/3| 0 16| 1  4
or f/16     |      |       |     |      |     |      |      |     |
------------+------+-------+-----+------+-----+------+------+-----+------
No. 32,     | 1/5  |  2/3  |  4  | 5 20 | 5 20| 1  4 | 5-1/3| 0 32| 2  8
or f/22.627 |      |       |     |      |     |      |      |     |
------------+------+-------+-----+------+-----+------+------+-----+------
No. 64,     | 2/5  | 1-1/3 |  8  |10 40 |10 40| 2  8 |10-1/2| 1  4| 4 15
or f/32     |      |       |     |      |     |      |      |     |
------------+------+-------+-----+------+-----+------+------+-----+------
No. 128,    | 4/5  | 2-2/3 | 16  |21  0 |21  0| 4 15 |  21  | 2  8| 8 30
or f/45.255 |      |       |     |      |     |      |      |     |
------------+------+-------+-----+------+-----+------+------+-----+------
No. 256,    |1-1/2 | 5-1/2 | 32  |42  0 |42  0| 8 30 |  42  | 4 15|17  0
or f/64     |      |       |     |      |     |      |      |     |
------------+------+-------+-----+------+-----+------+------+-----+------

The estimation of this correct exposure is probably the greatest difficulty in photography, and it is particularly discouraging to find plate after plate useless because the guess has been wide of the mark. There are some here to-night who have spoiled so many plates that at last they are prepared by experience for almost any contingency, and to those I nave very little to say; but there are also many who are still in their troubles, and I propose to tell them how the amount of guesswork required may be reduced to a minimum.

The factors which govern exposure are: the subject of the picture, the lens and its aperture, the rapidity of the plate, and last, but not by any means least, the quality of the light by which the work is to be done.

Let us consider each of these separately, and see if we cannot reduce any of them to rule. In this respect the subject will be found somewhat intractable. Scarcely two subjects will be found to send exactly the same amount of light through the lens. However, a broad classification may be made, and this has been done by Mr. Burton in his Table of Comparative Exposures. A glance at this table will show how greatly the character of the view may influence the time of exposure. Thus, with full aperture of a rapid symmetrical, the exposure for open landscape is given as one-twelfth of a second; when heavy foliage appears in the foreground, half a second will be required; while, under trees, as much as forty seconds may be needed.

The first aid I have to suggest is the use of such a table as Mr. Burton's. Before we do anything more in this direction, we must consider the influence of the lens and its diaphragms. In theory the single landscape lens is more rapid than the doublet of equal aperture, but the difference is so little that it may be disregarded in practice, and my remarks will apply to both.

The rapidity of a lens depends mainly on its aperture and its focal length. Thus a lens of twelve inches focus will require four times the exposure of a six inch, with an equal sized diaphragm, and a quarter inch diaphragm will require four times the exposure of a half inch when used in the same lens.

The Photographic Society of Great Britain have recommended that the diaphragms of all lenses should bear such relation to the focal length that each should require exactly double the exposure of the next smaller. Now, if we turn again to Mr. Burton's table, we shall find that it is constructed on this principle, and that each stop is numbered so as to show its exposure. Obviously, the most sensible thing would be to get a set of stops made to correspond with this arrangement, but we will see how we can construct a table for stops of any size.

First, if possible, find the equivalent focus of your lens. If it is made by a known maker, you will find it in his price list, and if not, you may calculate it for yourself by the rules given in the various text books, provided you have a camera of pretty long focus. However, it will be near enough for our purpose if you get a sharp image of the sun on a piece of paper, and while you hold lens and paper, get some one to measure the distance from the paper to the diaphragm aperture, or, in the case of a single lens, to the center of the lens. Note down this focal length, and proceed to measure your diaphragms in sixteenths of an inch.

Then, with pen and paper, proceed to divide the diameter of each stop into the focus, and state the result as a fraction of the focus, thus f/8. For example, a Ross half plate rapid symmetrical has a focal length of 7½ in.; for convenience reduce this to sixteenths=120. A diaphragm measuring seven sixteenths will give the fraction f/17. Now let us see if any of these stops correspond with Mr. Burton's. The first two in his table will only be found in portrait lenses, but we shall probably find one to correspond with the third, if we are using a doublet lens; with a single lens we won't find any so large. Having picked out those that correspond, and filled in the exposure for them, we have now to deal with the odd sizes. Here is one, f/27, which is just half way between No. 16 and No. 32, but a moment's thought will show that as the exposure increases as the square of the diameter, it won't do to take the exposure half way between the two.

We have another factor to consider now: that is, the rapidity of the plate. If you use plates by a maker who has a name to sustain, you may be pretty confident that they are of fairly uniform rapidity, so after you have got into the way of working any particular brand, the best thing you can do is to stick to it. The exposures in our table are for plates of medium rapidity in good spring light. In my own experience I find that they just suit "thirty times" plates, or fifteen on the sensitometer; but then I like a full exposure with slow development, and I know that others find these exposures just right for "twenty times" plates developed in the usual way. The most rapid plates in the market will not be overdone with half the given exposures. It must always be borne in mind that an error of a fraction of a second in either direction may be corrected in development, and it is impossible to make a very serious error if you refer to the table.

We come now to the light. If you depend on the eye entirely in judging the quality of the light, it will sometimes play you tricks. The rays which are most active on the plates are those which have the least effect on the eye. We can, however, by chemical means arrive at an exact estimate of the active power, and for this purpose an actinometer is used. This is simply an arrangement whereby a piece of sensitized paper is exposed and allowed to darken to a standard tint, and by the time it takes to reach that tint the value of the light is judged. Capt. Abney has, however, pointed out that ordinary sensitized paper is not suitable for bromide plates, since there are conditions of light in which the plates will be fairly rapid while the paper will be very slow. He gives a formula for a bromide paper, which is treated with tannin in order to absorb the bromine set free during exposure, otherwise the darkening would be very slight. I used this paper for a while, but found it rather slow. The tannin also turned brown on keeping for a week or so. I then made some more, substituting for tannin potassium nitrite (not nitrate), which is colorless. This was an improvement, but still it was just slow enough.

However, noticing in Capt. Abney's article the statement that the bromide of silver should be as nearly as possible in the same state in the paper as in the plate, I thought "Why not Morgan's paper?" This, of course, is just bromide emulsion on paper, and if, as I suspect from its color, it contains a trace of iodide, why, so do most commercial plates. A sheet of this paper cut into strips, soaked for ten minutes in a fifteen-grain solution of potassium nitrite, and dried, gives a sensitive paper which darkens with great rapidity to a good deep tint, and keeps indefinitely. Here is some prepared last summer, which is still quite good. To use this paper make a little box so that a little roll of it can be stored in one end, and drawn forward as required beneath a piece of glass.

Bearing in mind that your table of exposures is calculated for the best spring light, go to the country some bright day next month with note-book, actinometer, and the necessary appliances for exposing a few plates. Select, say, an open landscape, and use your smallest stop. When all ready to expose, get out your actinometer and expose it to the reflected light of the sky for ten seconds (if the sun is shining, turn your back to it, and keep the actinometer in your own shadow); then put it in your pocket, expose a plate according to your table, and in case the light or plate should not be just in accordance with the conditions under which the table was prepared, expose other two plates, one a little less and one a little more than that first exposed. Then note down everything you have done—kind of view, stop, speed of plate, exposure of each plate, and length of exposure of actinometer.

When you get home, the first thing to do is to get hold of a paint box and paint the underside of the glass of your actinometer to match the darkened paper. Do this by gas light. Then scrape away a little of the paint, so as to let a strip of the paper be seen below it. After this develop your three plates with a developer of normal strength, and see which is best. If you have chosen a really bright spring day, and are using plates of medium rapidity, you will most likely find that exposed according to the table just about right.

Now let us see how we can use these aids in our field work. We have ascertained the correct exposure with a given stop on one class of view, with light of a given quality, but now suppose all these conditions altered. Let the view have heavy foliage coming close up to the camera, the stop be a size larger than that used in our first experiment, and the day rather dull. The table tells us what the exposure would be with this stop on this view, on a bright day; and if the actinometer take twenty seconds to reach the painted tint, then we must double the exposure given in the table.

You may sometimes find that the actinometer indicates a very different exposure from what the eye would lead you to expect. For instance, one day last September I went to Bothwell Castle, to get a picture I knew of in the grounds. It was one of those strange yellow days we had then, and the sun, though shining with all his might, was apparently shining through orange glass. The actinometer indicated an exposure of thirty seconds where in good light one would be right. I was rather incredulous. Thirty seconds in broad sunshine! However, I gave this exposure, but for my own satisfaction I gave another plate fifteen seconds only.

On developing, the latter was hopelessly underexposed while that having thirty seconds gave a negative which furnished one of my exhibition pictures.

I have shown you how to reduce the quality of the light to a certainty, also how to reduce to rule the exposure with different lenses and stops on certain classes of subjects, and it remains with you only to guess correctly to what class the view you wish to take belongs; I can assure you from my own experience that there is enough uncertainty about that point to prevent good negatives ever becoming monotonous.

The only aid I can suggest in this case is the continual use of a note-book. Note every plate you expose, and when you have a failure be careful to record the fact, and you will gradually find these accumulated notes becoming a great help in cases of doubt. One hint I can give to beginners is that a great number of the pictures to be met with in this part of the country are intermediate between "Open Landscape" and "Landscape with heavy foliage in foreground;" and it is scarcely needful to say that if you are in doubt, let the exposure be rather too much than too little; you may make a negative of an overexposed plate, but never of an underexposed one.

[1]
We take from the Br. Jour. of Photo. the following interesting paper read by W. Goodwin before the Glasgow and West of Scotland Amateur Association.

ISOCHROMATIC PHOTOGRAPHY.[1]

By FRED. E. IVES.

It is well known that the ordinary photographic processes do not reproduce colors in the true proportion of their brightness. Violet and blue photograph too light; green, yellow, orange and red, too dark. For a long time it was believed to be impossible to remedy this defect; and even when it became known that bromide of silver could be made more sensitive to yellow and red by staining it with certain dyes, the subject received very little attention, because it was also known that the increase of sensitiveness was too slight to be of practical value in commercial photography.

Dr. H.W. Vogel, who was one of the first, though not the first, to devote attention to this subject, announced, in 1873, that he had succeeded in making a yellow object photograph lighter than a blue or violet one, by using a silver-bromide plate stained with coraline, and exposed through a yellow glass. The plate showed no increased sensitiveness to red, and the experiment, although of considerable scientific interest, did not indicate a practically useful process.

In the spring of 1878 I became interested in this subject, and tried to discover a method of producing plates which should be sensitive to all colors, and capable of reproducing them in the true proportion of their brightness. I commenced by trying nearly all the color sensitizers which had already been suggested, in order to learn which was the best, and then, if possible, why it was the best, as a guide to further research. Chlorophyl was the only thing I tried which was sufficiently sensitive to red to offer any encouragement in that direction; but the solution which I obtained was weak and unstable, and far from being a satisfactory color sensitizer. Hoping to obtain a better solution with which to continue my experiments, I made extracts from many kinds of leaves, and found that a solution from blue myrtle leaves looked better and kept better than any other, and when it was applied to the silver-bromide plates they became remarkably sensitive, not only to all shades of red, but also to orange, yellow, and green. By placing in front of the lens a color-screen consisting of a small glass tank containing a weak solution of bichromate of potash, to cut off part of the blue and violet light, I obtained, with these chlorophyl plates, the first photographs in which all colors were reproduced in the true proportions of their brightness. But my chief desire at that time was to realize a method of producing from any object in colors a set of three negatives, in one of which the shadows should represent the blue of the original, in another the yellow, and in another the red, in such a manner that transparent pigment prints from these negatives—blue, yellow, and red—would, when superimposed on a white surface, represent not only the lights and shadows, but also the colors of the object. This had already been attempted by others, who failed because their plates were not sufficiently sensitive to red and yellow.

Having succeeded perfectly in my undertakings, I published my discovery in 1879,[2] explaining how to prepare and use the chlorophyl plates, in connection with the yellow screen, for the purpose of securing correct photographs of colored objects.[3]

So far as I know, nobody tried the process. Nearly five years later Dr. Vogel announced that, after eleven years of investigation, he had at last realized a successful process of this character, and that this new process of his was the "solution of a problem that had long been encompassed with difficulty." This publication attracted a great deal of attention, and gave me occasion to again call attention to my process,[4] and point out that it was not only the first practical solution of this problem, but the only truly isochromatic process ever discovered. Dr. Vogel's new process was not only no better in any respect, but the plates were insensitive to scarlet and ruby-red, and therefore would not photograph all colors in the true proportion of their brightness.

My method consists in treating ordinary collodio-bromide emulsion plates with blue myrtle chlorophyl solution, exposing them through the yellow screen, and then developing them in the usual manner. The emulsion which I have employed is made with an excess of nitrate of silver, which is afterward neutralized by the addition of chloride of cobalt; it is known as Newton's emulsion. I now prepare the chlorophyl from fresh blue myrtle leaves, by cutting them up fine, covering with pure alcohol, and heating moderately hot; the leaves are left in the solution, and some zinc powder is added, which helps to keep the chlorophyl from spoiling. I have a bottle of this solution which was prepared about six months ago, and now appears to be as good as when first made.[5] A glass plate is flowed with the emulsion, and as soon as it has set, the chlorophyl solution is applied for a few seconds, after which the plate is washed in pure water until smooth, when it is ready for exposure.

My color-screen consists of a small plate-glass tank, having a space of 3/16 of of an inch between the glass, filled with a solution of bichromate of potash about one grain strong. I place the tank in front of the lens, in contact with the lens-mount. The advantage of this tank and solution is that it can be more easily obtained than yellow plate glass, and the color can be adjusted to meet any requirement.

The plates require about three times as much exposure through the yellow screen as without it, and may be developed with the ordinary alkaline pyro-developer.

 IVES' PROCESS OF ISOCHROMATIC PHOTOGRAPHY.

IVES' PROCESS OF ISOCHROMATIC PHOTOGRAPHY.

In order to illustrate the value of this process, I made two photographs of a highly-colored chromo-lithograph, representing a lady with a bright scarlet hat and purple feather, a yellow-brown cape and a dark-blue dress. One, by the ordinary process, represents the blue as lighter than the yellow-brown, the bright scarlet hat as black, and the purple feather as nearly white. The other, by the chlorophyl process, reproduces all colors in nearly the true proportion of their brightness, but with a slight exaggeration of contrast produced purposely by using a too-strong color solution in the small tank.

I also made two landscape photographs, one by the ordinary process, and the other by the chlorophyl process, exposing them simultaneously. In the ordinary photograph, distant hills are lost through overexposure, yet the foreground seems underexposed, and yellow straw-stacks and bright autumn leaves appear black. In the chlorophyl photograph, the distant hills are not overexposed, nor is the foreground underexposed; the yellow straw-stacks appear nearly white, and bright autumn leaves contrast strongly with the dark green about them.

To test the relative color-sensitiveness of plain emulsion plates, plates stained with eosine, and plates stained with the blue-myrtle chlorophyl, I exposed one of each kind through the same yellow screen, giving each five minutes exposure, on the same piece of copy, which was the chromo-lithograph already described. The plain emulsion plate showed only the high lights of the picture, after prolonged development. The eosine plate was underexposed, but brought up everything fairly well except the scarlet hat, which came up like black. The chlorophyl plate was overexposed, brought out all colors better than the eosine plate, and gave full value to the bright scarlet of the hat, the detail in which was beautifully rendered.

Dr. Vogel advanced the theory that silver-bromide is insensitive to yellow and red, because it reflects or transmits those colors; and that it becomes sensitive when stained, because of the optical properties of the dyes. He afterward admitted that only such dyes as are capable of entering into chemical combination with the silver-bromide proved capable of increasing its sensitiveness to color, but he held to the theory that the optical properties of the compound were the cause of its color-sensitiveness.

I have shown that the color-sensitiveness can be produced by treatment with an organic compound which has none of the optical properties characteristic of dyes; and that chlorophyl, which absorbs only red light, greatly increases the sensitiveness also to yellow and green. There is, therefore, good reason to doubt if the color-sensitiveness is ever due to the optical properties of the dye or combination.

Attempts have been made to produce isochromatic gelatine dry plates which, while many times more sensitive to white light than my chlorophyl plates, shall also show the same relative color-sensitiveness. Such plates would be very valuable but for one fact: it would be necessary to prepare and develop them in almost total darkness. Gelatine bromide dry plates extremely sensitive to yellow, but comparatively insensitive to red, might be used to advantage in portrait and instantaneous photography, because they could be safely prepared and developed in red light; but when truly isochromatic photographs are required, the time of exposure must be regulated to suit the degree of sensitiveness to red, which cannot safely be made greater than I have realized with my chlorophyl process.

[1]
Read at the stated meeting of the Franklin Institute, March 18, 1885.
[2]
Philadelphia Photographer, December, 1879, p. 365.
[3]
I intended this publication to be a very full and explicit one, and it was sufficiently so to be perfectly understood by most who saw it; but some may think I did not sufficiently emphasize the importance of using the particular kind of chlorophyl which I mentioned. In a brief communication to the editor of the Photo. News, in 1883, I described some experiments with eosine as a color sensitizer, and then called attention to the superiority of blue-myrtle chlorophyl for this purpose, stating that I had not been able to secure such results with any other kind of chlorophyl, and that a fresh solution from fresh leaves must be used to secure the greatest possible degree of sensitiveness. See Photo. News, Nov. 1883, p. 747.
[4]
Photo. News, London, September 5, 1884, p. 566, and Year Book of Photography for 1885, p. 111.
[5]
I originally recommended chlorophyl extracted from dried leaves, because I had not yet learned how to preserve the solution for more than a few weeks; and at some seasons it would be difficult, if not impossible, to obtain fresh leaves. The tea organifier which I recommended is also a color sensitizer, and when it is used in connection with the chlorophyl from dried leaves the plates are as sensitive to red as can be safely prepared and developed in the light of an ordinary photographic "dark-room." Plates prepared with chlorophyl from fresh leaves do not require treatment with the tea organifier to secure this degree of sensitiveness. Recently I have used the tea organifier and some other sensitizers, in connection with the solution from fresh myrtle-leaves, and in this way have produced plates having such an exalted color sensitiveness as to be unmanageable in ordinary "dark-room" light. Possibly, such plates might be prepared and developed in total darkness, by the aid of suitable mechanical contrivances, but I am not sure that they would work clear even then, because they appear to be sensitive to heat as well as to light.

DISTORTION FROM EXPANSION OF THE PAPER IN PHOTOGRAPHY.

The effect of the unequal expansion of paper, when wetted, in causing distortion of the photographic image impressed upon it, has, in the case of ordinary photographs upon albumenized paper, been well recognized; but the extent to which such distortion may exist under different treatment is worthy of some special consideration, particularly with reference to the method of printing upon gelatinized paper, which has been thought by some likely to supersede the method now usually employed with albumenized paper.

When a print upon the ordinary photographic (albumen) paper is wetted, the fiber expands more in one direction than in the other, so that the print becomes unequally enlarged, very slightly in one and much more so in the other way of the paper. When the paper is dried without any strain being put upon it, the fibers regain very nearly their original dimensions and position, so that the distortion which has existed in the wet condition nearly disappears.

If the photograph is cemented, while in the expanded condition, upon a rigid surface, the distortion then existing is fixed, and rendered permanent. Such a cementation or method of mounting is that which has been generally adopted, and the consequence has been that every now and then complaints have justly been made of the untruthfulness—owing to this particular distortion—of photographs; productions whose chief merit has often been asserted to consist in their absolute truthfulness. This distortion is very manifest when, in a set of portraits, some of the prints happen to have been made in one direction of the paper, and others with the long grain the other way. I have known a case where a proof happened to increase the face in width, and all the other prints increased it in length. Of course, neither was correct, but the proof had been accepted and liked, and the remainder of the set had to be reprinted with the grain of the paper running in the same direction as that in the first one which had been supplied.

Another evil arising from mounting prints while expanded with moisture is, that in drying the contraction of the paper pulls round the card into a curved form and although by rolling this curvature may be temporarily got rid of, the fiber of the paper is in a strained condition, and the bent state of the mount is, sooner or later, renewed thereby.

To remedy these evils it has been proposed to mount the print when dry, by forcible pressure against a slightly damped card, the back of the print having been previously coated with a cement and dried. This plan is, to a great extent, successful; but that it does not give absolute immunity from distortion is, I think, evident from the following consideration. The prints, after being mounted a few days, will show a certain tendency to curl inward. This curling, I take it, is a measure of the strain upon the print, produced by the more complete return to its original dimensions of the paper photograph. Probably it would be well to keep the prints a few days after drying, or to subject them to alternations of damp and dryness, in order to facilitate this complete return before being placed upon the card. The evil of distortion is, however, very slight—perhaps imperceptible—compared with that existing when the prints are mounted wet. I may mention, en passant, that I have found gum much more satisfactory as a mountant than starch paste in what is known as the "dry mounting" system.

The paper which has recently been introduced for producing prints by development upon a gelatine surface does not generally, when dried in the usual way, give so good or so brilliant a surface as that of albumenized paper; but on the other hand it is very easy with it to obtain what is called an enamel surface, by simply allowing it to dry in contact with a prepared surface of glass. This method of finishing has therefore been much recommended and adopted, but without consideration of the effect of distortion in connection with it. In an ordinary photograph the print is mounted damp, but in the case of a print squeegeed on to the glass, the paper is saturated and thoroughly swollen, and the use of the squeegee strains it out to its fullest extent. By drying in the position in which it has been held by contact with the glass, the distortion becomes fixed, and if the print is mounted while in this state the distortion is made permanent. How long the strain and distortion remain in an unmounted print, and whether by time and alternations of moisture and dryness the strain would be lost, and if so, whether the brilliant enamel surface would go at the same time, are questions worthy of further investigation and discussion.

For mounting prints upon developed gelatine paper, it has been recommended to cement the edges only, so as to leave the greater part of the print with its enamel surface. This plan is unsatisfactory, for two reasons, besides the objection on the ground of distortion. There is a rough-looking margin which spoils the continuity of appearance, especially (as in the specimens I have seen) where the line of cement is not kept at an exact width, but encroaches here and there.

Secondly, the print, from not being attached to the mount all over, is apt, especially when in a large size, to be somewhat wavy and wanting in flatness. Another plan recommended, as giving a surface resembling albumen paper, is to paste the back of the print without moistening the surface, and so mount. Some prints that have been shown thus treated had so strongly curled the cards upon which they were mounted that it is evident there was considerable strain and consequent distortion.

A third plan recommended is to paste the back of the print while in contact with the glass upon which it has to dry; and, when dried, to mount by passing through a rolling press with a damped card. This plan looks, at first sight, like that recommended for albumen paper, and called "dry" mounting. Consideration, however, will show that there is a radical difference. In the case of the albumen paper the print has been dried without strain, and therefore but little change is to be looked for, while the print dried in contact with glass is strained to the utmost, causing present distortion and future curling of the mount. Perhaps the evil of distortion caused by enameling may be reduced to a minimum by soaking the print in alcohol previous to laying it upon the glass.

Since the distortion of the photograph arises from the unequal expansion of the paper when wet, it becomes a question whether something may not be done in the selection of the paper itself. It may be that some makes vary much less than others in the "length against width" extension of the surface by wetting. It must be remembered that for gelatine emulsion we are not nearly so limited in the selection of paper as when it is required to be albumenized. In the latter case the image is in the paper, whereas with gelatine the image is contained in the surface coating. I may mention that the best plain, i.e., not enameled, but resembling that of ordinary albumen paper, surface that I have seen upon gelatine paper was upon some foreign post that I had obtained for another purpose. The emulsion employed was that described by Mr. J.B.B. Wellington, and this gentleman agreed with me in attributing the superiority of the surface obtained to the fine quality of the paper upon which the emulsion had been coated. Some commercial samples appear to be coated upon paper of somewhat coarse texture. This does not show when the print is enameled.

The unequal expansion of paper is a subject of interest, not only in connection with gelatine paper for development, but with various photographic processes. In making carbon transparencies for instance, the gelatine film which is squeegeed against the glass necessarily takes its dimensions from the paper to which it is attached, and if that be expanded more in the one direction than another, the transparency is similarly deformed; and so, of course, is any negative, enlarged or otherwise, produced in the camera therefrom. A reproduced negative by contact printing may either have the distortion due to expansion of the paper bearing the gelatine film removed or doubled, according to the direction in which the paper is used for the new negative.—W.E. Debenham, in Br. Jour. of Photography.


MEASURING THE THICKNESS OF BOILER PLATES.

An ingenious process for determining the thickness of iron plates in boilers, or places where they cannot otherwise be measured without cutting them, has been invented by M. Lebasteur. He spreads upon the plate the thickness of which he desires to find, and also upon a piece of sheet iron of known thickness, a layer of tallow about 0.01 inch thick. He then applies to each, for the same length of time, a small object, such as a surgeon's cauterizing instrument, heated as nearly as possible to a constant temperature. The tallow melts, and as in the thicker plate the heat of the cautery is conducted away more rapidly, while in the thin plate the heat is less freely conducted away, and the tallow is consequently melted over a large area, the diameters of the circles of bare metal around the heated point, bounded after cooling by a little ridge of tallow, will be to each other inversely as the thickness of the plates. The process is stated to have given in the inventor's hands, results of great accuracy.


GROUPS OF STATUARY FOR THE PEDIMENT OF THE HOUSE OF PARLIAMENT IN VIENNA.

The pediment of the central pavilion and the two side pavilions of the new House of Parliament, at Vienna, are to be ornamented with groups of statuary. The group in the middle pediment represents the granting of the constitution by the Emperor Francis Joseph, and was executed by Professor Helmer.

 STATUARY FOR THE VIENNA HOUSE OF PARLIAMENT.—SCIENCE AND LITERATURE. (GROUP TO THE LEFT.)

STATUARY FOR THE VIENNA HOUSE OF PARLIAMENT.—SCIENCE AND LITERATURE. (GROUP TO THE LEFT.)

The pediment of the left wing is ornamented by a group representing Justice, and the pediment of the right wing by a group representing the Home Government.

Johannes Benk, the well known Austrian sculptor, designed and executed the last mentioned group. The two figures at the left hand end of this group represent Science and Literature, and those at the right hand end, Industry and Commerce. The entire group consists of nine figures, the middle figure being seated and the rest standing, sitting, and lying, as the space in the pediment allows.

A seated female figure studying a papyrus roll represents Science, and the adjacent female figure, resting one arm on the figure representing Science, and the other, on a lyre, represents Literature or Poetry.

Industry is represented by a strong and powerful woman holding a hammer, and the figure of Mercury and the prow of a vessel represent Commerce.

 STATUARY FOR THE VIENNA HOUSE OF PARLIAMENT.—INDUSTRY AND COMMERCE. (GROUP TO THE RIGHT.)

STATUARY FOR THE VIENNA HOUSE OF PARLIAMENT.—INDUSTRY AND COMMERCE. (GROUP TO THE RIGHT.)

The modulation and formation of each figure conform strictly to Grecian models, as does also the entire arrangement of the figures in the group; and yet there is much of modern life in the figures, especially in the faces, in which the stereotyped Grecian profile has not been adopted. The attitudes of the figures are also freer and more easy than those of the Grecian period.—Illustrirte Zeitung.


ON THE FRITTS SELENIUM CELLS AND BATTERIES.[1]

By C.E. FRITTS, 42 Nassau St., New York, N.Y.

In all previous cells, so far as I am aware, the two portions or parts of the selenium at which the current enters and leaves it have been in substantially the same electrical state or condition. Furthermore, the paths of the current and of the light have been transverse to each other, so that the two forces partially neutralize each other in their action upon the selenium. Lastly, the current flows through not only the surface layer, which is acted upon by the light, but also the portion which is underneath, and not affected thereby, and which therefore detracts from the actual effect of the light upon the selenium at the surface.

My form of cell is a radical departure from all previous methods of employing selenium, in all of these respects. In the first place, I form the selenium in very thin plates, and polarize them, so that the opposite faces have different electrical states or properties. This I do by melting it upon a plate of metal with which it will form a chemical combination, sufficient, at least, to cause the selenium to adhere and make a good electrical connection with it. The other surface of the selenium is not so united or combined, but is left in a free state, and a conductor is subsequently applied over it by simple contact or pressure.

During the process of melting and crystallizing, the selenium is compressed between the metal plate upon which it is melted and another plate of steel or other substance with which it will not combine. Thus by the simultaneous application and action of heat, pressure, chemical affinity, and crystallization, it is formed into a sheet of granular selenium, uniformly polarized throughout, and having its two surfaces in opposite phases as regards its molecular arrangement. The non-adherent plate being removed after the cell has become cool, I then cover that surface with a transparent conductor of electricity, which may be a thin film of gold leaf. Platinum, silver, or other suitable material may also be employed. The whole surface of the selenium is therefore covered with a good electrical conductor, yet is practically bare to the light, which passes through the conductor to the selenium underneath.[2] My standard size of cell has about two by two and a half inches of surface, with a thickness of 1/1000 to 5/1000 inch of selenium. But the cells can, of course, be made of any size or form. A great advantage of this arrangement consists in the fact that it enables me to apply the current and the light to the selenium in the same plane or general direction, instead of transversely to each other as heretofore done, so that I can cause the two influences to either coincide in direction and action, or to act upon opposite faces of the selenium and oppose each other, according to the effect desired.

By virtue of the process and arrangement described, my cells have a number of remarkable properties, among which are the following:

1. Their sensitiveness to light is much greater than ever before known. The most sensitive cell ever produced, previous to my investigations, was one made by Dr. Werner Siemens, which was 14.8 times as conductive in sunlight as in dark. In table A, I give results obtained from a number of my cells.

It will be observed that I have produced one cell which was 337.5 times as conductive in hazy sunlight as in dark. The tremendous change of resistance involved in the expression "337.5 times" may perhaps be more fully realized by saying that 99.704 per cent. of the resistance had disappeared temporarily, under the joint action of light and electricity, so that there remained less than 3/10 of 1 per cent. of the original resistance of the selenium in dark.

In order to obtain these high results, the cells must be protected from light when not in use. The resistance is first measured while the cell is still in total darkness. It is then exposed to sunlight and again measured. It is also necessary to send the current in at the gold electrode or face, as the cell is much less sensitive to light when the light acts upon one surface of the selenium and the current enters at the opposite surface. When the two influences, the light and the current, act through the gold, in conjunction, their forces are united; and, as every atom of the selenium is affected by the light, owing to the extreme thinness of the plate, we have the full effect shown in the measurements.

-----------------------------------------------------------------
                          TABLE A.
                   SENSITIVENESS TO LIGHT.
-----------------------------------------------------------------
Selenium  |  Battery  | Resistance in | Resistance in |
  cell.   |  power.   |     dark.     |   sunlight.   |  Ratio.
----------+-----------+---------------+---------------+----------
          |           |    ohms.      |   ohms.       |
 No. 22   |5 elements.|    39,000     |    340        |114   to 1
  "  23³  |5     "    |    14,000     |    170        | 82.3  " "
  "  24  |5     "    |   648,000     |  2,400        |270    " "
  "  25   |5     "    |   180,000     |    930        |196.5  " "
  "  26   |5     "    |   135,000     |    710        |190    " "
  " 107   |5     "    |   118,000     |    740        |159    " "
  " 108   |5     "    |   200,000     |    900        |222    " "
  " 122   |5     "    |    56,000     |    220        |254.5  " "
  " 129³  |5     "    |   200,000     |    940        |212    " "
  " 137   |5     "    |   108,000     |    320        |337.5  " "
-----------------------------------------------------------------

Cells which are sensitive to light improve by being used daily, and their sensitiveness becomes less if they are laid aside and not used for a considerable length of time, especially if allowed to become overheated. They should be kept cool, and exposed to light frequently, whether they are used or not.

Mode of measuring cells.—So great is the sensitiveness of these cells to external influences, that it is necessary to adopt some particular system in measuring their resistance and to adhere strictly to that system, as every change in the method of measurement produces a difference in the result, and the different measurements would not be comparable with each other. The reason for this will be explained presently.

The system I have adopted is the Wheatstone's bridge arrangement, with equal sides, never using multipliers except for some experimental purpose. In each multiplier wire I have 500 ohms resistance. When the bridge is balanced, one-half of the current flows through the cell and acts upon the selenium. Between the bridge and the cell is a reversing switch, so that the current can be reversed through the cell without changing its course through the bridge. A Bradley tangent galvanometer is used, employing the coil of 160 ohms resistance. The Leclanche battery is exclusively used in measurements for comparison.

2. The kind of battery employed has a marked effect upon the sensitiveness to light, which is largely reduced or entirely destroyed when the bichromate battery is used. The same cells again become extremely sensitive with the Leclanche battery. We might expect that a change in the current employed would cause a change in the resistance of a cell, but it is not clear how or why it should affect the sensitiveness of selenium to light.

"If one kind of battery current destroys its sensitiveness, may we not suppose that another kind might increase its sensitiveness? Although the Leclanche has operated well, some other may operate still better, and by its special fitness for use on selenium cells may intensify their actions, and so bring to light other properties yet unthought of. Is not here a promising field for experiment, in testing the various forms of battery already known, or even devising some new form especially adapted to the needs and peculiarities of selenium cells?"

One year ago I made the foregoing suggestion in a paper on A New Form of Selenium Cell, presented before this Association at Minneapolis. I am now at liberty to state that my photo-electric battery, presently to be described, marks an advance in the direction indicated. The current from this battery increases the sensitiveness of the cells to light, and also to reversal of current. One cell whose highest ratio in light was about 83 to 1, with the Leclanche battery, when measured with my battery gave a ratio of 120 to 1. It seems to make the resistance of the cell both higher in dark and lower in sunlight than with the Leclanche battery. But the field is yet open to others, for the discovery of a battery which may be still better for use with selenium cells.

3. The two surfaces of the selenium act differently toward currents sent into them from the contiguous conductors. One surface offers a higher resistance to the current than the other. The former I utilize as the anode surface, as I have found that the cell is more sensitive to light when the current enters at that surface, which is ordinarily the one covered by the gold or other transparent conductor. Some cells have this property but feebly developed; but in one instance the resistance offered to the current by the anode surface was 256 times as high as that offered by the cathode surface to the same current. In the majority of cases, however, the ratio does not exceed ten times. Table B gives some recent results.

-------------------------------------------------------------------
                          TABLE B.
         SENSITIVENESS TO REVERSAL OF DIRECTION OF CURRENT.
-----------------------+--------------+------------------+---------
                       |              |   Resistance     |
    No. of cell.       |   Battery.   | "gold  | "gold   | Ratio
                       |              | anode."|cathode."|
-----------------------+--------------+--------+---------+---------
                       |              |  ohms. |  ohms.  |
3/8 inch square. No. 4 |  5 elements. | 20,000 |  1,000  | 20  to 1
      "     "     "  3 |   Se. cell.  |  6,500 |    400  | 16.2 "
   Full size, No. 13   |  1 element.  |  9,000 |    800  | 11.2 "
     "    "    "  14   |  5    "      |  2,440 |    130  | 18   "
     "    "    "  15   |  5    "      |  4,640 |    210  | 22   "
     "    "    "  27   |  5    "      |  6,900 |    440  | 16   "
     "    "    " 126   |  1    "      |  5,000 |    330  | 15   "
-----------------------+--------------+--------+---------+---------

The direction of the current is always indicated by stating the position of the gold electrode, by the terms "gold anode" and "gold cathode." The above measurements were made in dark.

4. Sensitiveness to change of battery power.—My cells are extremely sensitive to any change in the strength or character of the current flowing through them, which is shown by a corresponding change in the resistance of the cell. I can, therefore, vary the resistance of one of my cells in many ways, and the following may be specified—

(a) By changing the potential or electromotive force of the current through the cell.

(b) By changing the "quantity" of the battery or current.

(c) By putting more or less resistance in the circuit.

(d) By dividing the current, by one or more branch circuits or shunts around the cell.

(e) By varying the resistance in any or all of said circuits.

A cell whose resistance becomes greater as the battery power becomes greater, and vice versa, I call an "L B cell" signifying Like the Battery power. A "U B cell" is one whose resistance becomes greater as the battery power (or strength of current) becomes less, and vice versa, being Unlike the Battery power, or current strength.

These changes of resistance are not due to heating of the conductor or the selenium, and the following instance will illustrate this. I have one cell in which the selenium has about one-fourth inch square of surface melted on a brass block one inch thick. This cell measured, with 25 elements of Leclanche, 40,000 ohms. On changing the battery to 5 elements the resistance fell instantly to 30 ohms, and there remained. On again using the current from 25 elements, the resistance instantly returned to 40,000 ohms. Had these results been due in any degree to heating, the resistance would have changed gradually as the heat became communicated to the brass, whereas no such change occurred, the resistances being absolutely steady. Moreover, even the fusion of the selenium would not produce any such change.

The "U B" property does not ordinarily change the resistance of the cell to exceed ten times, i.e., the resistance with a weak current will not be over ten times as high as with a strong one. But I have developed the "L B" property to a far higher degree. Table C gives some recent results obtained with L B cells, including one whose resistance, with 25 elements Leclanche, was 11,381 times as high as with 8 elements, and which, after standing steadily at 123 ohms (and then at 325 ohms with 1 element), on receiving the current from 25 elements again returned to its previous figure of 1,400,000 ohms.

---------------------------------------------------------------
                          TABLE C.
            SENSITIVENESS TO CHANGE OF BATTERY POWER.
-----------------------+------------+------------+-------------
                       | Resistance | Resistance |
       No. of cell.    |   with 25  |   with 5   |  Ratio of
                       |  elements. |  elements. |   Change.
-----------------------+------------+------------+-------------
                       |  ohms.     |  ohms.     |
3/8 inch square, No. 1 |    40,000  |     30     |  1,333 to 1
3/8  "     "      "  2 |    13,000  |     40     |    325  "
1/4  "     "      "  1 | 1,400,000  |    123     | 11,381  "
1/2  "     "      "  2 |   500,000  |     62     |  8,064  "
1/2  "     "      "  5 |     3,500  |     21     |    167  "
   Full size, No. 81   |    68,000  |    121     |    561  "
    "    "     "  82   |     9,000  |     64     |    140  "
    "    "     "  83   |    17,300  |     74     |    233  "
    "    "     " 119   |    35,600  |     19     |  1,894  "
-----------------------+------------+------------+-------------

The results in the table were obtained by changing the strength of current by throwing in more or less of the battery. Like results can be obtained by varying the current through the cell by any of the other methods before specified. The above measurements were in dark.

5. Dual state of selenium.—My cells, when first made seem to have two states or conditions. In one, their resistance is very low, in the other it is high. When in the low state they are usually not very sensitive, in any respect. I therefore raise the resistance, by sending an intermittent or an alternating current though the cells, and in their new condition they at once become extremely sensitive to light, currents, and other influences. In some cases they drop to the low state again, and require to be again brought up, until, after a number of such treatments, they remain in the sensitive state. Occasionally a cell will persist in remaining in the insensitive state. The before mentioned treatment raises it up for a moment, but, before the bridge can be balanced and the resistance measured, it again drops into the low or insensitive state. Some cells have been thus stimulated into the high or sensitive state repeatedly, and every means used to make them stay there, but without avail; and they have had to be laid aside as intractable.

In the earlier stages of my investigations, before the discovery of this dual state and the method of changing a cell from the insensitive to the sensitive condition, hundreds of cells were made, finished, and tested, only to be then ruthlessly destroyed and melted over, under the impression that they were worthless. Now, I consider nothing worthless, but expect sooner or later to make every cell useful for one purpose or another.

The most singular part of this phenomenon is the wide difference in the resistance of the cells in the two states. In the low state, it may be a few ohms, or even a few hundredths of an ohm. In the high state, it is the normal working resistance of the cell, usually between 5,000 and 200,000 ohms, but is often up among the millions. The spectacle of a little selenium being stimulated, by a few interruptions of the current through it, into changing its resistance from a fraction of an ohm up to a million or several millions of ohms, and repeatedly and instantly changing back and forth, up and down, through such a wide range, we might almost say changing from zero to infinity, and the reverse, instantly, is one which suggests some very far-reaching inquiries to the electrician and the physicist. What is the nature of electrical conductivity or resistance, and how is it so greatly and so suddenly changed?

6. Radio-electric current generators.—My cells can be so treated that will generate a current by simple exposure to light or heat. The light, for instance, passes through the gold and acts upon its junction with the selenium, developing an electromotive force which results in a current proceeding from the metal back, through the external circuit, to the gold in front, thus forming a photo-electric dry pile or battery. It should preferably be protected from overheating, by an alum water cell or other well known means.

The current thus produced is radiant energy converted into electrical energy directly and without chemical action, and flowing in the same direction as the original radiant energy, which thus continues its course, but through a new conducting medium suited to its present form. This current is continuous, constant, and of considerable electromotive force. A number of cells can be arranged in multiple arc or in series, like any other battery. The current appears instantly when the light is thrown upon the cell, and ceases instantly when the light is shut off. If the light is varied properly, by any suitable means, a telephonic or other corresponding current is produced, which can be utilized by any suitable apparatus, thus requiring no battery but the selenium cell itself. The strength of the current varies with the amount of light on the cell, and with the extent of the surface which is lighted.

I produce current not only by exposure to sunlight, but also to dim diffused daylight, to moonlight, and even to lamplight. I use this current for actual working purposes, among others, for measuring the resistance of other selenium cells, with the usual Wheatstone's bridge arrangement, and for telephonic and similar purposes. Its use for photometric purposes and in current regulators will be mentioned further on. It is undoubtedly available for all uses for which other battery currents are employed, and I regard it as the most constant, convenient, lasting, readily used, and easily managed pile or battery of which I have any knowledge. On the commercial scale, it could be produced very cheaply, and its use is attended by no expense, inasmuch as no liquids or chemicals are used, the whole cell being of solid metal with a glass in front, for protection against moisture and dust. It can be transported or carried around as easily and safely as an electro-magnet, and as easily connected in a circuit for use wherever required. The current, if not wanted immediately, can either be "stored" where produced, in storage batteries of improved construction devised by me, or transmitted over suitable conductors to a distance, and there used, or stored as usual till required.

7. Singing and speaking cells.—When a current of electricity flowing through one of my selenium cells is rapidly interrupted, a sound is given out by the cell, and that sound is the tone having the same number of air vibrations per second as the number of interruptions in the current. The strength of the sound appears to be independent of the direction of the current through the cell. It is produced on the face of the cell, no sound being audible from the back of the cell. An alternating current also produces a sound corresponding to the number of changes of direction. Experiments also show that, if a telephonically undulating current is passed through the cell, it will give out the speech or other sound corresponding to the undulations of the current—and, furthermore, that the cell will sing or speak in like manner, without the use of a current, if a suitably varied light is thrown upon it while in closed circuit.

My experiments having been devoted especially to those branches of the subject which promised to be more immediately practically valuable, I have not pursued this inquiry very far, and offer it for your consideration as being not only interesting, but possibly worthy of full investigation.

GENERAL OBSERVATIONS ON THE PROPERTIES OF CELLS.

From the number of different properties possessed by my cells, it might be anticipated that the different combinations of those properties would result in cells having every variety of action. This is found to be the case. As a general rule, the cells are noteworthy in one respect only. Thus, if a cell is extremely sensitive to light, it may not be specially remarkable in other respects. As a matter of fact, however, the cells most sensitive to the light are also "U B cells."

The property of sensitiveness to light is independent of the power to generate current by exposure to light—the best current-generating cells being only very moderately sensitive to light, and some of the most sensitive cells generate scarcely any current at all. Current-generating cells are, almost without exception, "U B cells;" and the best current-generating cells are strongly polarized, showing a considerable change of resistance by reversing the direction of a current through them; and they are also strong "anode cells," i.e., the surface next to the gold offers a higher resistance to a battery current than the other surface of the selenium does. The power to generate a current is temporarily weakened by sending a battery current through the cell while exposed to light, in either direction. The current generated by exposure to light is also weakened by warming the cell, unless the cell is arranged for producing current by exposure to heat.

The properties of sensitiveness to light and to change of battery power are independent of each other, as I have cells which are sensitive to change of current but absolutely insensitive to light—their resistance remaining exactly the same whether the cells are in darkness or in sunlight. I also have cells which are sensitive to light, but are unaffected by change of battery power, or by reversing the direction of the current through them.

The sensitiveness to change of battery power is also independent of the sensitiveness to reversal of direction of the current. Among the best "L B cells," some are "anode cells" and others are "cathode cells," while still others are absolutely insensitive to reversal of current or to the action of light.

Constancy of the resistance.—A noticeable point in my cells is the remarkable constancy of the resistance in sunlight. Allowing for differences in the temperature, the currents, and the light, at different times, the resistance of a cell in sunlight will remain practically constant during months of use and experiments, although during that time the treatments received may have varied the resistance in dark hundreds of thousands of ohms—sometimes carrying it up, and at others carrying it down again, perhaps scores of times, until it is "matured," or reaches the condition in which its resistance becomes constant.

As has already been stated, the sensitiveness of a cell to light is increased by proper usage. This increased sensitiveness is shown, not by a lowered resistance in light, but by an increased resistance in dark. This change in the cells goes on, more or less rapidly, according as it is retarded or favored by the treatment it receives, until a maximum is reached, after which the resistance remains practically constant in both light and dark, and the cell is then "matured," or finished. The resistance in dark may now be 50 or even 100 times as high as when the cell was first made, yet, whenever exposed to sunlight it promptly shows the same resistance that it did in the beginning. The various treatments, and even accidents, through which it has passed in the mean time, seem not to have stirred its molecular arrangement under the action of light, but to have expended their forces in modifying the positions which the molecules must normally assume in darkness.

Practical applications.—There are many peculiarities of action occasionally found, and the causes of such actions are not always discernible. In practice, I have been accustomed to find the peculiarities and weaknesses of each cell by trial, developing its strongest properties and avoiding its weaknesses, until, when the cell is finished, it has a definite and known character, and is fitted for certain uses and a certain line of treatment, which should not be departed from, as it will be at the risk of temporarily disabling it. In consequence of the time and labor expended in making cells, in the small way, testing, repairing damages done during experiments, etc., the cost of the cells now is unavoidably rather high. But if made in a commercial way, all this would be reduced to a system, and the cost would be small. I may say here that I do not make cells for sale.

The applications or uses for these cells are almost innumerable, embracing every branch of electrical science, especially telegraphy, telephony, and electric lighting, but I refrain from naming them. I may be permitted, however, to lay before you two applications, because they are of such general scientific interest. The first is my

Photometer.—The light to be measured is caused to shine upon a photo-electric current-generating cell, and the current thus produced flows through a galvano-metric coil in circuit, whose index indicates upon its scale the intensity of the light. The scale may be calibrated by means of standard candles, and the deflections of the index will then give absolute readings showing the candle power of the light being tested. Or, the current produced by that light and that produced by the standard candle may be compared, according to any of the known ways of arranging and comparing different lights—the cell being lastly exposed alternately to the two lights, to see if the index gives exactly the same deflection with each light.

This arrangement leaves untouched the old difficulty in photometry, that arising from the different colors of different lights. I propose to obviate that difficulty in the following manner. As is well known, gold transmits the green rays, silver the blue rays, and so on; therefore, a cell faced with gold will be acted upon by the green rays, one faced with silver by the blue rays, etc. Now, if we construct three cells (or any other number), so faced that the three, collectively, will be acted upon by all the colors, and arrange them around the light to be tested, at equal distances therefrom, each cell will produce a current corresponding to the colored rays suited to it, and all together will produce a current corresponding to all the rays emitted by the light, no matter what the proportions of the different colors may be. The three currents may act upon the same index, but each should have its own coil, not only for the sake of being able to join or to isolate their influences upon the index, but also to avoid the resistances of the other cells. If a solid transparent conductor of electricity could be found which could be thick enough for practical use and yet would transmit all the rays perfectly, i.e., transmit white light unchanged, that would be still better. I have not yet found a satisfactory conductor of that kind, but I think the plan stated will answer the same purpose. This portion of my system I have not practically tested, but it appears to me to give good promise of removing the color stumbling-block, which has so long defied all efforts to remove it, and I therefore offer it for your consideration.

Photo-electric regulator.—My regulator consists of a current-generating cell arranged in front of a light, say an electric lamp, whose light represents the varying strength of the current which supports it. The current produced in the cell by this light flows through an electro-magnetic apparatus by means of which mechanical movement is produced, and this motion is utilized for changing resistances, actuating a valve, rotating brushes, moving switches, levers, or other devices. This has been constructed on a small scale, and operates well, and I think it is destined to be largely used, as a most sensitive, simple, and perfect regulator for currents, lights, dynamos, motors, etc., etc., whether large or small.

In conclusion, I would say that the investigation of the physical properties of selenium still offers a rare opportunity for making very important discoveries. But candor compels me to add that whoever undertakes the work will find it neither an easy nor a short one. My own experience would enable me to describe to you scores of curious experiments and still more curious and suggestive results, but lack of time prevents my giving more than this very incomplete outline of my discoveries.

[1]
Paper read before the American Association for the Advancement of Science, at Philadelphia, Sept, 5, 1884.
[2]
The method of constructing the cells was described in the SCIENTIFIC AMERICAN SUPPLEMENT, No. 462, for Nov. 8, 1884, page 7371.
[3]
Cells No. 23 and No. 129 are now in possession of Prof. W. Gryllis Adams, of King's College, London; Dr. Werner Siemens has No. 25, and Prof. George F. Barker, of Philadelphia, has No. 26.
[4]
No. 24 was measured with a bridge multiplier of 6 to 1.
[5]
This measurement was obtained with 8 elements.

ELECTRICITY APPLIED TO THE MANUFACTURE OF VARNISH.

Messrs. Müthel & Lütche, of Berlin, recommend the following process for the manufacture of varnish: The oils are treated by gases or gaseous mixtures that have previously been submitted to the action of electric discharges. The strongly oxidized oxygenated compounds that are formed under such circumstances give rise, at a proper elevation of temperature, to compounds less rich in oxygen, and the oxygen that is set free acts upon the fatty acid that it is proposed to treat. A mixture of equal parts of chlorine and steam may be very advantageously employed, as well as anhydrous sulphuric acid and water, or oxygen, anhydrous sulphuric acid and protoxide of nitrogen, nitrogen, oxygen, and hydrogen, protoxide of nitrogen and air, or oxygen, and so on.

The apparatus is shown in section in the accompanying engraving; a is a steam-pipe running from the boiler to the motor. From this pipe branch conduits, b, that enter the vessels, B, in which the treatment is effected, and that run spirally through the oil. At the lower part of the vessel, B, there is tube wound into a flat spiral, and containing a large number of exceedingly small apertures.

The oxidizing apparatus is shown at p. The gaseous mixture enters through the tube, n, traverses the apparatus, p, and enters the vessel, B, through the tubes, g and D. Fig. 2 gives the details of the oxidizing apparatus, which consists of two concentric glass tubes, A and F, soldered at x. A is closed beneath and held in a cylinder, C; F contains a small aperture through which passes a tube, E. The gaseous mixture enters through the latter, traverses the annular space between the tubes, A and F, and then makes its exit through H, whence it goes to a similar apparatus placed alongside of the other. The shaded parts of the engraving represent bodies that are good conductors of electricity and that communicate with the two poles of any electrice source whatever.

 FIGS. 1 AND 2.

FIGS. 1 AND 2.

The operation is as follows: After opening the tube, e, linseed oil is introduced into the vessel, B, until the latter is half full, and, after this, e is closed and the worm, S, is allowed to raise the temperature to between 60° and 80°. Then the cock of the tube, d, which communicates with an air pump, is opened, and the pressure is diminished to about 730 mm. of mercury. At this moment the oxidizing apparatus are put in communication with an induction bobbin that is interposed in the circuit of a dynamo, while through the tube, n, there is made to enter a mixture of equal parts (in volume) of sulphurous acid, oxygen, and air. At the same time, the cock of the tube, g, is opened, while the stirrer, T, is set in motion. In this way we obtain, in a much shorter time than by ordinary processes, a very liquid, transparent varnish, which, when exposed to the air, quickly hardens. It is possible, with the same process, to employ a mixture (in volumes) of two parts of protoxide of nitrogen with one and a half parts of atmospheric air, or even protoxide of nitrogen alone.

When it is judged that the operation is finished, the tube, g, is opened, the stirrer is stopped, and the tube, c, is opened after d has been closed. The steam then forces the varnish to pass through the tube, f, and traverse the washing apparatus, which is filled half full of water, that is slightly ammoniacal, and is heated by a circulation of steam, S. Finally, the product, washed and free from every trace of acid is collected upon making its exit from the tube, h.—La Lumiere Electrique.


NAGLO BROTHERS' TELEPHONE SYSTEM.

We borrow from the Elektrotechnische Zeitung the following details in regard to the telephonic installations made by the Brothers Naglo at Berlin. Fig. 1 gives the general arrangement of a station, where J is an inductor set in motion through a winch, K, and a pair of friction rollers; W, a polarized call; U, an ordinary two-direction commutator; B, a lightning protector; and L and T, the two terminals of the apparatus, one of them connecting with the line and the other with the earth. The interesting point of this system is the automatic communication which occurs when the inductor, J, is moved. At the same moment that the winch, K, is being moved, the disk, P, is carried from right to left and brought into contact with the spring, f2. As soon as the winch is left to itself a counter-spring forces the disk, P, to return to a contact with the spring, f1. Figs. 2 and 3 show the details of such communication. The winch, K, is keyed to one of the extremities of a sleeve that carries the disk, P, at its other extremity. This sleeve is fixed upon the axle of the first friction roller, that is to say, upon the axle that controls the motion of the inductor, and is provided at the center with two helicoidal grooves, e, at right angles with one another. In these grooves slides a tappet, n, connected with the axle.

 FIG. 1.

FIG. 1.

Under the influence of the counter-spring at the left of the disk, P, the latter constantly tends to occupy the position shown in Fig. 2, which is that of rest. As soon as the winch, K, is revolved, whatever be the direction of the motion, the axle can only be carried along when the tappet, n, has come to occupy the position shown in Fig. 3, that is to say, when the disk has moved from right to left a distance corresponding to the fraction of the helix formed in the sleeve.

This stated, it is easy to understand the travel of the currents. Fig. 1 shows the station at rest. The current that arrives through L passes through the lightning protector, the body of the commutator, U, the terminal, v, and the call, W, bifurcates at P, and is closed by the earth. The inductor is in circuit, but, as it is in derivation, upon a very feeble resistance, v, nearly the whole of the current passes through the latter. When it is the station that is calling, the call, W, is put in derivation upon the circuit, f2 p, h, so that the portion of the circuit that passes through q W v is exceedingly feeble, and incapable of operating the bell of the post that is calling.

 FIGS. 2 AND 3.

FIGS. 2 AND 3.

Finally, when the telephone is unhooked, the inductor, J, and the bell, W, are thrown out of circuit, and the telephone is interposed between d and i, that is, between L and T.—La Lumiere Electrique.


THE GERARD ELECTRIC LAMP.

In the Gerard incandescent lamp the carbons have the form of a V. They are obtained by agglomerating very finely powdered carbon, and passing it through a draw plate. At their extremity they are cemented together with a small quantity of carbon paste, and their connection with the platinum conducting wires is effected by means of a cylinder of the same paste surmounted by a cone. These couplings secure a good contact, and, by their dimensions, prevent the attachments from becoming hot and consequently injuring the carbon at this point. The cone forms a connection of decreasing section, and prevents the carbon from getting broken during carriage.

This process of manufacture permits of obtaining lamps of all intensities, from 3 candles up. The following, according to Mr. Gerard, are the consumptions of energy in each size of lamp:

             Candles.   Volts.   Amperes.
   No. 0.      10         16       1.5
    "  1.      25         25       2
    "  2.      50         30       2.5

It will be seen that these lamps require a relatively intense current with much less fall of potential than the Swan, for example—this being due to the diameter of the filament. But, what is an inconvenience as regards mounting, if we wish to supply them by ordinary machines (for they must be mounted in series of 3 on each derived circuit if the machine gives, as most frequently the case, 100 volts), is an advantage as regards the quality and steadiness of the light and the duration of the lamps.

 GERARD'S INCANDESCENT LAMP.

GERARD'S INCANDESCENT LAMP.

The part in which the energy is expended is homogeneous, as might be supposed from the mode of manufacture, and as may be ascertained from a microscopical examination, and it is exempt from those variations in composition that are found in carbons of a vegetable nature, like the Edison. Besides, being of relatively large diameter, the lamp is capable of supporting a very great increase of temperature.

The process employed for fixing the lamps is as simple as can be. Each platinum wire is soldered to a piece of copper that surrounds the base of the lamp and that is fixed to the glass with a special cement. These two armatures intertwine, but at a sufficient distance apart to prevent contact. They carry a longitudinal projection and an inflation that fit by hard friction into two copper springs connected electrically with the circuit. It is only necessary to lift the lamp in order to remove it from the support; and the contrary operation is just as easy.—Le Genie Civil.


A NEW REFLECTING GALVANOMETER.

Fig. 1 shows an elevation of the instrument and a horizontal section of the bobbins. Two pairs of bobbins, cc, cc, are so arranged that the axes of each pair are parallel and in the same vertical plane. Each pair is supported by a vertical brass plate, and the two plates make an angle of about 106° with each other, so that the planes containing the axes of the bobbins make an angle of about 74°. Two horseshoe magnets, m m, made of 1/25 inch steel wire, are connected by a very light piece of aluminum and placed at such a distance from each other that, on being suspended, the two branches of each of the magnets shall freely enter the respective bores of the two bobbins fixed upon the same plate, and, when the whole system is in equilibrium and the bobbins free from current, the two branches of each of the magnets shall nearly coincide with the axes of such bores. The magnets are not plane, but are curved so as to form portions of a vertical cylinder whose axis coincides with the direction of the suspension wire, and to which the axes of the bobbins are tangent at their center, approximately to the points where the poles of the magnets are situated.

 FIG. 1. GRAY'S GALVANOMETER.

FIG. 1. GRAY'S GALVANOMETER.

The needles have been given this form so that their extremities shall not touch the sides of the bore during considerable deflections.

In the instrument which the inventors, Messrs. T. & A. Gray, used in their experiments upon the resistance of glass, the needles were arranged so that their poles of contrary name were opposite.

 FIG. 2.

FIG. 2.

The system of needles is suspended from the extremity of a screw, p, which passes into a nut, n, movable between two stationary pieces. On revolving the nut, we cause the screw to rise or lower, along with the entire suspended part, without twisting the thread.

The four bobbins are grouped for tension, and have a total resistance of 30,220 ohms. They contain 16,000 feet of No. 50 copper wire, forming 62,939 revolutions, nearly equally divided between the four bobbins. When a current is passing through the bobbins, the poles of one of the horseshoe magnets are attracted toward the interior of the corresponding bobbins, while those of the other are repelled toward the exterior by the two other bobbins. We thus have a couple which tends to cause the system to revolve around the suspension axis. A mirror, which is fixed upon a vertical piece of aluminum, a, gives, in the usual manner, a reflected image upon a scale, thus allowing the deflections to be read. A compensating magnet, M, is supported by a vertical column fixed to the case, above the needles. This magnet may be placed in the different azimuths by means of a tangential screw, t. The extremities of the bobbin wires are connected with three terminals, T, T1, T2, and the instrument may, by a proper arrangement, became differential. These terminals, as well as the communicating wires, are insulated with ebonite.

Thus arranged, the instrument is capable of making a deflection of one division of 1/50 inch upon a scale placed at a distance of a little more than a yard, with the current produced by one daniell of 10 ohms. This is a degree of sensitiveness that cannot be obtained with any of the astatic instruments known up to the present. By regulating the needles properly, a greater degree of sensitiveness may be attained, but then the duration of the needles' oscillation becomes too great. The sensitiveness of the instrument is sufficiently great to allow it to be used in many cases, even with a moderate duration of oscillation.

In their experiments upon the resistance of glass, the inventors employed an instrument that was not arranged for giving great sensitiveness, and one with which resistances of from 104 to 105 megohms could be measured by the use of a pile of 120 daniells.

The instrument can be given another form. The four bobbins may be arranged symmetrically in the same plane, and the two horseshoe magnets be supported by an S-shaped aluminum bar. The latter traverses the plate that supports the bobbins, in such a way that one of the magnets enters one of the bobbins that correspond to it on one side of the plate, and the other on the other side, as shown in Fig. 2. The bobbins are so connected that, when they are traversed by a current, both magnets are at the same time attracted toward the interior or repelled toward the exterior of the bobbins. Such a form of the instrument has the advantage of being more easily constructed, while the regulation of the magnets with respect to the bore of the bobbins is easier.

The chief advantage of the instrument results from the fact that, owing to the arrangement of the magnets and bobbins, a large portion of the wires of the latter is situated very near the poles of the magnets, and in a position very favorable for electro-magnetic action. The instrument presents no difficulties as regards construction, and costs no more than an ordinary one.

We might even arrange a single horseshoe magnet, or an S-shaped one, horizontally, and employ but a single pair of bobbins, and thus have a non-astatic apparatus based upon the same principle. But in astatic instruments it is better to place the magnets in such a way that the two branches shall be in the same vertical plane.

Were the line that joins the two poles vertical, the system would be perfectly astatic in a uniform field, since each magnet in particular would then be perfectly astatic. A pair of horseshoe magnets may thus be regulated in such a way as to form a perfectly astatic system in a uniform field and to preserve an almost invariable zero, this being something that it is very difficult to obtain with the ordinary arrangement of needles, especially when a compensating magnet is used; for, in such a case, one of the needles becomes more or less magnetized, while the other becomes demagnetized, according to the position of the compensating magnet.—La Lumiere Electrique.


HISTOLOGICAL METHODS.

A cat, dog, rabbit, or Guinea pig will furnish parts from which sections can be cut for the study of histology. Whichever animal is selected should be young and well developed. Put it under influence of chloroform, and open into the cavity of the chest; make an incision into the right ventricle, and allow the animal to bleed to death; cut the trachea and inject the lungs with a solution of one and a half drachms of chromic acid in one quart of water, care being taken not to overdistend the lung. Tie the severed end to prevent the escape of the fluid, and carefully remove the lung. It is a difficult thing to do this without rupturing it, but with care and patience it can be done. Place the lungs in a solution of the same strength as used for injecting; after fifteen or twenty hours change it to a fresh solution, and allow it to remain for about a month, and then change it to rectified spirits, in which it may remain until required.

Cut the tongue into several transverse and longitudinal pieces, also the small intestines, and put them into a solution of fifteen and one-half grains chromic acid, thirty grammes bichromate of potash, and three pints of water; change the solution the next day, and let them remain two weeks and then place in spirits. Cut longitudinal and transverse portions of the stomach and large intestines, wash in a weak solution of salt and water, and put them in the same solution as used for the lungs, and treat similarly.

Cut the kidneys longitudinally and transversely, and put them in a solution of six and one-half drachms bichromate of potash, two and one-half drachms sodium sulphate, one quart of water; change the solution the next day, and at the end of four weeks transfer to alcohol. Wash the inner surface of the bladder with salt and water, and after cutting it longitudinally and transversely, put the sections in a solution of three drachms bichromate of potash in a quart of water. Cut the liver into small parts, and place in the same solution as used for the kidneys; change the solution after a day, and let them remain four or five weeks, then change to spirits. The spleen and portions of the thin abdominal muscles may be placed in a solution of three drachms chromic acid to one quart of water, and transferred to alcohol after three or four weeks. Carefully remove an eye and divide it behind the crystalline lens, put the posterior portion in a solution made by dissolving fifteen grs. chromic acid in five drachms water, and slowly adding five and one-half ounces alcohol; change to spirits in two weeks. The lens should be put in the same solution, but should remain a few days longer. Open the head, remove the brain, and place transverse and longitudinal sections of it in spirits for eighteen hours, then transfer to a solution of one drachm chromic acid in a quart of water, and let it remain until hard enough to cut. Place the uterus in a solution of one and one-half drachms chromic acid in one quart of water, change to a new solution the next day, and at the end of a month transfer to alcohol.

The bones from one of the legs should be carefully cleaned of its muscles, cut into several pieces, and placed in a solution of fifteen and one-half grains chromic acid, one-half drachm nitric acid, and six ounces water. Change the fluid frequently until the bones are sufficiently softened, and then change to alcohol.

Section cutting machines for cutting sections can be procured of the dealers, but a very simple and effective one can be easily made if one does not wish to go to the expense of buying an instrument.

A strip of wood twelve or fourteen inches long and about two inches wide has attached to its center a bridge-shaped piece of wood, a, Fig. 1. This is covered with a brass plate, c, pierced with a hole one-half of an inch in diameter. This hole extends through the wood, and is fitted with a piston. Two long narrow inclined planes of nearly equal inclination, b, b, grooved to slide on each other, are placed under the bridge; the lower is to be fastened to the board; the end of the piston rests on the upper one. The object from which we desire to cut a section is placed in the hole, in the piston. If the upper plane be pushed in, the piston will be forced upward, and with it the object. As the inclination of the plane is very gradual, the vertical motion will be very slight as compared with the horizontal.

When the object is raised a little above the brass plate, a keen edged razor, thoroughly wet, is pushed over the hole, cutting the object. This gives the section a smooth surface, and even with the plate; now push the plane forward one-eighth to one-quarter of an inch, and cut again; this will give a thin section of the object. The thickness of the section depends, of course, on the distance the wedge is pushed.

With a little practice, much better sections can be cut by the hand than by any machine; this does not apply of course to large sections. A razor of good steel, with a blade thin and hard, are the most essential points in an instrument for hand cutting. For ordinary purposes it is not necessary to have the blade ground flat on one side, although many prefer it. The knife should always be thoroughly wet, in order that the cut tissue may float over its surface. Water, alcohol or salt and water may be used for this purpose.

 FIG. 1.

FIG. 1.

To out a section by hand, hold the object between the thumb and first two fingers of the left hand, supporting the back of the knife by the forefinger. The knife is to be held firmly in the right hand, and in cutting should never be pushed, but drawn from heel to point obliquely through the tissue. The section should be removed from the knife by a camel's hair brush.

When the object is too small to hold, it is usually embedded in some convenient substance. A carrot is sometimes very useful for this purpose. A hole rather smaller than the object is cut out of the middle. Put whatever is to be cut into this, and cut a thin section of the whole. The carrot does not cling to either the knife or the section, and the knife is wetted at every slice by it.

Paraffin is the agent usually employed for embedding purposes. Melt it, and add a little lard to soften it; the addition of a little clove oil renders it less adhesive.

Melt the paraffin at as low a temperature as possible, and pour it into a paper cone. Dip the object into this and remove immediately; as soon as the layer of paraffin surrounding it becomes hardened, replace it in the paraffin; this prevents overheating the tissues.

Where the tissues are too soft to be cut, they may be soaked in a solution of gum arabic and dried; in this condition they can be readily cut, after which the gum can be dissolved off. This is an extremely useful method for cutting the lung or other organs where an interstitial support is needed. For a very thin object, a cork fitting any kind of a tube is to be split, and the object placed between the two parts; the cork is then thrust into the tube, and a sufficient degree of firmness will be obtained to allow cutting. The sections should always be manipulated with camel's hair brushes.

Much practice will be required before dexterity is attained.

Methods of preserving the tissues.—All water must be removed from the tissue, either by drying or by immersing it in rectified spirits, and then in absolute alcohol, and the alcohol driven off by floating it upon oil of clove or turpentine. The substances used to preserve the tissues are Canada balsam, Dammar balsam, glycerine, Farrant's solution, potassium acetate, spirits, naphtha, and creosote.

The section is to be floated on to the slide or placed in position with a camel's hair brush. It should be spread out, and then examined under the microscope for the purpose of improving its position if necessary, or of removing any foreign particles. A drop of the preserving medium is then placed upon it, and another placed on the cover and allowed to spread out. The cover is then taken by a pair of pincers and inverted over the object, and one edge brought to touch the slide at one part of its margin. The cover is then gently lowered, and the whole space beneath the cover filled and the tissue completely saturated. If air bubbles show themselves, raise the cover at one corner and deposit a further quantity of the medium.

The slide should be set aside for a few days. First, the excess of the medium must be removed; if it is glycerine, much of it can be removed by a piece of blotting paper, but the cover must not be touched, for it is easily displaced; that near the cover can be replaced by a camel's hair brush. A narrow ring of glycerine jelly should be placed around the edge of the cover, to fix it before the cement is applied. When this has set, a narrow strip of cement is to be put on, just slightly overlapping the edge of the cover and outside the margin of the jelly. Until it has been perfectly secured, a slide carrying glycerine must never be placed in an inclined position, as its cover will slide off.

Preservative media.—Canada balsam may be prepared as follows: Place some pure Canada balsam in a saucer, and cover with paper to exclude dust; dry it in an oven at a temperature of 150°; when it cools, it will become hard and crystalline. Dissolve this in benzole, and use in the same way as glycerine.

Dammar is now used as a substitute for Canada balsam. By its use the tissues are rendered more transparent. To prepare it, dissolve one-half ounce of Dammar rosin and one-half ounce of gum mastic in three ounces of benzole, and filter. This may be used to mount unsoftened bone and tooth, hair, brain, and spinal column, and most tissues that have been hardened in alcohol or chromic acid, which require to have their transparency increased.

Glycerine is not adapted for white fibrous tissue or blood vessels, unless they have been hardened in chromic acid, as it causes the white fibers to swell up and lose their normal features. Sections of liver, lung, skin, and alimentary canal show better in glycerine unless they have been stained.

Farrant's solution may be substituted for glycerine in many instances, because of its feebler tendency to render the tissues transparent. It consists of equal parts of gum arabic, glycerine, and a saturated solution of arsenious acid. In mounting preparations with this medium, the covered object should be allowed to lie a day before the varnish is applied, so that the cover may be fixed, and thereby prevented from being displaced. Rectified spirits may be used for mounting softened bone and tooth, and naphtha and creosote are useful for preserving urinary casts.

When the section is mounted in Canada or Dammar balsam, no cement is required, but for all other preservative media the margin of the cover must be covered with cement. To do this, dry the edges of the cover thoroughly with bibulous paper, and paint a layer of gold size, allowing it to overlap the cover an eighth or sixteenth of an inch, then cover this with white zinc cement.

Preparation for mounting the different tissues.—To obtain a section of bone or tooth requires a grinding down of the tissue until it is so thin as to be transparent. A section should first be cut as thin as possible by a fine saw. It should be attached by the flattest side to a piece of glass, and then ground down by a grindstone or by very fine emery, on a perfectly flat piece of lead. When sufficiently thin and transparent, mount in rectified spirits or Dammar. Sections of the tongue may be made by embedding in paraffin, and mounted in Farrant's solution or glycerine.

Sections of the stomach may also be made by embedding in paraffin, but better ones can be made by freezing. Farrant's solution makes a good mounting.

The intestines also give a better section from freezing than by embedding, as the paraffin injures the villi; mount in the same medium as the stomach.

The liver may be embedded in paraffin, and the section mounted in Farrant's solution or glycerine. The kidney may be treated in the same way. The cornea of the eye can be readily cut by embedding in paraffin, and the section may be mounted in Farrant's solution. The crystalline lens and retina may be treated similarly.

The brain and spinal cord should be embedded in paraffin or a carrot, and the section mounted in Dammar. Sections of the uterus and ovaries are best mounted in glycerine or Dammar. Sections of lung maybe made by embedding in gum or by freezing, and mounted in Farrant's solution.

Every slide should be of uniform size, and labeled. The usual size is 3×1 inches, and should be of a good quality of glass, free from scratches or air holes. They may be labeled either by writing with a diamond, or a small piece of paper affixed to one end, on which is written what is required.


LIFE HISTORY OF A NEW SEPTIC ORGANISM.

At a recent meeting in London, of the Royal Miscroscopical Society, Dr. Dallinger gave his annual address to what was probably the largest gathering of Fellows ever assembled on a similar occasion. After briefly referring to the increased interest lately manifested in the study of minute organisms, and recalling the characteristics of the doctrines of abiogenesis and biogenesis, he passed rapidly in review the results of the observations of Tyndall, Huxley, and Pasteur as bearing upon these questions, and called attention to the observations of Buchner as to the transformation of Bacillus anthracis and Bacillus subtilis, and vice versa, and referred with approval to Dr. Klein's criticisms thereon. Having spoken of the desirability of careful and continuous study of this class of organisms, and the importance of endeavoring to establish the relation of the pathogenic form to the whole group, he said he should be better able to deal with the subject by recording a few ascertained facts rather than by making a more extended review, and he therefore devoted the main part of his address to a description of "the life history of a septic organism hitherto unknown to science." In his observations of this form—extending over four years—he had the advantage of the highest quality of homogeneous lenses obtainable, ranging from one-tenth to one-fiftieth of an inch, his chief reliance being placed upon a very perfect one thirty-fifth of an inch; and from the continuous nature of the observations as well as the circumstances under which they were carried on, dry lenses had for the most part to be employed. Having in his possession a maceration of cod-fish in a fluid obtained from boiled rabbits, he found at the bottom of it, when in an almost exhausted condition, a precipitate forming a slightly viscid mass, to which his attention was particularly directed. It was seen to contain a vast number of Bacterium termo, but on examination with a one-tenth inch objective showed that it also contained a comparatively small number of intensely active organisms—one being discovered in about eight or ten drops of the sediment. These measured 1-10,000 of an inch in length by 1-19,500 of an inch in breadth. The fluid had originally been kept at a temperature of 90° to 95° F., and it was noticed that, when placed upon a cold stage under the microscope, the movements of the organisms became, gradually slower, until at last they entirely ceased; the necessity, therefore, arose for the use of a warm stage, and the very ingenious contrivance by which a continuous and even temperature was maintained within the one-tenth of a degree was exhibited. The greatest difficulty in the matter was, however, experienced in obtaining specimens for observation, in order to be able to trace them from their earliest to their latest stage. The President then explained, by means of an admirable series of illustrations projected upon a screen by the oxyhydrogen lantern, the life history of the organism to which he had referred, exhibiting it first as a translucent, elliptic, spindle-shaped body, with six long and delicate flagella, the various positions in which the five specimens were drawn giving a very good idea of its peculiar porpoiselike movements.

The various positions which it assumed in making an attack upon a portion of decomposed matter were also shown, the movements quite fascinating the observer by their rhythmical character. The supposed action of the flagella in the production of the movements observed was explained, distinct evidence being afforded of a remarkable spiral motion, at least of those behind. The process of fission was illustrated in all its observed stages from the first appearance of a construction to that of final and complete separation, the whole being performed within the space of eight or nine minutes. A description of the process of fusion from the simple contact of two organisms to their entire absorption into each other followed, as well as their transformation into a granular mass, which gradually decreased in size in consequence of the dropping of a train of granules in it wake as it moved across the field. The development of these granules was traced from their minute semi-opaque and spherical form to that of the perfect flagellate organism first shown, the entire process being completed in about an hour. Experiments as to their thermal death-point showed that, while the adults could not be killed by a temperature less than 146° F., the highest point endured by the germs was 190° F. Illustrations of a variety of other modes of fission discovered in previous researches on similar forms were given, showing the mode of multiple division and a similar process in the case of an organism contained in an investing envelope. The President concluded his address, which was listened to throughout with the greatest attention, by remarking that, though the processes could be seen and their progress traced, the modus operandi was not traceable. Yet the observer could not fail to be impressed with the perfect concurrent adaptation of these organisms to the circumstances of their being; they were subject to no caprices, their life-cycles were as perfect as those of a crustacean or a bird, and while the action of the various processes was certain, their rapidity of increase and the shortness of their life history were such that they afforded a splendid opportunity of testing the correctness of the Darwinian law.


WINTER AND THE INSECTS.

For a number of years previous to 1878 we had in Pembroke but little or no severe cold, owing to the prevalence of southeast, south, west, and especially southwest winds. In many places, fuchsias that were left in the ground for the entire year had not been frozen to the root within the memory of man. Some of these plants had grown to be trees five or six yards in height, and with a trunk the size of one's leg. Now, during the same series of years, many insects that are common throughout the rest of Great Britain did not cease to be rare with us, or rather were confined to certain circumscribed limits. Thus, the Noctuellæ, with the exception of a few species abundant everywhere, were almost wanting, and I know of no other country where the dearth of common species of nocturnal butterflies was so great. But during the winter of 1878 there supervened a radical change. Persistent winds from the northwest, driving back the currents of warm air from the south, brought on an intense cold that froze everything; or, when some variation occurred in them, clouds formed and dissolved into a rain that immediately froze, so that the large roads remained for weeks covered with a layer of rime from two to four inches thick.

 GREEN WOODPECKER SEARCHING FOR INSECTS.

GREEN WOODPECKER SEARCHING FOR INSECTS.

The winters of 1879 and 1880 were equally cold; we may even say that the latter was the severest that had been experienced in fifty years. This year the sea-sand, along with the ice and snow, formed a thick crust all along the tide-line—this being something rarely seen along our coast. The first of these three winters (1878-1879) killed all the arborescent veronicas and a few sumacs. As for the fuchsias and myrtles, they were frozen down to the level of the soil.

I now come to the effects of this severe cold upon the insects.

The Lepidoptera, which before were rare, became more and more common in 1879, 1880, and 1881, and so much so that during the last named year they abounded; and species that had formerly been detected only at certain favored points spread over the entire coast and into the interior of the country. The geometers appeared in numbers that were unheard of. But this change was especially striking as regards the Noctuellæ, in view of the previous rarity of the individuals belonging to this family.

We have here an example of the direct relation of cause to effect, although I am not in a position to assert that the effect is always produced in the same way. To me there is no question as to the fact that the constitution of those insects which nature has accorded the faculty of liberating is strengthened, and that their chances of life are increased, if the cold of winter is intense enough to plunge them into an absolute rest, and is not unseasonably affected by warm, spring-like days. It is certain that such cold is capable of contributing largely to the multiplication of the individuals of such species as hibernate in the egg state, and it also has a beneficent influence upon those species which, like the small social larvæ, pass this season upon the earth enveloped in a silken envelope, or, like the larvæ of the Noctuellæ, between dead leaves or upon the ground itself.

On another hand, it cannot be doubted that mild winters greatly contribute to the bringing about of a destruction of larvæ and chrysalids in two ways: First, they favor the development of mould, which, as well known, attacks the larvæ of insects when these have been enfeebled by an excess of rain or dampness; and second, they permit beasts of prey to continue to exercise their activity. Now, these latter are numerous. Moles, instead of burying themselves deeply, then continue to excavate near the surface, and shrew mice are constantly in search of food. These small mammals, which abound in this district, destroy a large number of chrysalids of Lepidoptera.

It is the same with birds. As soon as severe cold begins to prevail in the north and east, they come in troops to the open fields and the sheltered slope of the hills of our district. But it is scarcely worth while to stop to tell of the skill and perseverance of these destroyer of larvæ. We may mention, the woodpecker, however, as a skillful searcher for insects that lie hidden in places where the sun has melted the snow. The carnivorous Coleoptera and the Forficulæ are likewise generally in motion during mild winters. Doubtless these last-named do not make very large inroads in the ranks of larvæ and chrysalids every day; yet, having no other food, they destroy a goodly number of them. But I believe that the devastations made in the army of insects by all these enemies united do not equal those made by certain crustaceans—the wood lice.

During mild winters these pests multiply, eat, and prosper out of bounds, and to such a point that, in a climate like ours, they become a true scourge that prevails everywhere, out of doors and within. Once in a place, they begin to look for larvæ and chrysalids, which they devour. The severe cold seems to have destroyed a certain number of them, since they are now not so numerous by far; and it has at least certainly put a stop to their devastations at an epoch when the larvæ are more particularly exposed to the attacks of their enemies. It is to this cause, as well as to the preceding, that I am led to attribute the extraordinary multiplication of so many species during the three last summers, which were separated by severe winters. Last winter was mild, and there is therefore no reason to expect that there will be another multiplication; but I hope that the harm done by such a season will be slight. It is the progressive multiplication of the destroyers, joined to the correlative disappearance of the victims caused by a series of temperate seasons, that is to be feared.

In support of the proposition that I maintain, I may mention still another fact. While this district (Pembroke, Wales) is relatively poor in species whose larvæ feed and hibernate in the open air a few species of Noctuellæ, whose larvæ live buried in the earth, are always abundant. The country is relatively rich in spices of Tortrix, which develop and hibernate in the stalks or roots of plants. It is also worthy of remark that very few of our species seem to be incapable of enduring a severe winter.—C.G. Barret, in Science et Nature.


SILK WORM EGGS.

Prof. C.V. Riley, entomologist, announces that the Department of Agriculture, Washington, will purchase during the coming summer such quantities of silk worm eggs as may be deemed necessary for the distribution that it is proposed to make for the season of 1886. So far as found practicable, the eggs will be purchased of American producers. There are certain precautions, however, that must be taken to insure purchase. Eggs of improved races only (preferably of the French or Italian Yellow Races) will be bought, and the producer should send one or two samples of pierced cocoons with the eggs. In addition to this the producer must conform to certain rules to be hereafter explained, so that an examination may be made that will serve to show the degree of purity of the eggs. No silk culturist should use his crop for the production of eggs unless the worms have shown, until they began the spinning of their cocoons, every sign of perfect, robust health. Any indication of the disease called flacherie, from which the worms so often die after the fourth moult and turn black from putrefaction, or of any other disease from which silk worms suffer, should be considered as ample reason for not using the cocoons for the purpose in question. They should, on the other hand, be sold for the filature. If the worms have all the indications of health until the spinning period, then the cocoons may be used for the production of eggs. The following brief instructions will prove of service to those who which to secure sound eggs:

For each ounce of eggs to be produced, about three-quarters of a pound of fresh cocoons from the finest and firmest in the lot should be chosen. These should be strung in sets upon a thread, care being taken not to pierce the chrysalis, and the strings hung in a cool, darkened room. The moths generally emerge from the cocoons early in the morning, and will be seen crawling about over these, the males being noticeable by their smaller abdomens, more robust antennæ, and by their greater activity. The moths should be placed, regardless of sex, on a table, where they will soon find their mates and couple. As soon as formed, the couples should be removed to another table, that they may not be disturbed by the flutterings of the single moths.

There should be prepared for each ounce of eggs to be produced, about one hundred small bags of fine muslin, made in the following manner: Cut the cloth in pieces 3×6 inches. Then fold one end over so as to leave a single edge of about three-quarters of an inch, as shown in the accompanying cut. This should be sewn up into a bag with the upper end open, and then turned inside out, so that the seams will cause the sides to bulge. Thus completed they are called "cells." The cells should be strung on a cord stretched across the room.

The moths couple as a rule about eight o'clock in the morning. About four in the afternoon they should be separated by taking them by the wings and drawing them gently apart. Each female should now be placed by herself in a cell, which is then closed by a pin as shown in the figure. Here she will lay her eggs and in due time die. The males may as a rule be thrown away, but it is wise to keep a few of the more active ones, in case there should be a superabundance of females the following day.

When the females have finished laying their eggs, which operation occupies about thirty-six hours, they are ready to be shipped to this office. The cells, with their inclosed moths and eggs, should be placed in a strong box of wood or tin, being packed in such a manner that they will not be crushed, and mailed to the entomologist at the department. By using the inclosed return penalty slip, payment of postage may be avoided. The name of the sender should be placed in each box. The moths, as soon as received, will be examined microscopically, and the eggs of those which are found to be free from disease will be weighed and paid for at the rate of $2.50 per ounce of 25 grammes (about 6-7 of an ounce avoirdupois). Silk culturists are advised not to attempt the production of eggs unless they are adepts at the industry, and have had at least one season's experience. We would advise each person desiring to sell, to send a sample first, with a statement of the quantity offered.


Dr. Zintgraff of Bonn has taken a phonograph with him to Africa. He intends to bring home phonograms of the savage dialects which he will hire the natives to speak into the machine.


[NATURE.]

DETERMINING THE MEAN DENSITY OF THE EARTH.

In Nature for March 5 (p. 408) Prof. Mayer suggests an improvement in our method of determining the mean density of the earth, from which it appears that our plan has not been properly understood. This misunderstanding, no doubt, has arisen from the incomplete description of our method given in the Nature (Jan. 15. p. 260) report of the Proceedings of the Berlin Physical Society, which report was probably the only source of information accessible to Prof. Mayer. We are led therefore to give a short description of our method.

Let H I K L represent a section of a cubical block of lead, about two meters in the edge, and weighing 100,000 kilos. The balance, A B C, is placed in the middle of the upper horizontal surface. It bears the scale-pans, D and E. Under these scale-pans the block is bored vertically through, and two other scale-pans, F and G, are suspended below the block, attached to the balance by means of rods passing through these openings.

A weight D is brought into equilibrium by weights in G. The weight in D is acted upon by the earth's attraction + that of the block, and that in G by the earth's attraction - that of the block. The weights in G are then greater than that in D by twice the attraction of the block. The weight in D in now removed to F, and counterbalanced by weights in E. The weight in E will be less than that in F by twice the attraction of the block. The difference of the two weighings gives therefore four times the attraction of the block. A correction must be introduced for the variation in the earth's attraction due to the different heights of D, E and F, G.

In order to obtain as great a deflection of the balance by the method suggested by Prof. Mayer, each of the mercury spheres must exert the same attraction as our lead block. This would require spheres having radii of about one meter. The length of the beam of the balance would be necessarily at least two meters. Besides, each mass of mercury, would exert some attraction on the weight on the other side, and thus lessen the deviation of the balance.

The method given by Prof. Mayer, except for the suggested employment of mercury, is then no improvement on ours. If we should use mercury, we would construct a cubical vessel to contain it, and use it as we propose to use the lead block. The advantage of using mercury is, however, counterbalanced by the difficulty of obtaining it in such large quantities as would be necessary.

ARTHUR KONIG.

FRANZ RICHARZ.

Berlin, Physical Institute of the University, March 15.


PHYSICS WITHOUT APPARATUS.

The Porosity and Permeability of Bodies.—Take two tumblers of the same size, place one of them upon a table, and pour into it a small quantity of nearly boiling water. Cover this glass with a sheet of cardboard, and invert the other one upon it. This second tumbler must be previously wiped so as to have it perfectly dry and transparent. In a few seconds the steam from the lower tumbler will traverse the cardboard (which will thus exhibit its permeability), and will gradually fill the upper tumbler, and condense and run down its sides. Wood and cloth may be experimented with in succession, and will give the same results; but there are other substances that are impermeable, and will not allow themselves to be traversed. Such, for example, is the vulcanized rubber of which waterproofs are made. This experiment explains to us why fog is, as has been well said, so penetrating. It traverses the tissue of our overcoat and of our flannel, and comes into contact with our body. On the contrary, a rubber coat preserves us against its action.

 Fig. 1.—EXPERIMENT UPON THE PERMEABILITY OF BODIES.

Fig. 1.—EXPERIMENT UPON THE PERMEABILITY OF BODIES.

A Hot Air Balloon.—Make a hollow cylinder of small diameter out of a sheet of paper such as is used for cigarette packages, and turn in the ends slightly so that it shall preserve its form. If the cylinder seems too difficult to make, a cone may be substituted. Now set fire to the cylinder or cone at its upper part. The paper will burn and become converted into a thin sheet of ashes, which will contract and curl inward. This light residuum of ashes, being filled with air rarefied by combustion, will suddenly rise to a distance of two or three yards. Here we have a Montgolfier balloon.—La Nature.

 Fig. 2.—PRINCIPLE OF THE HOT AIR BALLOON.

Fig. 2.—PRINCIPLE OF THE HOT AIR BALLOON.


THE CASINO AT MONTE CARLO.

The little city is situated about half way between Nizza and Mentone, and it formerly was the chief city of a principality that belonged to the family Grimaldi. Prince Florestan sold in 1860 his royal prerogatives to the Emperor Napoleon, for three million francs, consequently the land came under the jurisdiction of the French republic, but the city remained in the Prince's possession, who, however, gave to the gambler Blanc the privilege of erecting a gambling house upon the rocky shore of the sea.

 THE CASINO AT MONTE CARLO.

THE CASINO AT MONTE CARLO.

Enormous sums of money were spent to give this isolated cliff its present appearance, covered as it is with beautiful buildings, hotels, and villas, besides the magnificent Casino building, which was erected in 1862. Directly facing the sea, there is a succession of most beautiful gardens and terraces.

But this establishment, which seems like paradise, has had a most disastrous effect upon thousands of persons, and for a long time the subject of influencing the French government to put a stop to this gambling house has been agitated. It can scarcely be imagined how much misery it has already caused. It is evident to every one that the keeper of the bank makes considerable profit, as the chances are 63 times greater in his favor than those of the player.

It is admitted that the profits amount every year to 17 million francs. One can well imagine how many fortunes have been consumed every year to make this profit; but the number cannot be determined.


ON AN EXPRESS ENGINE.

It is a somewhat unpromising morning—the river is dark with fog and the huge arch of the station nearly hidden by mist and steam. A cold, damp wind makes the passengers hurry into the carriages, and strikes us sharply as we step on to the foot-plate of the engine, which has just joined the train. But as we get behind the shelter of the screen, we feel a generous and slightly unctuous sensation of warmth very comforting to a chilly man. The brasswork of the engine shines brilliantly, the footboard has been newly scrubbed, and the driver and stoker stand waiting for the signal. The needle shows that the steam is just below the pressure at which it would begin to blow off; the water in the gauge glass is just where it ought to be; in fact, the engine is in perfect condition and ready for a start. The line is clear, the guard's whistle is answered by our own, and we glide almost imperceptibly past the last few yards of the platform. The driver opens the regulator till he is answered by a few sounding puffs from the funnel, and then stands on the lookout for signals so numerous that one wonders how he can tell which of the many waving arms is raised or lowered for his guidance.

So he goes on, with hand on regulator and lever, gradually admitting more steam as signal after signal comes nearer and then flies past us, till at last we are clear of the suburbs and find ourselves on a gentle incline and a straight road, with the open fields on either side. It is now that the real business of the journey begins. Locomotives are as sensitive and have as many peculiarities as horses, and have to be as carefully studied if you would ride them fast and far. The lever is put into the most suitable notch for working the steam expansively; the driver's hand is on the regulator, not to be removed for the rest of the trip; the furnace door is thrown wide open, and firing begins in earnest. Here it may not be amiss to state, for the benefit of the uninitiated, that the regulator controls the supply of steam from the boiler, while the lever enables the driver to reverse the engine, or, as we have already stated, to expand the steam by cutting it off before the end of the stroke. The engine answers to the appeal like a living thing, and seems, with its steady beat and sonorous blast, to settle down to its work. It is pleasant from our seat in the corner of the screen to see this preparation for the work ahead—the absolute calm of driver and stoker, who exchange no word, but go steadfastly and quietly about their business; to feel the vibrations from the rails beneath throb through one with slowly increasing rapidity, or watch the trees and houses go past as gulls flap past a boat. For there is a certain apparent swagging movement of the objects past which one travels which can only be likened to the peculiar flight of a large sea-bird. But now there are signs of increased activity on the foot-plate; the stoker is busy controlling the feed of water to the boiler, and fires at more frequent intervals; the driver's hand moves oftener as he coaxes and encourages the engine along the road, his slightest gesture betraying the utmost tension of eye and ear; the stations, instead of echoing a long sullen roar as we go through them, flash past us with a sudden rattle, and the engine surges down the line, the train following with hot haste in its wake. We are in a cutting, and the noise is deafening. Looking ahead, we see an apparently impenetrable wall before us. Suddenly the whistle is opened, and we are in one of the longest tunnels in England. The effect produced is the opposite of that with which we are familiar in a railway carriage, for the change is one from darkness to light rather than from light to darkness. The front of the fire-box, foot-plate, and the tender, which had been rather hazily perceived in the whirl of surrounding objects, now strike sharply on the eye, lit up by the blaze from the fire, while overhead we see a glorious canopy of ruddy-glowing steam. The speed is great, and the flames in the fire-box boil up and form eddies like water at the doors of an opening lock. Far ahead we see a white speck, which increases in size till the fierce light from the fire pales, and we are once more in open day. The weather has lifted, the sky is gray, but there is no longer any appearance of mist. The hills on the horizon stand out sharply, and seem to keep pace with us as the miles slip past. The line is clear; but there is an important junction not far distant, and we slacken speed, to insure a prompt pull-up should we find an adverse signal. The junction signals are soon sighted; neither caution nor danger is indicated, and, once clear of the station, we steam ahead as fast as ever. One peculiarity of the view of the line ahead strikes us. Looking at a railroad line from a field or neighboring highway, even where the rails are laid on a steep incline, the rise and fall of the road is not very strikingly apparent. Seen through the weather-glass, the track appears to be laid up hill and down dale, like a path on the downs above high cliffs. Over it all we advance, the engine laboring and puffing on one or two heavy gradients, in spite of a full supply of steam, or tearing down the inclines with hardly any, or none at all and the brake on. And here it may be noted that, like modern men, modern engines have been put upon diet, and are not allowed to indulge in so much victual as their forefathers. The engine-driver, like the doctor of the new school, is determined not to ruin his patient by over-indulgence, and will tell you severely enough that "he will never be guilty of choking his engine with an over-supply of steam." In the mean time, the character of the country we travel through has changed. It has become more open, and there is a stiff sea-breeze, which makes itself distinctly felt through the rush of air produced by the speed at which we are going. We fly past idle streams and ponds, and as the steam swirls over them are disappointed at producing so little effect; but the ducks, their inhabitants, are well used to such visitations, and hardly deign to move a feather. Suddenly we plunge into a series of small chalk cuttings, and on emerging from them find ourselves parallel with a grand line of downs. We speed by a curve or two, and find ourselves on the sea-shore; one more tunnel, and with steam off we go soberly into the last station. But there is one step more. The breeze blows about our ears. Before us the rails are wet, for the sea swept over them not many hours since, and to accomplish the last few yards of our journey the lever controlling the sand-box must be used liberally, to prevent slipping; the signal is given, and at a walking pace we make our way to where the steamer is awaiting us. A gentle application of the brake pulls us up, and the journey is over. It is difficult to realize, as the engine stands quietly under the lee of the pier while the driver examines the machinery, and the fire, burned low, throws out a gentle warmth as we stand before it, that half an hour ago we were tearing along the line at full speed, while the foot-plate that is now so pleasant to lounge on throbbed beneath us. Nothing now remains but to kill time as best we may till the return trip many hours hence. It scarcely promises to be as comfortable as our morning ride, for the weather has changed—it is blowing half a gale, and the rain comes down in sheets. Our train is timed to start in the small hours, and the night seems dirty and depressing enough as we make our way for a cup of coffee to the refreshment room, where a melancholy Italian sits in sad state eating Bath buns and drinking brandy. We walk past the train, laden with miserable sea-sick humanity, and step on the engine, which stands in the dark at the end of the platform. Time is up, and we pass from the dim half-light of the station into outer darkness. A blacker night there could hardly be; looking ahead there is nothing to be seen but one's own reflection in the weather-glass. We are in the midst of obscurity, which suddenly changes to a rich light as the whistle is opened and we enter a tunnel. The effect is far more striking than in the daytime. The light is more concentrated, and the mouth of the tunnel we have just entered might be the entrance to Hades—for there is no telltale spot of light to prove to our senses the existence of any opening at the other end. The sound echoed from the walls and roof has a tremendous quality, and resolves itself into a grand sort of Wagnerian rhythm, making a vast crescendo, till with a rush we clear the tunnel, and are once more under the open sky. The pace is increasing, the steady beat of the engine tells more distinctly on the ear than in the daytime; the foot-plate is lit up by the glare from the fire-door; but still there is nothing to be seen ahead but the impenetrable night. Looking back, however, the scene is very different. The tender and guard's van glow in the light thrown by the fire, trees and houses by the side of the track stand out sharply for a moment and are then lost to sight, the light from the carriage windows produces the effect of the wake of a ship seen from the stern. Gradually the clouds have rolled away, leaving the sky clear. The moon is seen fitfully through the whirling steam; the surrounding country is visible for miles round. The effect produced is unspeakably beautiful. In the mean time let us turn our attention to the working of the engine. In the first place, let us take note that, although the engine we are now on, and that which took us from London, belong to the same type, their performances are somewhat different. No two engines ever resemble each other, no matter how carefully they may have been built from the same plan, neither do any two drivers manage their engines precisely in the same way. We have in this instance an excellent opportunity of comparing two different methods of driving. It is the driver's principal object to get the required amount of work out of his engine with the smallest possible expenditure of coal and water. To obtain this result the steam must be worked expansively, which is done by placing the valve gear in such a position by means of the lever that the supply of steam to the cylinders is cut off, as we have stated at the beginning of this article, before the piston has accomplished its full stroke. There are two ways of controlling the speed of an engine worked, as all locomotives are worked now, expansively. You may keep the regulator wide open, so that there is always a full supply of steam on its way to the cylinders, in which case you increase or diminish the speed by using the steam more or less expansively through the agency of the lever. Or you may work with the same amount of expansion throughout the journey, and have command of the engine by constantly changing the position of the regulator. There is no doubt that the men who employ the latter method save something by it, although this would hardly seem to be the opinion of the driver who is bringing us rapidly nearer to London, for unlike the driver whom we accompanied on the daylight journey, his hand is not often on the regulator. As we rush on past countless signals, punctual to the minute, yet always having ample time to slacken speed before we come to the places where the different colored lights cluster thickest, we are reminded once more how much is required of an express engine-man besides a thorough acquaintance with the machinery he has to control. Traveling at night at a great speed, he must know every inch of the road by heart—where an incline begins and where it ends, and the exact spot at which every signal along the line may be first sighted. He must have completely mastered the working of the traffic on both the up and down lines, and, above all, must be ready to act with the utmost promptitude should anything go wrong. Mr. Michael Reynolds' publications have done much toward enlightening the public on these points, but we doubt if there are many who really know the amount of toil and danger cheerfully faced by the men on the engine, who hold their lives in their hands day after day for many years. These thoughts occur to us as we recross the Thames and pull up at the platform after a thoroughly enjoyable run.—Saturday Review.


The mucilage on postage stamps may not be unhealthy, but persons having a good many to affix to letter envelopes, circulars, newspapers, or other wrappers every day, will consume considerable gum during a year. A less objectionable mode of affixing stamps than the one usually employed is to wet the upper right hand corner of the envelope, and press the stamp upon it. It will be found to adhere quite as well as if the stamp went through the moistening process.


ERYTHROXYLON.[1]

COCA.

The condition of the principal markets of the world for this drug has recently been exceptionally bad. That is, whether good coca was sought for in the ports of Central and South America, or in London, Hamburg, or New York, the search, even without limitation in price, was almost invariably unsuccessful. Not that the drug, independent of quality, was scarce, for hundreds of bales were accessible at all times; but the quality was so poor as to be quite unfit for use. The samples, instead of being green and fragrant, were brown and odorless, or musty and disagreeable, at once condemning the lots they represented, to the most casual observation, and yet the price was high enough to have represented a good article. The best that could be done by the most careful buyers was to accept occasional parcels, the best of which were of very inferior quality, and therefore unfit for medicinal uses, and these at very high prices. Coca is well known to be a very sensitive and perishable drug, only fit for its somewhat equivocal uses when fresh and green, and well cared for in packing and transportation. Very much like tea in this and other respects, it should be packed and transported with the same care and pains, in leaded chests, or in some equivalent package. It is very well known that tea, if managed, transported, handled, and sold as coca is, would be nearly or quite worthless, and therefore coca managed as the great mass of it is must be nearly all of it comparatively worthless. If used as tea is, this would probably soon appear; but when used as a medicine which has been highly extolled and well advertised, it seems to go on equally well whether of good or bad quality. It is pretty safe to say that nineteen-twentieths of the coca seen in this market within the past two years must be almost inert and valueless, yet all is sold and used, and its reputation as a therapeutic agent is pretty well kept up. At least many thousands of pounds of the brown ill-smelling leaf, and of preparations made from it, are annually sold. And worse than this, considerable quantities of a handsome looking green leaf, well put up and well taken care of, have been sold and used as coca, when wanting in nearly all its characteristics.

The writer for more than a year past has seen but one or two small lots of moderately good coca, and in common with other buyers has been obliged to buy the best that could be found to keep up his supply of the fluid extract. Almost every purchase has been made on mental protest, and he has been ashamed of every pound of fluid extract sent out, from the knowledge that it was of poor quality; and there seems to be no more prospect of a supply of better quality than there was this time last year, because so long as an inferior quality sells in such enormous quantities at good prices the demands of trade are satisfied.

Under this condition of the markets, the writer has finally decided to give up making a fluid extract of coca, and has left it off his list, adopting a fluid extract of tea instead, as a superior substitute, for those who may choose to use it, and regrets that this course was not taken a year ago.

The character of coca as a therapeutic agent is not very good. The florid stories of a multitude of travelers and writers, up to and including the testimony of Dr. Mantegazza, received a considerable support from so good an authority as Sir Robert Christison, who reported very definite results from trials made upon himself, and upon several students under his immediate control and observation; and his results seem to have led to a very careful and exhaustive series of observations at University College, London, by Mr. Dowdeswell. This paper, published in The Lancet of April 29 and May 6, 1876, pp. 631 and 664, is entitled "The Coca Leaf: Observations on the Properties and Action of the Leaf of the Coca Plant (Erythroxylon coca), made in the Physiological Laboratory of University College, by G.F. Dowdeswell, B.A." The results of these investigations were absolutely negative, and at the close of the work the investigator says: "Without asserting that it is positively inert, it is concluded from these experiments that its action is so slight as to preclude the idea of its having any value either therapeutically or popularly; and it is the belief of the writer, from observation upon the effect on the pulse, etc., of tea, milk and water, and even plain water, hot, tepid, and cold, that such things may, at slightly different temperatures, produce a more decided effect than even large doses of coca, if taken at about the temperature of the body."

Conflicting and contradictory testimony from competent authority is not uncommon in therapeutics, and the reasons for it are well recognized in the impossibility of an equality in the conditions and circumstances of the investigations, and hence the general decision commonly reached is upon the principle of averages.

There can hardly be a reasonable doubt that coca, in common with tea and coffee and other similar articles, has a refreshing, recuperative, and sustaining effect upon human beings, and when well cultivated, well cured, and well preserved, so as to reach its uses of good quality and in good condition, it is at least equal to good tea, and available for important therapeutic uses. Mr. Dowdeswell supposed that he used good coca, but it is very easy to see that with any amount of care and pains he may have been mistaken in this. Had he but used the same parcel of coca that Sir Robert Christison did, the results of the two observers would be absolutely incomprehensible; and the results, in the absence of any testimony on that point, simply prove that the two observers were using a different article, though under the same name, and possibly with the same care in selection. On Sir Robert Christison's side of the question there are many competent observers whose testimony is spread over many years; while on Mr. Dowdeswell's side there are fewer observers. But there has been no observer on either side whose researches have been anything like so thorough, so extended, or so accurate as those of Mr. Dowdeswell. Indeed, no other account has been met with wherein the modern methods of precision have been applied to the question at all; the other testimony being all rather loose and indefinite, often at second or third hands, or from the narratives of more or less enthusiastic travelers. But if Mr. Dowdeswell's results be accepted as being conclusive, the annual consumption of 40,000,000 pounds of coca at a cost of 10,000,000 dollars promotes this substance to take rank among the large economic blunders of the age.[2]

The testimony in regard to the effects of tea, coffee, Paraguay tea, Guarana and Kola nuts, is all of a similar character to that upon coca. Each of these substances seems to have come into use independently, in widely separated countries, to produce the same effects, namely, to refresh, renew, or sustain the physical and mental organism, and it was a curious surprise to find, after they had all been thus long used, that although each came from a different natural order of plants, the same active principle—namely, caffeine—could be extracted in different proportions from all. It is now still more curious, however, to find that for centuries another plant, namely coca, yielding a different principle, has been in use for similar purposes, the effects of which differ as little from those of tea, coffee, etc., as these do among themselves. Yet cocaine is chemically very different from caffeine, simply producing a similar physiological effect in much smaller doses. All these substances in their natural condition seem to be identical in their general physiological effect, but idiosyncrasy, or different individual impressibility or sensitiveness, causes a different action, as well in quality as in degree from the different substances, upon some persons.

In order to throw a little additional light on the comparative activity of the principal individuals of this group of substances, the following trials were made. It is generally admitted, and is probably true, that the same power in these agents which refreshes, recuperates, and sustains in the condition which needs or requires such effects also counteracts the tendency to sleep, or produces wakefulness when a tendency to sleep exists; and, therefore, if a tendency or disposition to sleep could be prevented by these agents, this tendency might be used as a measure of their effects when used in varying quantities, and thus measure the agents against each other for dose or quantitative effect. In this way the proposition is to first measure coca against tea, then coffee against guarana, and finally to compare the four agents, using pure caffeine as a kind of standard to measure by.

An opportunity for such trials occurred in a healthy individual sixty-five years old, not habituated to the use of either tea, coffee, tobacco, or any other narcotic substances, of good physical condition and regular habits, and not very susceptible or sensitive to the action of nervines or so-called anti-spasmodics. Quantities of preparations of valerian, asafoetida, compound spirit of ether, etc., which would yield a prompt effect upon many individuals seem to have little or no effect upon him, nor do moderate quantities of wines or spirits stimulate him. That is to say, he has not a very impressible nervous organization, is not imaginative, nor very liable to accept results on insufficient or partial evidence.

Fully occupied with work, both physical and mental in due proportion, for more than ten hours every secular day, when evening comes he finds himself unable to read long on account of a drowsiness supposed to be of a purely physiological character. With a full breakfast at about 7:30, a full dinner at about 2:30, and a light evening meal about 7, and no stimulants, or tea, or coffee at any time, he finds, as a matter of not invariable but general habit, that by half past 8 drowsiness becomes so dominant that it becomes almost impossible, and generally impracticable, to avoid falling asleep in his chair while attempting to read, even though ordinary conversation be carried on around him.

The first trial to combat or prevent this drowsiness was made with caffeine. The first specimen used was a very beautiful article made by Merck of Darmstadt, and after that by pure specimens made for the purpose, the two kinds being found identical in effect.

Commencing with a one grain dose at about 6:30 P.M., on alternate evenings, leaving the intermediate evenings in order to be sure that the nightly tendency still persisted, and increasing by half a grain each alternate evening, no very definite effect was perceived, until the dose reached 2½ grains, and this dose simply rendered the tendency to sleep resistible by effort. After an interval of three evenings, with the tendency to sleep recurring with somewhat varying force each evening, a dose of 3 grains was taken, the maximum single dose of the German Pharmacopoeia. This gave a comfortable evening of restedness, without sleep or any very strong tendency to it until ten o'clock. Without anything to counteract sleep, the rule was to read with difficulty by nine, without much comprehension by quarter past nine, and either be asleep or go to bed by half past nine. The 3 grain dose of caffeine repeatedly obviated all this discomfort up to ten o'clock, but did not prevent the habitual, prompt, and sound sleep, from the time of going to bed till morning.

This was the model established, upon and by which to measure all the other agents, and they were never taken nearer than on alternate evenings, with occasional longer intervals, especially when the final doses of record were to be taken.

The next agent tried in precisely this same way was coca; and knowing that the quality of that which was attainable was very low, the commencing dose of the leaf in substance was 2 drachms, or about 8 grammes. This gave no very definite effect, but 2½ drachms did give a definite effect, and a subsequent dose of 2½ fluid drachms of a well made fluid extract of coca gave about the same effect as 2½ grains of caffeine. Three fluid drachms of the fluid extract were about equivalent to 3 grains of caffeine.

Both the coca used and the fluid extract were then assayed by the modern methods, for the proportion of the alkaloid they contained.

The only assays of coca that could be found conveniently were those of Dr. Albert Niemann, of Goslar, given in the American Journal of Pharmacy, vol. xxxiii., p. 222, who obtained 0.25 per cent.; and of Prof. Jno. M. Maisch, in the same volume of the same journal, p. 496, who obtained 4 grains of alkaloid from 1,500 grains of coca, which is also about a quarter of one per cent. These assays were, however, very old, and made by the old process. The process used by the writer was the more modern one of Dragendorff slightly modified. It was as follows:

Thirty grammes of powdered coca, thoroughly mixed in a mortar with 8 grammes of caustic magnesia, were stirred into 200 c.c. of boiling water, and the mixture boiled for ten minutes. The liquid was filtered off, and the residue percolated with about 60 c.c. of water. It was then again stirred into 150 c.c. of boiling water, and was again boiled and percolated until apparently thoroughly exhausted. The total liquid, amounting to more than 600 c.c., was evaporated on a water-bath, commencing with the weaker portions, so that the stronger ones might be exposed to the heat for the shortest time, until reduced to about 20 c.c. This liquid extract was transferred to a flask, and vigorously shaken with 50 c.c. of strong ether. The ether was poured off, as closely as practicable, into a tared capsule, where it was allowed to evaporate spontaneously. A second and third portion of ether, each of 50 c.c., were used in the same way, and the whole evaporated to dryness in the capsule. A scanty, greenish, oily residue was left in the capsule, in which there was no appearance of a crystallized alkaloid. The capsule and contents were then weighed and the weight noted. The oily residue was then repeatedly washed with small quantities of water, until the washings no longer affected litmus-paper. The oily matter adhered to the capsule during this process, no part of it coming off with the washing, and at the end of the washing the capsule and contents were again dried and weighed, and the weight subtracted from the original weight. The difference was taken as the alkaloid cocaine, and it amounted to 0.077 grm., equal to 0.26 per cent.

Several preliminary assays were made in reaching this method. Some authorities recommend the very finely powdered mixture of coca and magnesia, or coca and lime, to be at once exhausted with ether. Others recommend that the mixture be made into a paste with water, and after drying on a water-bath that it be then exhausted with ether. This is better, but neither of these methods were satisfactory.

Finally, 30 c.c. of a well made fluid extract of the same coca was thoroughly mixed with 8 grms. of caustic magnesia in a capsule, and the mixture dried on a water-bath and powdered. This powder was then exhausted, one part by ether and the other part by chloroform, exactly as in the method given, both parts giving very slightly higher results. As a check upon the results, the solution of alkaloid washed out was titrated with normal solution of oxalic acid.

From all this it would appear that this inferior coca of the markets, or rather the best that can be selected from it, yields about the same proportion of the alkaloid as was obtained by Niemann and Maisch, but it has been shown that, by the older processes of assay used by them, much of the alkaloid was probably lost or destroyed, and that much better results are generally obtained by the modern process.

Now, since 3 drachms of this coca, or three fluid drachms of its fluid extract, gave the same physiological, or perhaps therapeutical, effect as 3 grains of caffeine, and as the 3 drachms contained about 0.45 grain of cocaine, it follows that cocaine is about 6.5 times more effective than caffeine; but it also follows that the coca accessible, and even the very best coca, contains very much less of its alkaloid than those articles which yield caffeine do of that principle.

[1]
From an "Ephemeris of Materia Medica, Pharmacy, Therapeutics, and Collateral Information." By Edward E. Squibb, M.D., Edward H. Squibb, S.B., M.D., and Charles F. Squibb, A.B.
[2]
An excellent summing up of the character and history of coca, from which some of the writer's information has been obtained, will be found in "Medicinal Plants," by Bentley and Trimen, vol. i., article 40.

THE MELLOCO.

ULLUCUS TUBEROSA.—Early last year two tubers of this plant were received at Kew from Caracas, and from out of doors in a prepared bed in June. The result of this experiment, together with a few particulars as to the esculent properties of the tubers, may be worth recording, as I believe several gardeners, among them being the Messrs. Sutton, have obtained tubers of the Ullucus from Kew with a view to giving it a trial. The two Caracas tubers mentioned above were as large as hens' eggs, rather longer, and somewhat flattened; the skin was red, as in some potatoes. These, when placed in heat, rapidly developed shoots, which were removed as soon as they were strong enough to form cuttings; in this way about a hundred sturdy young plants were obtained and made ready for planting out of doors in June. They were planted in a light, sandy, well manured soil in a position exposed to full sunshine. Here they grew quickly, forming by the middle of August tufts of shoots and leaves one foot across. They were earthed up as for potatoes, and the strongest shoots were pegged down and partly covered with soil, though the latter proved unnecessary. At this time there were no tubers nor any signs of them. On again examining the plants in September (about the middle), we were surprised to find no tubers had yet been formed. The plants were now very strong, and it was therefore concluded that instead of forming tubers the strength of the plants had "run to leaves." We gave them up, no further notice being taken of them till the frost came, when on perceiving that a frost of four or five degrees did not injure the foliage, we again examined the plants, and found an abundant crop of tubers just below the surface of the soil, and varying in size from that of peas to pigeons' eggs. The plants were left till the haulms had been destroyed by cold, after which the tubers were gathered. On cooking some of the larger ones by boiling for half an hour, we found them still rather hard, and with a flavor of potatoes, almost concealed under a strong earthy taste, quite disagreeable and soap-like. Considering how short a time these tubers had had to grow in it is not improbable that their hardness and disagreeable taste were owing to their being unripe; no doubt young, green potatoes (these Ullucus tubers were partly green) would be quite as nauseous as these were.

 MELLOCO TUBERS.

MELLOCO TUBERS.

We are told that the Ullucus is extensively cultivated in Peru and Bolivia, in the elevated regions where the common potato also thrives, and with which the Ullucus is equally popular as a tuber-yielding plant. In the Gardeners' Chronicle for 1848, p. 862, Mr. J.B. Pentland stated that the Ullucus "is planted in July or August, the seed employed being generally the smaller tubers, unfit for food, and is gathered in during the last week of April. These two periods of the year are the spring and autumn in the southern hemisphere. The mode of cultivation is in drills, into which the root is dropped, with a little manure. The climate, even during the summer season, is severe, scarcely a night passing over without the streams being frozen over, the sky being in general cloudless at all periods of the year except during the rainy season (December to March). Mean temperature about 49°." This information seems to support the view formed of this plant from its behavior at Kew last year, namely, that the tubers are formed on the approach of cold weather, and that, so long as the weather is warm and bright, leaves only are developed. Plants grown in houses where the temperature has not been allowed to fall below 50° in winter did not form any tubers, although they were in good health. We found no tubers on the plants grown out of doors till some time after the return of cold, wet weather. It seems likely that this plant does not develop tubers unless its existence is threatened by cold; at all events, such a conclusion seems reasonable from the above statements.

Possibly a wet and rather cold autumn would be favorable to this plant and the production of its tubers—such a season, for instance, as would be most unfavorable for the common potato. It would be worth while testing the Ullucus for low and cold situations where the potato would not thrive. There is not much probability of the former ever proving a substitute for or even a rival to the potato, at least in this country; but there is room for another good esculent, and the Ullucus is prolific enough, hardy enough, and, we suppose, when properly grown, palatable enough to be worthy a trial. In the Gardeners' Chronicle for 1848, p. 828, will be found a most interesting detailed account of experiments made with this plant in France by M. Louis Vilmorin.—W. Waston, Kew; The Gardeners' Chronicle.


A catalogue, containing brief notices of many important scientific papers heretofore published in the SUPPLEMENT, may be had gratis at this office.


THE SCIENTIFIC AMERICAN SUPPLEMENT.

PUBLISHED WEEKLY.

Terms of Subscription, $5 a Year.

Sent by mail, postage prepaid, to subscribers in any part of the United States or Canada. Six dollars a year, sent, prepaid, to any foreign country.

All the back numbers of THE SUPPLEMENT, from the commencement, January 1, 1876, can be had. Price, 10 cents each.

All the back volumes of THE SUPPLEMENT can likewise be supplied. Two volumes are issued yearly. Price of each volume, $2.50, stitched in paper, or $3.50, bound in stiff covers.

COMBINED RATES—One copy of SCIENTIFIC AMERICAN and one copy of SCIENTIFIC AMERICAN SUPPLEMENT, one year, postpaid, $7.00.

A liberal discount to booksellers, news agents, and canvassers.

MUNN & CO., Publishers,

361 Broadway, New York, N.Y.


PATENTS.

In connection with the Scientific American, Messrs. MUNN & Co. are Solicitors of American and Foreign Patents, have had 40 years' experience, and now have the largest establishment in the world. Patents are obtained on the best terms.

A special notice is made in the Scientific American of all Inventions patented through this Agency, with the name and residence of the Patentee. By the immense circulation thus given, public attention is directed to the merits of the new patent, and sales or introduction often easily effected.

Any person who has made a new discovery or invention can ascertain, free of charge, whether a patent can probably be obtained, by writing to MUNN & Co.

We also send free our Hand Book about the Patent Laws, Patents, Caveats, Trade Marks, their costs, and how procured. Address

MUNN & CO., 361 Broadway, New York.

Branch Office, cor. F and 7th Sts., Washington, D.C.






End of the Project Gutenberg EBook of Scientific American Supplement, No.
492, June 6, 1885, by Various

*** END OF THIS PROJECT GUTENBERG EBOOK SCIENTIFIC AMERICAN ***

***** This file should be named 12490-h.htm or 12490-h.zip *****
This and all associated files of various formats will be found in:
        https://www.gutenberg.org/1/2/4/9/12490/

Produced by Don Kretz, Juliet Sutherland, Charles Franks and the DP Team

Updated editions will replace the previous one--the old editions
will be renamed.

Creating the works from public domain print editions means that no
one owns a United States copyright in these works, so the Foundation
(and you!) can copy and distribute it in the United States without
permission and without paying copyright royalties.  Special rules,
set forth in the General Terms of Use part of this license, apply to
copying and distributing Project Gutenberg-tm electronic works to
protect the PROJECT GUTENBERG-tm concept and trademark.  Project
Gutenberg is a registered trademark, and may not be used if you
charge for the eBooks, unless you receive specific permission.  If you
do not charge anything for copies of this eBook, complying with the
rules is very easy.  You may use this eBook for nearly any purpose
such as creation of derivative works, reports, performances and
research.  They may be modified and printed and given away--you may do
practically ANYTHING with public domain eBooks.  Redistribution is
subject to the trademark license, especially commercial
redistribution.



*** START: FULL LICENSE ***

THE FULL PROJECT GUTENBERG LICENSE
PLEASE READ THIS BEFORE YOU DISTRIBUTE OR USE THIS WORK

To protect the Project Gutenberg-tm mission of promoting the free
distribution of electronic works, by using or distributing this work
(or any other work associated in any way with the phrase "Project
Gutenberg"), you agree to comply with all the terms of the Full Project
Gutenberg-tm License (available with this file or online at
https://gutenberg.org/license).


Section 1.  General Terms of Use and Redistributing Project Gutenberg-tm
electronic works

1.A.  By reading or using any part of this Project Gutenberg-tm
electronic work, you indicate that you have read, understand, agree to
and accept all the terms of this license and intellectual property
(trademark/copyright) agreement.  If you do not agree to abide by all
the terms of this agreement, you must cease using and return or destroy
all copies of Project Gutenberg-tm electronic works in your possession.
If you paid a fee for obtaining a copy of or access to a Project
Gutenberg-tm electronic work and you do not agree to be bound by the
terms of this agreement, you may obtain a refund from the person or
entity to whom you paid the fee as set forth in paragraph 1.E.8.

1.B.  "Project Gutenberg" is a registered trademark.  It may only be
used on or associated in any way with an electronic work by people who
agree to be bound by the terms of this agreement.  There are a few
things that you can do with most Project Gutenberg-tm electronic works
even without complying with the full terms of this agreement.  See
paragraph 1.C below.  There are a lot of things you can do with Project
Gutenberg-tm electronic works if you follow the terms of this agreement
and help preserve free future access to Project Gutenberg-tm electronic
works.  See paragraph 1.E below.

1.C.  The Project Gutenberg Literary Archive Foundation ("the Foundation"
or PGLAF), owns a compilation copyright in the collection of Project
Gutenberg-tm electronic works.  Nearly all the individual works in the
collection are in the public domain in the United States.  If an
individual work is in the public domain in the United States and you are
located in the United States, we do not claim a right to prevent you from
copying, distributing, performing, displaying or creating derivative
works based on the work as long as all references to Project Gutenberg
are removed.  Of course, we hope that you will support the Project
Gutenberg-tm mission of promoting free access to electronic works by
freely sharing Project Gutenberg-tm works in compliance with the terms of
this agreement for keeping the Project Gutenberg-tm name associated with
the work.  You can easily comply with the terms of this agreement by
keeping this work in the same format with its attached full Project
Gutenberg-tm License when you share it without charge with others.

1.D.  The copyright laws of the place where you are located also govern
what you can do with this work.  Copyright laws in most countries are in
a constant state of change.  If you are outside the United States, check
the laws of your country in addition to the terms of this agreement
before downloading, copying, displaying, performing, distributing or
creating derivative works based on this work or any other Project
Gutenberg-tm work.  The Foundation makes no representations concerning
the copyright status of any work in any country outside the United
States.

1.E.  Unless you have removed all references to Project Gutenberg:

1.E.1.  The following sentence, with active links to, or other immediate
access to, the full Project Gutenberg-tm License must appear prominently
whenever any copy of a Project Gutenberg-tm work (any work on which the
phrase "Project Gutenberg" appears, or with which the phrase "Project
Gutenberg" is associated) is accessed, displayed, performed, viewed,
copied or distributed:

This eBook is for the use of anyone anywhere at no cost and with
almost no restrictions whatsoever.  You may copy it, give it away or
re-use it under the terms of the Project Gutenberg License included
with this eBook or online at www.gutenberg.org

1.E.2.  If an individual Project Gutenberg-tm electronic work is derived
from the public domain (does not contain a notice indicating that it is
posted with permission of the copyright holder), the work can be copied
and distributed to anyone in the United States without paying any fees
or charges.  If you are redistributing or providing access to a work
with the phrase "Project Gutenberg" associated with or appearing on the
work, you must comply either with the requirements of paragraphs 1.E.1
through 1.E.7 or obtain permission for the use of the work and the
Project Gutenberg-tm trademark as set forth in paragraphs 1.E.8 or
1.E.9.

1.E.3.  If an individual Project Gutenberg-tm electronic work is posted
with the permission of the copyright holder, your use and distribution
must comply with both paragraphs 1.E.1 through 1.E.7 and any additional
terms imposed by the copyright holder.  Additional terms will be linked
to the Project Gutenberg-tm License for all works posted with the
permission of the copyright holder found at the beginning of this work.

1.E.4.  Do not unlink or detach or remove the full Project Gutenberg-tm
License terms from this work, or any files containing a part of this
work or any other work associated with Project Gutenberg-tm.

1.E.5.  Do not copy, display, perform, distribute or redistribute this
electronic work, or any part of this electronic work, without
prominently displaying the sentence set forth in paragraph 1.E.1 with
active links or immediate access to the full terms of the Project
Gutenberg-tm License.

1.E.6.  You may convert to and distribute this work in any binary,
compressed, marked up, nonproprietary or proprietary form, including any
word processing or hypertext form.  However, if you provide access to or
distribute copies of a Project Gutenberg-tm work in a format other than
"Plain Vanilla ASCII" or other format used in the official version
posted on the official Project Gutenberg-tm web site (www.gutenberg.org),
you must, at no additional cost, fee or expense to the user, provide a
copy, a means of exporting a copy, or a means of obtaining a copy upon
request, of the work in its original "Plain Vanilla ASCII" or other
form.  Any alternate format must include the full Project Gutenberg-tm
License as specified in paragraph 1.E.1.

1.E.7.  Do not charge a fee for access to, viewing, displaying,
performing, copying or distributing any Project Gutenberg-tm works
unless you comply with paragraph 1.E.8 or 1.E.9.

1.E.8.  You may charge a reasonable fee for copies of or providing
access to or distributing Project Gutenberg-tm electronic works provided
that

- You pay a royalty fee of 20% of the gross profits you derive from
     the use of Project Gutenberg-tm works calculated using the method
     you already use to calculate your applicable taxes.  The fee is
     owed to the owner of the Project Gutenberg-tm trademark, but he
     has agreed to donate royalties under this paragraph to the
     Project Gutenberg Literary Archive Foundation.  Royalty payments
     must be paid within 60 days following each date on which you
     prepare (or are legally required to prepare) your periodic tax
     returns.  Royalty payments should be clearly marked as such and
     sent to the Project Gutenberg Literary Archive Foundation at the
     address specified in Section 4, "Information about donations to
     the Project Gutenberg Literary Archive Foundation."

- You provide a full refund of any money paid by a user who notifies
     you in writing (or by e-mail) within 30 days of receipt that s/he
     does not agree to the terms of the full Project Gutenberg-tm
     License.  You must require such a user to return or
     destroy all copies of the works possessed in a physical medium
     and discontinue all use of and all access to other copies of
     Project Gutenberg-tm works.

- You provide, in accordance with paragraph 1.F.3, a full refund of any
     money paid for a work or a replacement copy, if a defect in the
     electronic work is discovered and reported to you within 90 days
     of receipt of the work.

- You comply with all other terms of this agreement for free
     distribution of Project Gutenberg-tm works.

1.E.9.  If you wish to charge a fee or distribute a Project Gutenberg-tm
electronic work or group of works on different terms than are set
forth in this agreement, you must obtain permission in writing from
both the Project Gutenberg Literary Archive Foundation and Michael
Hart, the owner of the Project Gutenberg-tm trademark.  Contact the
Foundation as set forth in Section 3 below.

1.F.

1.F.1.  Project Gutenberg volunteers and employees expend considerable
effort to identify, do copyright research on, transcribe and proofread
public domain works in creating the Project Gutenberg-tm
collection.  Despite these efforts, Project Gutenberg-tm electronic
works, and the medium on which they may be stored, may contain
"Defects," such as, but not limited to, incomplete, inaccurate or
corrupt data, transcription errors, a copyright or other intellectual
property infringement, a defective or damaged disk or other medium, a
computer virus, or computer codes that damage or cannot be read by
your equipment.

1.F.2.  LIMITED WARRANTY, DISCLAIMER OF DAMAGES - Except for the "Right
of Replacement or Refund" described in paragraph 1.F.3, the Project
Gutenberg Literary Archive Foundation, the owner of the Project
Gutenberg-tm trademark, and any other party distributing a Project
Gutenberg-tm electronic work under this agreement, disclaim all
liability to you for damages, costs and expenses, including legal
fees.  YOU AGREE THAT YOU HAVE NO REMEDIES FOR NEGLIGENCE, STRICT
LIABILITY, BREACH OF WARRANTY OR BREACH OF CONTRACT EXCEPT THOSE
PROVIDED IN PARAGRAPH F3.  YOU AGREE THAT THE FOUNDATION, THE
TRADEMARK OWNER, AND ANY DISTRIBUTOR UNDER THIS AGREEMENT WILL NOT BE
LIABLE TO YOU FOR ACTUAL, DIRECT, INDIRECT, CONSEQUENTIAL, PUNITIVE OR
INCIDENTAL DAMAGES EVEN IF YOU GIVE NOTICE OF THE POSSIBILITY OF SUCH
DAMAGE.

1.F.3.  LIMITED RIGHT OF REPLACEMENT OR REFUND - If you discover a
defect in this electronic work within 90 days of receiving it, you can
receive a refund of the money (if any) you paid for it by sending a
written explanation to the person you received the work from.  If you
received the work on a physical medium, you must return the medium with
your written explanation.  The person or entity that provided you with
the defective work may elect to provide a replacement copy in lieu of a
refund.  If you received the work electronically, the person or entity
providing it to you may choose to give you a second opportunity to
receive the work electronically in lieu of a refund.  If the second copy
is also defective, you may demand a refund in writing without further
opportunities to fix the problem.

1.F.4.  Except for the limited right of replacement or refund set forth
in paragraph 1.F.3, this work is provided to you 'AS-IS', WITH NO OTHER
WARRANTIES OF ANY KIND, EXPRESS OR IMPLIED, INCLUDING BUT NOT LIMITED TO
WARRANTIES OF MERCHANTIBILITY OR FITNESS FOR ANY PURPOSE.

1.F.5.  Some states do not allow disclaimers of certain implied
warranties or the exclusion or limitation of certain types of damages.
If any disclaimer or limitation set forth in this agreement violates the
law of the state applicable to this agreement, the agreement shall be
interpreted to make the maximum disclaimer or limitation permitted by
the applicable state law.  The invalidity or unenforceability of any
provision of this agreement shall not void the remaining provisions.

1.F.6.  INDEMNITY - You agree to indemnify and hold the Foundation, the
trademark owner, any agent or employee of the Foundation, anyone
providing copies of Project Gutenberg-tm electronic works in accordance
with this agreement, and any volunteers associated with the production,
promotion and distribution of Project Gutenberg-tm electronic works,
harmless from all liability, costs and expenses, including legal fees,
that arise directly or indirectly from any of the following which you do
or cause to occur: (a) distribution of this or any Project Gutenberg-tm
work, (b) alteration, modification, or additions or deletions to any
Project Gutenberg-tm work, and (c) any Defect you cause.


Section  2.  Information about the Mission of Project Gutenberg-tm

Project Gutenberg-tm is synonymous with the free distribution of
electronic works in formats readable by the widest variety of computers
including obsolete, old, middle-aged and new computers.  It exists
because of the efforts of hundreds of volunteers and donations from
people in all walks of life.

Volunteers and financial support to provide volunteers with the
assistance they need, is critical to reaching Project Gutenberg-tm's
goals and ensuring that the Project Gutenberg-tm collection will
remain freely available for generations to come.  In 2001, the Project
Gutenberg Literary Archive Foundation was created to provide a secure
and permanent future for Project Gutenberg-tm and future generations.
To learn more about the Project Gutenberg Literary Archive Foundation
and how your efforts and donations can help, see Sections 3 and 4
and the Foundation web page at https://www.pglaf.org.


Section 3.  Information about the Project Gutenberg Literary Archive
Foundation

The Project Gutenberg Literary Archive Foundation is a non profit
501(c)(3) educational corporation organized under the laws of the
state of Mississippi and granted tax exempt status by the Internal
Revenue Service.  The Foundation's EIN or federal tax identification
number is 64-6221541.  Its 501(c)(3) letter is posted at
https://pglaf.org/fundraising.  Contributions to the Project Gutenberg
Literary Archive Foundation are tax deductible to the full extent
permitted by U.S. federal laws and your state's laws.

The Foundation's principal office is located at 4557 Melan Dr. S.
Fairbanks, AK, 99712., but its volunteers and employees are scattered
throughout numerous locations.  Its business office is located at
809 North 1500 West, Salt Lake City, UT 84116, (801) 596-1887, email
business@pglaf.org.  Email contact links and up to date contact
information can be found at the Foundation's web site and official
page at https://pglaf.org

For additional contact information:
     Dr. Gregory B. Newby
     Chief Executive and Director
     gbnewby@pglaf.org

Section 4.  Information about Donations to the Project Gutenberg
Literary Archive Foundation

Project Gutenberg-tm depends upon and cannot survive without wide
spread public support and donations to carry out its mission of
increasing the number of public domain and licensed works that can be
freely distributed in machine readable form accessible by the widest
array of equipment including outdated equipment.  Many small donations
($1 to $5,000) are particularly important to maintaining tax exempt
status with the IRS.

The Foundation is committed to complying with the laws regulating
charities and charitable donations in all 50 states of the United
States.  Compliance requirements are not uniform and it takes a
considerable effort, much paperwork and many fees to meet and keep up
with these requirements.  We do not solicit donations in locations
where we have not received written confirmation of compliance.  To
SEND DONATIONS or determine the status of compliance for any
particular state visit https://pglaf.org

While we cannot and do not solicit contributions from states where we
have not met the solicitation requirements, we know of no prohibition
against accepting unsolicited donations from donors in such states who
approach us with offers to donate.

International donations are gratefully accepted, but we cannot make
any statements concerning tax treatment of donations received from
outside the United States.  U.S. laws alone swamp our small staff.

Please check the Project Gutenberg Web pages for current donation
methods and addresses.  Donations are accepted in a number of other
ways including including checks, online payments and credit card
donations.  To donate, please visit: https://pglaf.org/donate


Section 5.  General Information About Project Gutenberg-tm electronic
works.

Professor Michael S. Hart was the originator of the Project Gutenberg-tm
concept of a library of electronic works that could be freely shared
with anyone.  For thirty years, he produced and distributed Project
Gutenberg-tm eBooks with only a loose network of volunteer support.

Project Gutenberg-tm eBooks are often created from several printed
editions, all of which are confirmed as Public Domain in the U.S.
unless a copyright notice is included.  Thus, we do not necessarily
keep eBooks in compliance with any particular paper edition.

Each eBook is in a subdirectory of the same number as the eBook's
eBook number, often in several formats including plain vanilla ASCII,
compressed (zipped), HTML and others.

Corrected EDITIONS of our eBooks replace the old file and take over
the old filename and etext number.  The replaced older file is renamed.
VERSIONS based on separate sources are treated as new eBooks receiving
new filenames and etext numbers.

Most people start at our Web site which has the main PG search facility:

     https://www.gutenberg.org

This Web site includes information about Project Gutenberg-tm,
including how to make donations to the Project Gutenberg Literary
Archive Foundation, how to help produce our new eBooks, and how to
subscribe to our email newsletter to hear about new eBooks.

EBooks posted prior to November 2003, with eBook numbers BELOW #10000,
are filed in directories based on their release date.  If you want to
download any of these eBooks directly, rather than using the regular
search system you may utilize the following addresses and just
download by the etext year. For example:

     https://www.gutenberg.org/etext06

    (Or /etext 05, 04, 03, 02, 01, 00, 99,
     98, 97, 96, 95, 94, 93, 92, 92, 91 or 90)

EBooks posted since November 2003, with etext numbers OVER #10000, are
filed in a different way.  The year of a release date is no longer part
of the directory path.  The path is based on the etext number (which is
identical to the filename).  The path to the file is made up of single
digits corresponding to all but the last digit in the filename.  For
example an eBook of filename 10234 would be found at:

     https://www.gutenberg.org/1/0/2/3/10234

or filename 24689 would be found at:
     https://www.gutenberg.org/2/4/6/8/24689

An alternative method of locating eBooks:
     https://www.gutenberg.org/GUTINDEX.ALL