*** START OF THE PROJECT GUTENBERG EBOOK 63094 ***

[ 1 ]

Farmers' Bulletin No. 1227
United States Department of Agriculture

SEWAGE and
SEWERAGE
of FARM
HOMES

[ 2 ]

DISPOSAL OF FARM SEWAGE in a clean manner is always an important problem. The aims of this bulletin are twofold: (1) To emphasize basic principles of sanitation; (2) to give directions for constructing and operating home sewerage works that shall be simple, serviceable, and safe.

Care in operating is absolutely necessary. No installation will run itself. Continued neglect ends in failure of even the best designed, best built plants. If the householder is to build and neglect, he might as well save expense and continue the earlier practice.


Contribution from the Bureau of Public Roads
THOS. H. MacDONALD, Chief

Washington, D. C. January, 1922

[ 3 ]

SEWAGE AND SEWERAGE OF FARM HOMES.


George M. Warren,

Hydraulic Engineer, Bureau of Public Roads.


CONTENTS.

Page.
Introduction 3
Plans and advice 3
Sewage, sewers, and sewerage defined 4
Nature and quantity of sewage 4
Sewage-borne diseases and their avoidance 5
How sewage decomposes 9
Importance of air in treatment of sewage 10
Practical utilities 11
Kitchen-Sink Drainage 26
Cesspools 26
Septic tanks 28
Grease traps 53
General procedure 55

INTRODUCTION.

The main purpose of home-sewerage works is to get rid of sewage in such way as (1) to guard against the transmission of disease germs through drinking water, flies, or other means; (2) to avoid creating nuisance. What is the best method and what the best outfit are questions not to be answered offhand from afar. A treatment that is a success in one location may be a failure in another. In every instance decision should be based upon field data and full knowledge of the local needs and conditions. An installation planned from assumed conditions may work harm. The householder may be misled as to the purification and rely on a protection that is not real. He may anticipate little or no odor and find a nuisance has been created.


PLANS AND ADVICE.

Though specific plans can not be sent in the absence of definite information, and though plans and specifications can not be prepared to meet individual requirements, the Division of Agricultural Engineering, Bureau of Public Roads, gladly gives such help as is possible. To those who contemplate installing sewerage works on farms and who furnish the information outlined under the caption "Field data," on page 52, plans, advice, or suggestions will be sent. Local requirements are frequently met or approximated by one of the designs on hand; working drawings in the form of blue prints will then [ 4 ] be furnished. Sometimes the designs, slightly modified, may suit the needs. In other instances it is sufficient to send published bulletins or give written suggestions of a practical nature.


SEWAGE, SEWERS, AND SEWERAGE DEFINED.

Human excrements (feces and urine) as found in closets and privy vaults are known as night soil. These wastes may be flushed away with running water, and there may be added the discharges from washbasins, bathtubs, kitchen and slop sinks, laundry trays, washing vats, and floor drains. This refuse liquid product is sewage, and the underground pipe which conveys it is a sewer. Since sewers carry foul matter they should be water-tight, and this feature of their construction distinguishes them from drains removing relatively pure surface or ground water. Sewerage refers to a system of sewers, including the pipes, tanks, disposal works, and appurtenances.


NATURE AND QUANTITY OF SEWAGE.

Under average conditions a man discharges daily about 3½ ounces of moist feces and 40 ounces of urine, the total in a year approximating 992 pounds.[1] Feces consist largely of water and undigested or partially digested food; by weight it is 77.2 per cent water. 2 Urine is about 96.3 per cent water.[2]

[1] Practical Physiological Chemistry, by Philip B. Hawk, 1916, pp. 221, 359.

[2] Agriculture, by F. H. Storer, 1894, vol. 2, p. 70.

The excrements constitute but a small part of ordinary sewage. In addition to the excrements and the daily water consumption of perhaps 40 gallons per person are many substances entering into the economy of the household, such as grease, fats, milk, bits of food, meat, fruit, and vegetables, tea and coffee grounds, paper, etc. This complex product contains mineral, vegetable, and animal substances, both dissolved and undissolved. It contains dead organic matter and living organisms in the form of exceedingly minute vegetative cells (bacteria) and animal cells (protozoa). These low forms of life are the active agents in destroying dead organic matter.

The bacteria are numbered in billions and include many species, some useful and others harmful. They may be termed tiny scavengers, which under favorable conditions multiply with great rapidity, their useful work being the oxidizing and nitrifying of dissolved organic matter and the breaking down of complex organic solids to liquids and gases. Among the myriads of bacteria are many of a virulent nature. These at any time may include species which are the cause of well-known infections and parasitic diseases.


[ 5 ]

SEWAGE-BORNE DISEASES AND THEIR AVOIDANCE.

Any spittoon, slop pail, sink drain, urinal, privy, cesspool, sewage tank, or sewage distribution field is a potential danger. A bit of spit, urine, or feces the size of a pin head may contain many hundred germs, all invisible to the naked eye and each one capable of producing disease. These discharges should be kept away from the food and drink of man and animals. From specific germs that may be carried in sewage at any time there may result typhoid fever, tuberculosis, cholera, dysentery, diarrhea, and other dangerous ailments, and it is probable that other maladies may be traced to human waste. From certain animal parasites or their eggs that may be carried in sewage there may result intestinal worms, of which the more common are the hookworm, roundworm, whipworm, eelworm, tapeworm, and seat worm.

Sewage, drainage, or other impure water may contain also the causative agents of numerous ailments common to live stock, such as tuberculosis, foot-and-mouth disease, hog cholera, anthrax, glanders, and stomach and intestinal worms.

Disease germs are carried by many agencies and unsuspectingly received by devious routes into the human body. Infection may come from the swirling dust of the railway roadbed, from contact with transitory or chronic carriers of disease, from green truck grown in gardens fertilized with night soil or sewage, from food prepared or touched by unclean hands or visited by flies or vermin, from milk handled by sick or careless dairymen, from milk cans and utensils washed with contaminated water, or from cisterns, wells, springs, reservoirs, irrigation ditches, brooks, or lakes receiving the surface wash or the underground drainage from sewage-polluted soil.

Many recorded examples show with certainty how typhoid fever and other diseases have been transmitted. A few indicating the responsibilities and duties of people who live in the country are cited here.

In August, 1889, a sister and two brothers aged 18, 21, and 23 years, respectively, and all apparently in robust health dwelt together in a rural village in Columbiana County, Ohio. Typhoid fever in particularly virulent form developed after use of drinking water from a badly polluted surface source. The deaths of all three occurred within a space of 10 days.

In September and October, 1899, 63 cases of typhoid fever, resulting in 5 deaths, occurred at the Northampton (Mass.) insane hospital. This epidemic was conclusively traced to celery, which was eaten freely in August and was grown and banked in a plot that had been fertilized in the late winter or early spring with the solid residue and scrapings from a sewage filter bed situated on the hospital grounds.

[ 6 ]

Some years ago Dr. W. W. Skinner, Bureau of Chemistry, Department of Agriculture, investigated the cause of an outbreak of typhoid fever in southwest Virginia. A small stream meandered through a narrow valley in which five 10-inch wells about 450 feet deep had been drilled in limestone formation. The wells were from 50 to 400 feet from the stream, from which, it was suspected, pollution was reaching the wells. In a pool in the stream bed approximately one-fourth mile above the wells several hundred pounds of common salt were dissolved. Four of the wells were cut off from the pump and the fifth was subjected to heavy pumping. The water discharged by the pump was examined at 15-minute intervals and its salt content determined over a considerable period of time. After the lapse of several 15-minute intervals the salt began to rise and continued to rise until the maximum was approximately seven times that at the beginning of the test, thus proving the facility with which pollution may pass a long distance underground and reach deep wells.

Probably no epidemic in American history better illustrates the dire results that may follow one thoughtless act than the outbreak of typhoid fever at Plymouth, Pa., in 1885. In January and February of that year the night discharges of one typhoid fever patient were thrown out upon the snow near his home. These, carried by spring thaws into the public water supply, caused an epidemic running from April to September. In a total population of about 8,000, 1,104 persons were attacked by the disease and 114 died.

Like plants and animals, disease germs vary in their powers of resistance. Some are hardy, others succumb easily. Outside the body most of them probably die in a few days or weeks. It is never certain when such germs may not lodge where the immediate surroundings are favorable to their life and reproduction. Milk is one of the common substances in which germs multiply rapidly. The experience at Northampton shows that typhoid-fever germs may survive several months in garden soil. Laboratory tests by the United States Public Health Service showed that typhoid-fever germs had not all succumbed after being frozen in cream 74 days. (Public Health Reports, Feb. 8, 1918, pp. 163-166.) Ravenel kept the spores of anthrax immersed for 244 days in the strongest tanning fluids without perceptible change in their vitality or virulence. (Annual Report, State Department of Health, Mass., 1916, p. 494.)

Unsafe practices.—Upon thousands of small farms there are no privies and excretions are deposited carelessly about the premises. A place of this character is shown in figure 1. Upon thousands of other farms the privy is so filthy and neglected that hired men and visitors seek near-by sheds, fields, and woods. A privy of this character is shown in figure 2. These practices and conditions exist in every section of the country. They should be abolished.

Deserving of severe censure is the old custom of conveying excrements or sewage into abandoned wells or some convenient stream. Such a practice is indecent and unsafe. It is unnecessary and is contrary to the laws of most of the States.

[ 7 ]

Likewise dangerous and even more disgusting is the old custom of using human excrement or sewage for the fertilization of truck land. Under no circumstances should such wastes be used on land devoted to celery, lettuce, radishes, cucumbers, cabbages, tomatoes, melons, or other vegetables, berries, or low-growing fruits that are eaten raw. Disease germs or particles of soil containing such germs may adhere to the skins of vegetables or fruits and infect the eater.

Upon farms it is necessary to dispose of excretal wastes at no great distance from the dwelling. The ability and likelihood of flies carrying disease germs direct to the dinner table, kitchen, or pantry are well known. Vermin, household pets, poultry, and live stock may spread such germs. For these reasons, and also on the score of odor, farm sewage never should be exposed.

BPR-RE 1381
Fig. 1.—One of many farms lacking the simplest sanitary convenience.

Important safety measure.—The farmer can do no other one thing so vital to his own and the public health as to make sure of the continued purity of the farm water supply. Investigations indicate that about three out of four shallow wells are polluted badly.

Wells and springs are fed by ground water, which is merely natural drainage. Drainage water usually moves with the slope of the land. It always dissolves part of the mineral, vegetable, and animal matter of the ground over or through which it moves. In this way impurities are carried into the ground water and may reach distant wells or springs.

The great safeguards are clean ground and wide separation of the well from probable channels of impure drainage water. It is not [ 8 ] enough that a well or spring is 50 or 150 feet from a source of filth or that it is on higher ground. Given porous ground, a seamy ledge, or long-continued pollution of one plat of land, the zone of contamination is likely to extend long distances, particularly in downhill directions or when the water is low through drought or heavy pumping. Only when the surface of the water in a well or spring is at a higher level at all times than any near-by source of filth is there assurance of safety from impure seepage. Some of the foregoing facts are shown diagrammatically in figure 3. Figure 4 is typical of those insanitary, poorly drained barnyards that are almost certain to work injury to wells situated in or near them. Figure 5 illustrates poor relative location of privy, cesspool, and well. Figure 6 is a typical example of a nuisance. Accumulations of filth result in objectionable odor and noxious drainage.

BPR-RE 13883
Fig. 2.—The rickety, uncomfortable, unspeakably foul, dangerous ground privy. Neglected by the owner, shunned by the hired man, avoided by the guest, who, in preference, goes to near-by fields or woods, polluter of wells, meeting place of house flies and disease germs, privies of this character abide only because of man's indifference.

Sewage or impure drainage water should never be discharged into or upon ground draining toward a well, spring, or other source of water supply. Neither should such wastes be discharged into 'Openings in rock, an abandoned well, nor a hole, cesspool, vault, or tank so located that pollution can escape into water-bearing earth or rock. Whatever the system of sewage disposal, it should be entirely and widely separated from the water supply. Further information on locating and constructing wells is given in Farmers' Bulletin 941, "Water Systems for Farm Homes," copies of which may be had upon request to the Division of Publications, Department of Agriculture.

Enough has been said to bring home to the reader these vital points:

1. Never allow the farm sewage or excrements, even in minutest quantity, to reach the food or water of man or live stock.

2. Never expose such wastes so that they can be visited by flies or other carriers of disease germs.

3. Never use such wastes to fertilize or irrigate vegetable gardens.

[ 9 ]

4. Never discharge or throw such wastes into a stream, pond, or abandoned well, nor into a gutter, ditch, or tile drainage system, which naturally must have outlet in some watercourse.

Fig. 3.—How an apparently good well may draw foul drainage. Arrows show direction of ground water movement. A-A, Usual water table (surface of free water in the ground); B-B, water table lowered by drought and pumping from well D; C-C, water table further lowered by drought and heavy pumping; E-F, level line from surface of sewage in cesspool. Well D is safe until the water table is lowered to E; further lowering draws drainage from the cesspool and, with the water table at C-C, from the barn. The location of well G renders it unsafe always.
BPR-RE 1385
Fig. 4.—An insanitary, poorly drained barnyard. (Board of Health, Milwaukee.) Liquid manure or other foul drainage is sure to leach into wells situated in or near barnyards of this character.

HOW SEWAGE DECOMPOSES.

When a bottle of fresh sewage is kept in a warm room changes occur in the appearance and nature of the liquid. At first it is light in appearance and its odor is slight. It is well supplied with oxygen, since this gas is always found in waters exposed to the atmosphere. In a few hours the solids in the sewage separate mechanically according to their relative weights; sediment collects at the bottom, and [ 10 ] a greasy film covers the surface. In a day's time there is an enormous development of bacteria, which obtain their food supply from the dissolved carbonaceous and nitrogenous matter. As long as free oxygen is present this action is spoken of as aërobic decomposition. There is a gradual increase in the amount of ammonia and a decrease of free oxygen, the latter going to support bacterial life. When the ammonia is near the maximum and the free oxygen is exhausted the sewage is said to be stale. Following exhaustion of the oxygen supply, bacterial life continues profuse, but it gradually diminishes as a result of reduction of its food supply and the poisonous effects of its own wastes. In the absence of oxygen the bacterial action is spoken of as anaërobic decomposition. The sewage turns darker and becomes more offensive. Suspended and settled organic substances break apart or liquefy later, and various foul-smelling gases are liberated. Sewage in this condition is known as septic and the putrefaction that has taken place is called septicization. The odor eventually disappears, and a dark, insoluble, mosslike substance remains as a deposit. Complete reduction of this deposit may require many years.

BPR-RE 1388
Fig. 5.—Poor relative locations of privy, cesspool, and well. (State Department of Health, Massachusetts.) Never allow privy, cesspool, or sink drainage to escape Into the plot of ground from which the water supply is taken.

IMPORTANCE OF AIR IN TREATMENT OF SEWAGE.

Decomposition of organic matter by bacterial agency is not a complete method of treating sewage, as will be shown later under [ 11 ] "Septic tanks." It is sufficient to observe here that in all practical methods of treatment aeration plays a vital part. The air or the sewage, or both, must be in a finely divided state, as when sewage percolates through the interstices of a porous, air-filled soil. The principle involved was clearly stated 30 years ago by Hiram F. Mills, a member of the Massachusetts State Board of Health. In discussing the intermittent filtration of sewage through gravel stones too coarse to arrest even the coarsest particles in the sewage Mr. Mills said: "The slow movement of the sewage in thin films over the surface of the stones, with air in contact, caused a removal for some months of 97 per cent of the organic nitrogenous matter, as well as 99 per cent of the bacteria."

BPR-RE 1387
Fig. 6.—A typical nuisance. (Board of Health, Milwaukee.) A yard like this is an eyesore, a fire menace, a breeding place for mosquitoes and vermin, a refuge for rats and mice, a source of noxious odors and foul drainage, and a violation of every sanitation code.

PRACTICAL UTILITIES.

Previous discussion has dealt largely with basic principles of sanitation. The construction and operation of simple utilities embodying some of these principles are discussed in the following order: (1) Privies for excrements only; (2) works for handling wastes where a supply of water is available for flushing.

[ 12 ]

PIT PRIVY.

Figure 7 shows a portable pit privy suitable for places of the character of that shown in figure 1, where land is abundant and cheap, and in such localities has proved practical. It provides, at minimum cost and with least attention, a fixed place for depositing excretions where the filth can not be tracked by man, spread by animals, reached by flies, nor washed by rain.

Fig. 7.—Portable pit privy. For use where land is abundant and cheap, but unless handled with judgment can not be regarded as safe. The privy is mounted on runners for convenience in moving to new locations.
Click on image to view larger size.

The privy is light and inexpensive and is placed over a pit in the ground. When the pit becomes one-half or two-thirds full the privy is drawn or carried to a new location. The pit should be shallow, preferably not over 2½ feet in depth, and never should be located in wet ground or rock formation or where the surface or the strata slope toward a well, spring, or other source of domestic water supply. Besides standing on lower ground the pit should never be within 200 feet of a well or spring. Since dryness in the pit is essential, the ground should be raised slightly and 10 or 12 inches of earth should be banked and compacted against all sides to shed rain water. The banking also serves to exclude flies. If the soil is sandy or gravelly, the pit should be lined with boards or pales to prevent caving. The privy should be boarded closely and should be provided with screened openings for ventilation and light. The screens may consist of standard galvanized or black enameled wire cloth having 14 squares [ 13 ] to the inch. The whole seat should be easily removable for cleaning. A little loose absorbent soil should be added daily to the accumulation in the pit, and when a pit is abandoned it should be filled immediately with dry earth mounded to shed water.

A pit privy for use in field work, consisting of a framework of ½-inch iron pipe for corner posts connected at the top with ¼-inch iron rods bent at the ends to right angles and hung with curtains of unbleached muslin, is described in Public Health Report of the United States Public Health Service, July 26, 1918.

A pit privy, even if moved often, can not be regarded as safe. The danger is that accumulations of waste may overtax the purifying capacity of the soil and the leachings reach wells or springs. Sloping ground is not a guaranty of safety; the great safeguard lies in locating the privy a long distance from the water supply and as far below it as possible.

SANITARY PRIVY.

The next step in evolution is the sanitary privy. Its construction must be such that it is practically impossible for filth or germs to be spread above ground, to escape by percolation underground, or to be accessible to flies, vermin, chickens, or animals. Furthermore, it must be cared for in a cleanly manner, else it ceases to be sanitary. To secure these desirable ends sanitarians have devised numerous types of tight-receptacle privy. Considering the small cost and the proved value of some of these types, it is to be regretted that few are seen on American farms.

The container for a sanitary privy may be small—for example, a galvanized-iron pail or garbage can, to be removed from time to time by hand; it may be large, as a barrel or a metal tank mounted for moving; or it may be a stationary underground metal tank or masonry vault. The essential requirement in the receptacle is permanent water-tightness to prevent pollution of soils and wells. Wooden pails or boxes, which warp and leak, should not be used. Where a vault is used it should be shallow to facilitate emptying and cleaning. Moreover, if the receptacle should leak it is better that the escape of liquid should be in the top soil, where air and bacterial life are most abundant.

Sanitary privies are classified according to the method used in treating the excretions, as dry earth, chemical, liquefying.

DRY-EARTH PRIVY.

Pail type.—A very serviceable pail privy is shown in figures 8 and 9. The method of ventilation is an adaptation of a system that has proved very effective in barns and other buildings here and abroad. [ 14 ] A flue with a clear opening of 16 square inches rises from the rear of the seat and terminates above the ridge-pole in a cowl or small roofed housing. Attached to this flue is a short auxiliary duct, 4 by 15 inches, for removing foul air from the top of the privy. In its upper portion on the long sides the cowl is open, allowing free movement of air across the top of the flue. In addition the long sides of the cowl are open below next to the roof. These two openings, with the connecting vertical air passages, permit free upward movement of air through the cowl, as indicated by the arrows. The combined effect is to create draft from beneath the seat and from the top of the privy. The ventilating flue is 2 by 8 inches at the seat and 4 by 4 inches 5 feet above. The taper slightly increases the labor of making the flue, but permits a 2-inch reduction in the length of the building.

>Fig. 8.—Pail privy. Well constructed, ventilated, and screened. With proper care is sanitary and unobjectionable.
Click on image to view larger size.

[ 15 ]

Fig. 9.—Full privy.
Click on image to view larger size.

[ 16 ]

In plan the privy is 4 by 4½ feet. The sills are secured to durable posts set about 4 feet in the ground. The boarding is tight, and all vents and windows are screened to exclude insects. The screens may be the same as for pit privies or, if a more lasting material is desired, bronze or copper screening of 14 squares to the inch may be used. The entire seat is hinged, thus permitting removal of the receptacle and facilitating cleaning and washing the underside of the seat and the destruction of spiders and other insects which thrive in dark, unclean places. The receptacle is a heavy galvanized-iron garbage can. Heavy brown-paper bags for lining the can may be had at slight cost, and their use helps to keep the can clean and facilitates emptying. Painting with black asphaltum serves a similar purpose and protects the can from rust. If the contents are frozen, a little heat releases them. Of nonfreezing mixtures a strong brine made with common salt or calcium chloride is effective. Two and one-half to 3 pounds of either thoroughly dissolved in a gallon of water lowers the freezing point of the mixture to about zero. Denatured alcohol or wood alcohol in a 25 per cent solution has a like low freezing point and the additional merit of being noncorrosive of metals. The can should be emptied frequently and the contents completely buried in a thin layer by a plow or in a shallow hand-dug trench at a point below and remote from wells and springs. Wherever intestinal disease exists the contents of the can should be destroyed by burning or made sterile before burial by boiling or by incorporation with a strong chemical disinfectant.

BPR-RE 1382
Fig. 10.—A well-ventilated privy in Montana.

A privy ventilated in the manner before described is shown in figure 10. The cowl, however, is open on four sides instead of two sides as shown in figures 8 and 9. The working drawings (fig. 8 and 9) show that the construction of a privy of the kind is not difficult. Figure 11 gives three suggestions whereby a privy may be conveniently located and the approach screened or partially hidden by latticework, vines, or shrubbery.

Vault type.—A primitive and yet serviceable three-seat dry-earth privy of the vault type is shown in figure 12. This privy was constructed in 1817 upon a farm at Westboro, Mass. The vault, made of bricks, was 6 feet long by 5 feet wide, and the bottom was 1 foot below the surface of the ground. The brickwork was laid in mortar, and the part below the ground surface was plastered on the inside. The outside of the vault was exposed to light and air on all four sides. Across the long side of the vault in the rear was a door swinging upward through which the night soil was removed two or three times a year, usually in the spring, summer, and fall, and hauled to a near-by field, where it was deposited in a furrow, just ahead of the plow.

Especial attention is called to the shallowness of the vault and the lightened labor of cleaning it out. The swinging door at the rear facilitated the sprinkling of dry soil or ashes over the contents of the vault, thus avoiding the necessity of carrying dirt and dust into the [ 17 ] building and dust settling upon the seat. This privy was in use for nearly 100 years without renewal or repairs. When last seen the original seat, which always was kept painted, showed no signs of decay. Modern methods would call for a concrete vault of guaranteed water-tightness,[3] proper ventilation and screening, and hinging the seat.

[3] Directions for mixing and placing concrete to secure water-tightness are contained in an article entitled "Securing a dry cellar," U. S. Department of Agriculture Yearbook, 1919; published also as Yearbook Separate No. 824, and obtainable for 10 cents from the Superintendent of Documents, Government Printing Office, Washington, D. C.

Fig. 11.—Screening the approach to a privy. A, Raised platform with lattice sides, suitable for short distances, convenient and easily cleared of snow; B, walk hidden by lattice work; C, walk enclosed by an arbor.

[ 18 ]

Fig. 12.—A primitive vault privy in Massachusetts. Note the tight, shallow, easily cleaned vault. A, Brick vault 5 by 6 feet, bottom about 1 foot in the ground; B, water-tight plastering; C, rowlock course of brick; D, door hinged at top; E, door button; F, three-pane window hinged at top; G, passageway.

Working drawings for a very convenient well-built two-seat vault privy are reproduced in figures 13 and 14. The essential features are shown in sufficient detail to require little explanation. With concrete mixtures of 1:2:3 (1 volume cement, 2 volumes sand, 3 volumes stone) for the vault and 1:2:4 for the posts there will be required a total of about 2 cubic yards of concrete, taking 3½ barrels of cement, 1 cubic yard of sand, and 1½ cubic yards of broken stone or screened gravel. The stone or gravel should not exceed 1 inch in diameter, except that a few cobblestones may be embedded where the vault wall is thickest, thus effecting a slight saving of materials.

CHEMICAL CLOSET.

A type of sanitary privy in which the excrements are received directly into a water-tight receptacle containing chemical disinfectant is meeting with considerable favor for camps, parks, rural cottages, schools, hotels, and railway stations. These chemical closets,[4] as they are called, are made in different forms and are known by various trade names. In the simplest form a sheet-metal receptacle is concealed in a small metal or wooden cabinet, and the closet is operated usually in much the same manner as the ordinary pail privy. These closets are very simple and compact, of good appearance, and easy to install or move [ 19 ] from place to place. In another type, known as the chemical tank closet, the receptacle is a steel tank fixed in position underground or in a basement. The tank has a capacity of about 125 gallons per seat, is provided with a hand-operated agitator to secure thorough mixing of the chemical and the excretions, and the contents are bailed, pumped, or drained out from time to time.

[4] Among publications on chemical closets are the following: "Chemical Closets," Reprint No. 404 from the Public Health Reports, U. S. Public Health Service, June 29, 1917, pp. 1017-1020; "The Chemical Closet," Engineering Bulletin No. 5, Mich. State Board of Health, October, 1916; Health Bulletin; Va. Department of Health, March, 1917, pp. 214-219.

Fig. 13.—Two-seat vault privy.
Click on image to view larger size.

Chemical closets, like every form of privy, should be well installed, cleanly operated, and frequently emptied, and the wastes should receive safe burial. With exception of frequency of emptying, the same can be said of chemical tank closets. With both forms of closet thorough ventilation or draft is essential, and this is obtained usually [ 20 ] by connecting the closet vent pipe to a chimney flue or extending it well above the ridge-pole of the building. The contents of the container should always be submerged and very low temperatures guarded against.

Fig. 14.—Two-seat vault privy. Note the shallow, water-tight, easily cleaned concrete vault.
Click on image to view larger size.

As to the germicidal results obtained in chemical closets, few data are available. A disinfecting compound may not sterilize more than a thin surface layer of the solid matter deposited. Experiments by Dr. Alvah H. Doty with various agents recommended and [ 21 ] widely used for the bedside sterilization of feces showed "that at the end of 20 hours of exposure to the disinfectant but one-eighth of an inch of the fecal mass was disinfected."[5] Plainly, then, to destroy all bacterial and parasitic life in chemical closets three things are necessary: (1) A very powerful agent; (2) permeation of the fecal mass by the agent; (3) retention of its strength and potency until permeation is complete. The compounds or mixtures commonly used in chemical closets are of two general kinds: First, those in which some coal-tar product or other oily disinfectant is used to destroy germs and deodorize, leaving the solids little changed in form; second, those of the caustic class that dissolve the solids, which, if of sufficient strength and permeating every portion, should destroy most if not all bacterial life. Not infrequently the chemical solution is intended to accomplish disinfection, deodorization, and reduction to a liquid or semiliquid state.

[5] Annual Report, Mass. State Board of Health, 1914, p. 727.

Fig. 15.—Chemical closet. A, Water-tight sheet-metal container; B, metal or wooden cabinet; C, wooden or composition seat ring; D, hinged cover; E, 3 or 4 inch ventilating flue extending 18 inches above roof or to a chimney; F, air inlets.
Fig. 16.—Chemical tank closet. A, Tank, 2 feet 3 inches by 4 feet 2 inches, 5⁄64-inch iron, seams welded, capacity 125 gallons; B, 14-inch covered opening for recharging and emptying tank; C, 12-inch galvanized sheet-metal tube; D, 4-inch sheet-metal ventilating pipe extending above ridge-pole or to a chimney; E, agitator or paddle.

[ 22 ]

A simple type of chemical closet is shown in figure 15, and the essential features are indicated in the notation. These closets with vent pipe and appurtenances, ready for setting up, retail for $20 and upward. A chemical tank closet, retailing for about $80 per seat, is shown in figure 16.

The Department of Agriculture occasionally receives complaints from people who have installed chemical closets, usually on the score of odors or the cost of chemicals.

LIQUEFYING CLOSET.

Another type of sanitary privy, known as a liquefying closet, makes use of bacterial action as an aid to disposal. The excretions are deposited in a tight receptacle containing water, where fermentation and decomposition reduce a large part of the organic solids to liquid and gaseous forms. Much of the liquid evaporates and the gases diffuse, so that the volume of sewage is reduced materially. More or less insoluble and undigested residue, known as sludge, gradually accumulates at the bottom of the receptacle, which from time to time must be cleaned out. Disposal of the partially clarified liquid and the sludge, however, involves much less labor than would be needed to handle the untreated excrements.

Liquefying closets have been used many years with fair satisfaction. The receptacle sometimes is a tight brick vault, but more frequently a barrel or hogshead with one end nearly flush with the ground. Over this is mounted the seat, sometimes with iron bars beneath to prevent accident to small children, and the whole is inclosed in a small frame house. The vault usually is bailed or pumped out two or three times a year.

Upon farms where slope, soil, and drainage conditions are favorable the effluent from liquefying closets may be distributed and aerated by means of drain tile laid in the top soil or in shallow beds filled with cinders, coke, gravel, or stone. Figure 17 shows a simple one-chamber liquefying closet with shallow distribution of the effluent in a stone-filled trench. The vault or tank consists of vitrified sewer pipe, a simple and cheap construction. Where a larger vault is required concrete or brick may be used, the usual capacity being 12 or 13 gallons to a person.

[ 23 ]

Fig. 17.—Liquefying closet. A, Excavation about 3 feet 3 inches in diameter; B, 3-foot length vitrified Y branch, 24 by 4 inches; C, 2-foot length of 24-inch hard burned drain tile or vitrified sewer pipe; D, 4 by 4 inch Y branch; E, 1-foot length of 4-inch cast-iron soil pipe; F, concrete bottom making water-tight seal; G, joints made water tight by use of a strand of jute or oakum and rich Portland cement mortar or hot bituminous jointing compound; H; submerged outlet; I, removable strainer with openings ¼ inch or larger; J, 4-inch removable plug; K, 4-inch drain tile laid on good slope in trench about 15 inches deep, ends of tile butting, joints covered with strips of tarred paper extending three-fourths of the way around the tile; L, removable seat supported by end cleats; M, 4 by 4 inch ventilating flue, bottom portion removable; N, hinged door to facilitate bailing out sludge.

[ 24 ]

Faults in liquefying closets are objectionable odor, clogging of the screen over the outlet, or insufficient water in the vault to insure proper bacterial action. A ventilating pipe should be provided extending from beneath the seat to above the roof. The outlet pipe should not be less than 4 inches in diameter, and the mesh of the screen should not be less than one-fourth inch. The contents of the vault should be diluted with water at intervals, depending upon the number of persons using the closet and the rapidity of evaporation. Dilution may be effected by pouring in 1 or 2 gallons with a pail, or a small pipe may be led from the eaves trough of the closet to the vault. The effluent may be light colored and apparently inoffensive, but it still is sewage, and therefore the distributing tile never should be laid in the vicinity of a well or spring.

DISINFECTANTS AND DEODORANTS.

Disinfection is the destruction of disease germs. Sterilization is the destruction of all germs or bacteria, both the harmful and the useful. Antisepsis is the checking or restraining of bacterial growth. Deodorization is the destruction of odor. Unfortunately in practice none of these processes may be complete. The agent may be of inferior quality, may have lost its potency, or may not reach all parts of the mass treated. A disinfectant or germicide is an agent capable of destroying disease germs; an antiseptic is an agent merely capable of arresting bacterial growth, and it may be a dilute disinfectant; a deodorant is an agent that tends to destroy odor, but whose action may consist in absorbing odor or in masking the original odor with another more agreeable one.[6]

[6] Those desiring more explicit information on disinfectants and the principles of disinfection are referred to U. S. Department of Agriculture Farmers' Bulletins 926, "Some Common Disinfectants," and 954, "The Disinfection of Stables," and to publications of the U. S. Public Health Service.

Of active disinfecting agents, heat from fire, live steam, or boiling water is the surest. The heat generated by the slaking of quicklime has proved effective with small quantities of excreta. Results of tests by the Massachusetts State Board of Health[7] show that the preferable method consists in adding sufficient hot water (120° to 140° F.) to cover the excrement in the receptacle, then adding small pieces of fresh strong quicklime in amount equal to about one-third of the bulk of water and excrement combined, covering the receptacle, and allowing it to stand 1½ hours or longer.

[7] Annual Report, Mass. State Board of Health, 1914, pp. 727-729.

Among chemical disinfectants a strong solution of sodium hydroxide (caustic soda) or potassium hydroxide (caustic potash, lye) is very effective and is useful in dissolving grease and other organic substances. Both chemicals are costly, but caustic soda is less expensive than caustic potash and constitutes most of the ordinary commercial lyes. Chlorinated lime (chloride of lime, bleaching powder) either in solution or in powdered form is valuable. For the disinfection of stools of typhoid-fever patients the Virginia State Board of Health[8] recommends thoroughly dissolving ½ pound of best chloride of lime in 1 gallon of water and allowing [ 25 ] the solution to cover the feces for at least 1 hour. The solution should be kept in well-stoppered bottles and used promptly, certainly within 2 or 3 days. Copper sulphate (blue vitriol, bluestone) in a 5 per cent solution (1 pound in 2½ gallons of water) is a good but rather costly disinfectant. None of the formulas here given is to be construed as fixed and precise. Conditions may vary the proportions, as they always will vary the results. The reader should remember that few, if any, chemical disinfectants can be expected fully to disinfect or sterilize large masses of excrement unless the agent is used repeatedly and in liberal quantities or mechanical means are employed to secure thorough incorporation.

[8] Health Bulletin, Va. State Board of Health, June, 1917, pp. 277-280.

Among deodorants some of the drying powders mentioned below possess more or less disinfecting power. Chloride of lime, though giving off an unpleasant odor of chlorine, is employed extensively. Lime in the form of either quicklime or milk of lime (whitewash) is much used and is an active disinfectant. To prepare milk of lime a small quantity of water is slowly added to good fresh quicklime in lumps. As soon as the quicklime is slaked a quantity of water, about four times the, quantity of lime, is added and stirred thoroughly. When used as a whitewash the milk of lime is thinned as desired with water and kept well stirred. Liberal use of milk of lime in a vault or cesspool, though it may not disinfect the contents, is of use in checking bacterial growth and abating odor. To give the best results it should be used frequently, beginning when the vault or cesspool is empty. Iron sulphate (green vitriol, copperas) because of its affinity for ammonia and sulphides is used as a temporary deodorizer in vaults, cesspools, and drains; 1 pound dissolved in 4 gallons of water makes a solution of suitable strength.

PREVENTION OF PRIVY NUISANCE.

The following is a summary of simple measures for preventing a privy from becoming a nuisance:

1. Locate the privy inconspicuously and detached from the dwelling.

2. Make the receptacle or vault small, shallow, easy of access, and water-tight.

3. Clean out the vault often. Do not wait until excrement has accumulated and decomposition is sufficiently advanced to cause strong and foul odors.

4. Sprinkle into the vault daily loose dry soil, ashes, lime, sawdust, ground gypsum (land plaster), or powdered peat or charcoal. These will absorb liquid and odor, though they may not destroy disease germs.

5. Make the privy house rain-proof; ventilate it thoroughly, and screen all openings.

[ 26 ]

OBJECTION TO PRIVIES.

All the methods of waste disposal heretofore described are open to the following objections:

1. They do not take care of kitchen slops and liquid wastes incipient to a pressure water system.

2. They retain filth for a considerable period of time with probability of odors and liability of transmission of disease germs.

3. They require more personal attention and care than people generally are willing to give.

By far the most satisfactory method yet devised of caring for sewage calls for a supply of water and the flushing away of all wastes as soon as created through a water-tight sewer to a place where they undergo treatment and final disposal.


KITCHEN-SINK DRAINAGE.

A necessity in every dwelling is effective disposal of the kitchen-sink slops. This necessity ordinarily arises long before the farm home is supplied with water under pressure and the conveniences that go with it. Hence the first call for information on sewage disposal is likely to relate merely to sink drainage. This waste water though it may not be as dangerous to health as sewage containing human excrements is still a menace to the farm well and capable of creating disagreeable odor.

The usual method of disposing of sink slops is to allow them to dribble on or beneath the surface of the ground close to the house. Such drainage should be taken in a water-tight carrier at least 100 feet downhill from the well and discharged below the surface of the ground. Every sink should be provided with a suitable screen to keep all large particles out of the waste pipe. An approved form of sink strainer consists of a brass plate bolted in position over the outlet and having at least 37 perforations not larger than one-fourth inch in diameter. Provided a sink is thus equipped and is given proper care and the land has fair slope and drainage, the waste water may be conducted away through a water-tight sewer and distributed in the soil by means of a short blind drain. The blind drain may be conveniently made of drain tile in the manner shown in figure 17. A simple installation, consisting of a kitchen sink and pump and means of disposal as described, is shown in figure 18.


CESSPOOLS.

Where farms have water under pressure an open or leaching cesspool is a common method of disposing of the sewage. Ordinary cesspools are circular excavations in the ground, lined with stone or brick laid without mortar. They vary from 5 to 10 feet in diameter and from 7 to 12 feet in depth. Sometimes the top is arched and [ 27 ] capped at the ground surf ace by a cover of wood, stone, or cast iron. At other times the walls are carried straight up and boards or planks are laid, across for a cover, and the entire structure is hidden with a hedge or shrubbery.

Fig. 18.—How to waste kitchen-sink drainage. A, Sink; B, waste pipe; C, trap; D, clean-out; E, box filled with hay, straw, sawdust, excelsior, coke, or other insulating material; F, 4-inch vitrified sewer-pipe, hubs uphill, and joints made water tight for at least 100 feet downhill from a well; G, 4-inch vitrified sewer pipe, hubs downhill, joints slightly open, laid in an 18-inch bed of coarse sand, gravel, stone, broken brick, slag, cinders, or coke; strip of tarred paper on burlap or a thin layer of hay, straw, cornstalks, brush, or sods, grass side down; I, 12 inches of natural soil; J, stone-filled pit. As here illustrated, water is drawn by a pitcher or kitchen pump (K) through a 1¼ or 1½ inch galvanized-iron suction pipe (L) from a cistern (M). The suction pipe should be laid below frost and on a smooth upward grade from cistern to pump and be provided with a foot valve (N) to keep the pump primed. If a foot valve is used, pump and pipe must be safe from frost or other means than tripping the pump be provided for draining the system.

Except under the most favorable conditions the construction and use of a cesspool can not be condemned too strongly. They are only permissible where no other arrangement is possible. Leaching cesspools especially are open to these serious objections:

1. Unless located in porous soil, stagnation is likely to occur, and failure of the liquid to seep away may result in overflow on the surface of the ground and the creation of a nuisance and a menace.

2. They retain a mass of filth in a decomposing condition deep in the ground where it is but slightly affected by the bacteria and air of the soil. In seeping through the ground it may be strained, but there can be no assurance that the foul liquid with little improvement in its condition may not pass into the ground water and pollute wells and springs situated long distances away in the direction of underground flow.

For the purpose of avoiding soil and ground-water pollution cesspools have been made of water-tight construction and the contents [ 28 ] removed by bailing or pumping. Upon the farm, however, this type of construction has little to recommend it, for the reason that facilities for removing and disposing of the contents in a clean manner are lacking.

In some instances cesspools have been made water-tight, the outflow being effected by three or four elbows or T-branches set in the masonry near the top, with the inner ends turned down below the water surface, the whole surrounded to a thickness of several feet with stone or gravel intended to act as a filtering medium. Tests of the soil water adjacent to cesspools of this type show that no reliance should be placed upon them as a means of purifying sewage, the fatal defects being constant saturation with sewage and lack of air supply. To the extent that the submerged outlets keep back grease and solid matters the scheme is of service in preventing clogging of the pores of the surrounding ground.

Where the ground about a cesspool has become clogged and water-logged, relief is often secured by laying, several lines of drain tile at shallow depth, radiating from the cesspool. The ends of the pipes within the cesspool should turn down, and it is advantageous to surround the lines of pipe with stones or coarse gravel, as shown in figures 17 and 18 and discussed under "Septic tanks." In this way not only is the area' of percolation extended, but aeration and partial purification of the sewage are effected.

Where a cesspool is located at a distance from a dwelling and there is opportunity to lead a vent pipe up the side of a shed, barn, or any stable object it is advisable to do so for purposes of ventilation. Where the conditions are less favorable it may be best, because of the odor, to omit any direct vent pipe from the cesspool and rely for ventilation on the house sewer and main soil stack extending above the roof of the house.

Cesspools should be emptied and cleaned at least once a year and the contents given safe burial or, with the requisite permission, wasted in some municipal sewerage system. After cleaning, the walls and bottom may be treated with a disinfectant or a deodorant.


SEPTIC TANKS.

A tight, underground septic tank with shallow distribution of the effluent in porous soil generally is the safest and least troublesome method of treating sewage upon the farm, while at the same time more or less of the irrigating and manurial value of the sewage may be realized.

The late Prof. Kinnicutt used to say that a septic tank is "simply a cesspool, regulated and controlled." The reactions described under the captions "How sewage decomposes," "Liquefying closet," and "Cesspools" take place in septic tanks.

[ 29 ]

In all sewage tanks, whatever their size and shape, a portion of the solid matter, especially if the sewage contains much grease, floats as scum on the liquid, the heavier solids settle to form sludge, while finely divided solids and matter in a state of emulsion are held in suspension. If the sludge is retained in the bottom of the tank and converted or partly converted into liquids and gases the tank is called a septic tank and the process is known as septicization. The process is sometimes spoken of as one of digestion or rotting.

History.— Prototypes of the septic tank were known in Europe nearly 50 years ago. Between 1876 and 1893 a number of closed tanks with submerged inlets and outlets embodying the principle of storage of sewage and liquefaction of the solids were built in the United States and Canada. It was later seen that many of the early claims for the septic process were extravagant. In recent years septic tanks have been used mainly in small installations, or, where employed in large installations, the form has been modified to secure digestion of the sludge in a separate compartment, thus in a measure obviating disadvantages that exist where septicization takes place in the presence of the entering fresh sewage.

Purposes.—The purposes of a septic tank are to receive all the farm sewage, as defined on page 4, hold it in a quiet state for a time, thus causing partial settlement of the solids, and by nature's processes of decomposition insure, as fully as may be, the destruction of the organic matter.

Limitations.—That a septic tank is a complete method of sewage treatment is a widespread but wrong impression. A septic tank does not eliminate odor and does not destroy all organic solids. On the contrary, foul odors develop, and of all the suspended matter in the sewage about one-third escapes with the effluent, about one-third remains in the tank, and about one-third only is destroyed or reduced to liquids and gases. The effluent is foul and dangerous. It may contain even more bacteria than the raw sewage, since the process involves intensive growths. As to the effects upon the growth and virulence of disease germs little is known definitely. It is not believed that such germs multiply under the conditions prevailing in a septic tank. If disease germs are present many of their number along with other bacteria may pass through with the flow or may be enmeshed in the settling solids and there survive a long time. Hence the farmer should safeguard wells and springs from the seepage or discharges from a septic tank as carefully as from those of liquefying closets and cesspools.

Further treatment of effluents.—The effluent of a septic tank or any other form of sewage tank is foul and dangerous. Whether or not the solids are removed by screening, by short periods of rest, as in plain or modified forms of settling tanks, or by longer quiescence, [ 30 ] as in septic tanks, the effluent generally requires further treatment to reduce the number of harmful organisms and the liability of nuisance. This further treatment usually consists of some mode of filtration. In the earliest example of such treatment the sewage was used to irrigate land by either broad flooding or furrow irrigation. By another method the sewage is distributed underground by means of drain tile laid with open joints, as illustrated in figures 17, 29, and 32.

Artificial sewage filters are composed of coarse sand, screened gravel, broken stone, coke, or other material, and the sewage is applied in numerous ways. Since filtration is essentially an oxidizing process requiring air, the sewage is applied intermittently in doses.[9]

[9] Artificial filters of various types are well described and illustrated in Public Health Bulletin No. 101, "Studies of Methods for the Treatment and Disposal of Sewage—The Treatment of Sewage from Single Houses and Small Communities." U. S. Public Health Service, December, 1919.

If properly designed and operated, filters of sand, coke, or stone are capable of excellent results. Under the most favorable conditions it is unwise to discharge the effluent of a sewage filter in the near vicinity of a source of water supply. Under farm conditions filters are usually neglected or the sewage is improperly applied, resulting in the clogging and befouling of sand filters and the discharge from stone filters of an effluent which is practically as dangerous and even more offensive than raw sewage. Moreover unless the filters are covered there are likely to be annoying odors, and there is always the possibility of disease germs being carried by flies where sewage is exposed in the vicinity of dwellings. Hence it seems more practical for the farmer, avoiding the expense of earth embankments or masonry sides and bottom for a filter bed, to waste the tank effluent beneath the surface of such area of land as is most suitable and available. This method of applying sewage to the soil or subsoil is often spoken of as subirrigation, but subsoil distribution of sewage is different in principle and practice from subirrigation for the increase of crop yields. Subirrigation is rarely successful unless the land is nearly level, the top soil porous and underlaid with an impervious stratum to hold the water within reach of plant roots, and unless a relatively large quantity of water is used and the work is skillfully done. On the other hand, the quantity of sewage on farms being small, it may be wasted in hilly ground, which should be as porous, deeply drained, and dry as possible.

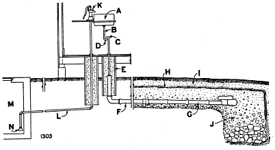
Parts of a system.—The four parts of a septic-tank installation with subsurface distribution of the effluent are outlined in figure 19: (1) The house sewer from house to tank; (2) the sewage tank consisting of one or more chambers; (3) the sewer from tank to distribution [ 31 ] field; (4) the distribution field, where the sewage is distributed and wasted, sometimes called the absorption field. These parts will be discussed in the order named, although the last should have the first consideration.

Fig. 19.—Parts of a septic-tank installation.
Fig. 20.—Setting line and grade for house sewer. To the observer at A the top edges of the grade boards appear as one; the half-driven nails are set to line.

House sewer.—The length will vary with the slope of the ground and position of buildings, well, and distribution field. Fifty to 100 feet is a fair length; a greater is still more sanitary. Wherever possible the house sewer should be laid straight in line and grade. Figure 20 shows how this work may be done. Suppose the distance from A to E be 100 feet; that grade boards be set 25 feet apart crosswise of the trench at A, B, C, D, and E; that the ground at A be 4 feet lower than at E; that the top of the sewer be 2½ feet below the surface of the ground at A and 4½ feet below the surface of the ground at E; the fall of the sewer between A and E is 2 feet (4 + 2½ - 4½ = 2). If the fall in 100 feet be 2 feet, in 25 feet it is one-fourth as much, or 6 inches. Hence, grade board B is 6 inches higher than grade board A, C is 6 inches higher than B, and so on to E. The top edges when all the boards are set with a carpenter's level and fastened in position should be in line. The grade thus established may be any convenient [ 32 ] height above the top of the proposed sewer, and the measuring stick used to grade the pipe is cut accordingly. This height is usually a certain number of whole feet. Fixing the line of the sewer is a mere matter of settling nails in the top edges of boards A and E directly over the center of the proposed sewer and tightly stretching a fish line or grade cord; nails should be set where the cord crosses boards B, C, and D.

If the cellar or basement contains plumbing fixtures, the house sewer should enter 1 to 2 feet below the cellar floor. If all plumbing fixtures are on the floors above, the sewer may enter at no greater depth than necessary to insure protection from frost outside the cellar wall. Digging the trench and laying the pipe should begin at the tank or lower end. The large end of the pipes, called the hub, should face uphill, and the barrel of each pipe should have even bearing throughout its length. Sufficient earth should be removed from beneath the hubs to permit the joints to be made in a workmanlike manner.

The house sewer may be vitrified salt-glazed sewer pipe, concrete pipe, or cast-iron soil pipe. The latter, with poured and calked lead joints makes a permanently water-tight and root-proof sewer, which always should be used where the vicinity of a well must be passed; 4, 5, or 6-inch pipe may be used, depending mainly on the fall and in less degree on the quantity of sewage discharged. As a measure of economy the 4-inch size is favored for iron pipe. If vitrified pipe is used, either the 5 or 6 inch size is preferable, as these sizes are made straighter than the 4-inch size and are less liable to obstruction. Of the two the 5-inch size is preferable. The fall in 100 feet should never be less than 2 feet for 4-inch size, 1½ feet for 5-inch size, 1 foot for 6-inch size.

Figure 21 shows methods of making good joints. A, B, C, D, E, F, and G are ordinary sewer pipe joints; H, is cast-iron soil pipe.

Fig. 21.—How to make good joints. See text for directions and specifications.

A shows the use of a yarning iron to pack a small strand of jute into the joint space, thus centering the pipes and preventing the joint filler running inside. The joint surfaces should be free of dirt and oil. The jute is cut in lengths to go around the pipe; a small strand is soaked in neat Portland cement grout, then twisted and wrapped around the small end of the pipe to be pushed into the hub of the last pipe laid. After the pipe is pushed home the jute is packed evenly to a depth of not over ½ inch, leaving about 1½ inches for the joint filler. Old hemp rope or oakum dipped in liquid cement or paper may be used in place of jute, and the packing may be done with a thin file or piece of wood.

B shows the use of a rubber mitten or glove to force Portland cement mortar into the joint space. The mortar should be thoroughly and freshly mixed in the proportion of one volume of cement to one volume of clean sand and should be pressed and tamped to fill the joint completely.

C shows a section of finished joint. The fresh mortar should not be loosened or disturbed when laying the next pipe.

D shows method of pouring a joint with grout, which is quicker, cheaper, and better than using a rubber mitten. A flexible sheet-metal form or mold, oiled to prevent the grout sticking, is clamped tightly around the joint and is completely filled with grout consisting of equal parts of Portland cement and clean [ 33 ] sand mixed dry, to which water is added to produce a creamy consistency. The pipes should not be disturbed and the form should not be removed for 24 hours.

E shows a section of grouted joint, well rounded out, strong, and tight.

F shows the use of a pipe jointer for pouring a hot filler. The pipe jointer may be an asbestos or rubber runner or collar or a piece, of garden hose clamped around the pipe leaving a small triangular opening at the top. The jointer is pressed firmly against the hub, and any small openings between the jointer and pipe are smeared with plastic clay to prevent leakage of the filler. A clay dike or funnel about 3 inches high built around the triangular opening greatly aids rapid and complete filling of the joint space. The filler may be a commercially prepared bituminous compound or molten sulphur and fine sand. The former makes a slightly elastic joint; the latter a hard unyielding joint. With good workmanship both kinds of joint are practically water-tight and root-proof, and cost about the same as cement mortar joints. The filler is heated in an iron kettle over a wood, coke, or coal fire. It should be well stirred, and when at a free running consistency should be poured with a ladle large enough to fill the joint completely at one operation. As soon as the compound cools the jointer is removed. Sulphur-sand filler is made by mixing together dry and melting equal volumes of ordinary powdered sulphur and very fine clean sand, preferably the finest quicksand. A 5-inch sewer pipe joint requires from three-tenths to nine-tenths of a pound (according to the kind of pipe) of sulphur, worth 3 to 5 cents per pound, and a like quantity of sand. From ½ to 1½ pounds of bituminous filler are required for a 5-inch pipe joint.

G shows section of finished joint.

H shows the use of a pouring ladle in making lead joints in cast-iron soil pipe. This pipe is in lengths to lay 5 feet, and the metal of the barrel is ¼ inch thick. The joint is yarned with dry jute or oakum, as described above, and is poured full with molten, soft, pig lead to be afterwards driven tightly with hammer and calking tools. About 1 pound of lead for each inch in diameter of pipe is required. Prepared cements of varying composition have proved effective,, and, as they require no calking, are economical. Among the best is a finely ground, thoroughly mixed compound of iron, sulphur, slag, and salt.

I is a home-made pipe jointer or clay roll for use in pouring molten lead. A strand of jute long enough to encircle the pipe and the ends to fold back, leaving an opening at the top, is covered with clay moistened, rolled, and worked to form a plastic rope about 1 inch in diameter. The jointer gives the very best results but must be frequently moistened and worked to keep the clay soft and pliable. The jointer shown in F is frequently used for pouring lead joints.

Obstructions in house sewers are frequent. Among the causes are broken pipes, grade insufficient to give cleansing velocities, newspaper, rags, garbage, or other solids in the sewage, congealing of grease in pipes and main running traps (house sewer traps), and poor joint construction whereby rootlets grow into the sewer and choke it. Good grade and good construction, with particular care given to the joints, will avert or lessen these troubles. The sewer should be perfectly straight, with the interior of the joints scraped or swabbed smooth. When the joint-filling material has set, the hollows beneath the hubs should be filled with good earth free of stones, well tamped or puddled in place. It is important that like material be used at the sides of the pipe and above it for at least 1 foot. The back filling may be completed with scraper or plow. No running trap should be placed on the house sewer, because it is liable to become obstructed and it prevents free movement of air through the sewer and soil stack. Conductors or drains for rain or other clean water should never connect with the house sewer, but should discharge into a watercourse or other outlet.

[ 34 ]

Where obstruction of a house sewer occurs, use of some of the simple tools shown in figure 22 may remedy the trouble. It is not likely that farmers will have these appliances, except possibly some of the augers; but some of them can be made at home or by a blacksmith, and most of them should be obtainable for temporary use from a well-organized town or city sewer department. The purpose of the several tools shown is indicated in the notation.

The tank.—The septic tank should be in an isolated location at least 50 to 100 feet from any dwelling. This is not always possible, because of flat ground, but in many such instances reasonable distance and fall may be secured by raising both the house sewer and tank and embanking them with earth. Cases are known where tanks adjoin cellar or basement walls and the top of the tank is used as a doorstep; in other cases tanks have been constructed within buildings. Such practices are bad. It is difficulty to construct an absolutely water-tight masonry tank, and still more difficult to make it proof against the passage of sewage odors.

In Northern States, particularly in exposed situations, it is desirable to have the top of the tank 1 to 2 feet underground, thus promoting warmth and uniformity of temperature in the sewage. [ 35 ] In Southern States this feature is less important, and the top of the tank may be flush with the ground. Every tank should be tightly covered, for the reason above stated and to guard against the spread of odors, the transmission of disease germs by flies, and accidents to children.

Fig. 22.—Sewer-cleaning tools—how to use them. A, Ordinary 1½ or 2 inch auger welded to a piece of ¾-inch extra-strong wrought pipe about 5 feet long; the stem is lengthened by adding other pieces of pipe with screw couplings, and is fitted with a pipe handle; all cleaning work should proceed upstream; B, twist or open earth auger; C, ribbon or closed earth auger; D, spiral or coal auger; E, ship auger; F, root cutter; G, sewer rods with hook coupling, usually of hickory or ash 1 or 11 inches in diameter and 3 or 4 feet long; H, gouge for cutting obstructions; I, scoop for removing sand or similar material; J, claw, and K, screw, for removing paper or rags; L, scraper; M, wire brush for removing grease, drawn back and forth with a wire or rope; N, home-made wire brush (for a 5-inch sewer use a 1½-inch wooden pole to which is securely tacked a piece of heavy rubber, canvas or leather belting or harness leather 5½ by 8 inches, spirally studded, as shown, with ordinary wire nails 1½ inches in length).

Considerable latitude is allowable in the design and construction of septic tanks. No particular shape or exact dimensions can be presented for a given number of people. One family of 5 persons [ 36 ] may use as much water as another family of 10 persons; hence the quantity of sewage rather than the number of persons is the better basis of design. Exact dimensions are not requisite, for settlement and septicization proceed whether the sewage is held a few hours more or a few hours less. As to materials of construction some form of masonry, either brick, building tile, rubble, concrete, or cement block, is employed generally. Vitrified pipe, steel, and wood have been used occasionally.

A plant for use all year round should have two chambers, one to secure settlement and septicization of the solids and the other to secure periodic discharge of the effluent by the use of an automatic sewage siphon. The first chamber is known as the settling chamber, the second as the siphon or dosing chamber. The siphon chamber is often omitted and the effluent is allowed to dribble away through subsurface tile, as illustrated in figures 17 and 18. The latter procedure is not generally advised, but may be permissible where the land slopes sharply or has long periods of rest, as at summer houses and camps.

The septic tanks shown in this bulletin are designed to satisfy the following conditions:

1. Water consumption of 40 gallons per person per day of 24 hours.

2. A detention period of about 24 hours; that is, the capacity of the settling chamber below the flow line is approximately equal to the quantity of sewage discharged from the house in 24 hours.

3. Where a siphon chamber is provided, its size is such that the dose of sewage shall be approximately equal to 20 gallons per person; that is, the capacity of the siphon chamber between the discharge and low-water lines is roughly equal to the quantity of sewage discharged in 12 hours.

Fig. 23.—One-chamber septic tank—does nothing more than a tight cesspool. Brick construction, heavily plastered inside; size suitable for 180 to 280 gallons of sewage daily (nominally 4 to 7 persons).

A simple one-chamber brick tank suitable for a household discharging 180 to 280 gallons of sewage daily is shown in figure 23. A small two-chamber tank constructed of 24-inch vitrified pipe, suitable for a household discharging about 125 gallons of sewage daily, is shown in figure 24. A typical two-chamber concrete tank is shown in figure 25. Excepting the submerged outlet, all pipes within the tank [ 37 ] and built into the masonry are cast-iron soil pipe with cast-iron fittings. Vitrified or concrete sewer pipe and specials are generally used as they are frequently more readily obtainable and a slight saving in first cost may be effected. Cast iron is less liable to be broken in handling or after being set rigidly in masonry, and the joints are more easily made water-tight. The submerged outlet is midway of the depth of liquid in the settling chamber. The inside depth of the siphon chamber is the drawing depth of the siphon plus 1 foot 5 inches.

The following table gives the principal dimensions with quantities of materials for four sizes of tank as illustrated in figure 25:

Dimensions and quantities for septic tanks.

Number of persons. Quantity of sewage in 24 hours. Settling chamber.
Capacity below flow line. Length. Depth. Width. W. X. Y. Z.
Galls. Galls. Ft. In. Ft. In. Ft. In. In. Ft. In. In. In.
5 180-280 240 4 0 5 0 2 0 6 2 0 4 6
10 320-480 420 5 0 5 6 2 6 6 2 3 4 6
15 520-680 620 5 6 6 0 3 0 8 2 6 5 8
20 720-960 860 6 0 6 6 3 6 8 2 9 5 8
 
Number of persons. Quantity of sewage in 24 hours. Siphon chamber. Concrete. Cement. Sand. Stone. Reinforcement in top slab (strip of heavy stock fencing).
Length. Depth. Width. A. B. C. D. Length. Width.
Galls. Ft. In. Ft. In. Ft. In. In. In. In. In. Cu. Yd. Bbls. Cu. Yd. Cu. Yd. Ft. In.
5 180-280 5 0 2 8 2 0 3 4 15 18¼ 3 1⅓ 2⅔ 10 3
10 320-480 8 0 2 8 2 6 3 4 15 20¼ 2 14 3
15 520-680 8 8 2 10 3 0 4 4 17 20¼ 6⅔ 3 6 15⅔ 4
20 720-960 10 0 2 10 3 6 4 4 17 20¼ 8 12 7 17½ 5

Siphons.—Reference has already been made to the vital importance of air in sewage filtration. If the spaces within a filter or soil are constantly filled with water, air is excluded, and the action of the filtering material is merely that of a mechanical strainer with its clogging tendency. The purpose of a siphon is twofold: (1) To secure intermittent discharge, thus allowing a considerable period of time for one dose to work off in the soil and for air to enter the soil spaces before another flush is received; (2) to secure distribution over a larger area and in a more even manner than where the sewage is allowed to dribble and produce the conditions of the old-fashioned sink drain—namely, a small area of water-logged ground.

[ 38 ]

Fig. 24.—Two-chamber septic tank, simple and inexpensive. Constructed of 24-inch vitrified sewer pipe; size suitable for 125 gallons of sewage daily (nominally 3 persons). A, House sewer; B, settling chamber, made of one double T branch and one length of straight pipe, each 3 feet long and 2 feet in diameter, supported by 4 inches of concrete, all joints made water-tight; C, submerged outlet, consisting of a metal T slipped into the sewer-pipe branch; D, wire screen, 2-inch mesh; E, siphon chamber made of one T branch 3 feet long and 2 feet in diameter; F, siphon; G, 3-inch overflow; H, sewer to distribution field; I, tight cover with lifting ring; J, concrete protection around sewer-pipe hubs.
>Fig. 25.—Typical two-chamber concrete septic tank. (See table for dimensions and quantities for different sizes.)

[ 39 ]

Three types of sewage siphon are shown in figure 26. In all, the essential principle is the same: A column of air is entrapped between two columns of water; when the water in the chamber rises to a predetermined height, called the discharge line, the pressure forces out the confined air, destroying the balance and causing a rush of water through the siphon to the sewer. The entire operation is automatic and very simple. The siphons shown are commercial products made of cast iron; they have few parts and none that move, and the whole construction is simple and durable. The table (fig. 26) lists stock sizes adapted to farm use. Manufacturers furnish full information for setting their siphons and putting them in operation. For example, take type 2, figure 26: (1) Set siphon trap (U-shaped pipe) plumb, making E (height from floor to top of long leg) as specified; (2) fill siphon trap with water till it begins to run out at B; (3) place bell in position on top of long leg, and the siphon is ready for service. Do not fill vent pipe on side of bell.

Type 2
INCHES
Diameter of siphon A 3 3 4 4
Diameter of outlet B 4 4 4 4
Drawing depth C 13 15 14 17
Depth to floor D 16¼ 18¼ 17¼ 20¼
Height above floor E 11¾
Clearance under bell F 2 2 2 2
Inside bottom of outlet, to discharge line G 20½ 22½ 22¾ 25¾
Discharge line, to top of wall H
Depth of outlet sump I
Length and width of outlet sump J
Diameter of carrier (R),
and minimum fall (S)
in feet per 100 feet

R 4 4 4 4
S 2 ft. 2 ft. 7 ft. 8 ft.
R 5 5 5 5
S 1½ ft. 1½ ft. 2 ft. 2½ ft.
R 6 6 6 6
S 1 ft. 1 ft. 1 ft. 1 ft.
Type 3
INCHES
Type 1
INCHES
Diameter of siphon A 3 3 4 4   4
Diameter of outlet B
Drawing depth C 13 15 14 17 5
Depth to floor D 17 17 19 22 15
Height above floor E 13 13 15 18 19
Clearance under bell F
Inside bottom of outlet, to discharge line G 19 21 20 25
Discharge line, to top of wall H 6 6 8 8
Depth of outlet sump I 13 13 11 12
Length and width of outlet sump J 18 19 19 18
[Transcriber Note: The data for Type 1 Siphon has been added to the table.]
Fig. 26.—Three types of sewage siphon. The table gives dimensions for setting standard 3 and 4 inch siphons; also the appropriate size and grade of the sewer to carry the siphon discharge.

[ 40 ]

The overhead siphon, type 3, figure 26, may be installed readily in a tank already built by addition of an outlet sump. If properly set and handled, sewage siphons require very little attention and flush with certainty. Like all plumbing fixtures they are liable to stoppage if rags, newspaper, and similar solids get into the sewage. If fouling of the sniffing hole or vent prevents the entrance of sufficient air into the bell to lock the siphon properly, allowing sewage to dribble through, the remedy is to clean the siphon. Siphons are for handling liquid; sludge if allowed to accumulate will choke them.

Submerged outlet.—The purpose of a submerged outlet is to take the outflow from a point between the sludge at the bottom and the floating solids or scum. The outlet in figure 25 may be readily made of sheet metal by a tinsmith. Wrought iron or steel pipe with elbows or light lead pipe may be used, the pipe being set in the concrete and left in place. Sometimes a galvanized wire screen (¼-inch mesh) is fitted over the inner end to prevent large solids leaving the settling chamber and possibly clogging the siphon or distribution tile. If a screen is used it should be easily removable for cleaning.

Fig. 27.—Home-made reinforced concrete covers. (1) Slabs placed crosswise permit uncovering the whole tank for cleaning, but as inspection is somewhat difficult, cleaning is the more likely to be neglected; (2) manhole, 18 inches square; cover, 22 by 22 by 3 inches thick, easy to make and to slide or lift from the opening.

Manhole frame and cover.—The frame and cover shown in figure 25 are stock patterns made of cast iron and weighing about 250 pounds per set. The cover is 21 inches in diameter; it is tight and, on account of its weight, is unlikely to be disturbed by small children. The frame or rim is about 7 inches high and 31 inches in longest diameter. If desired, light cast-iron cistern or cesspool covers obtainable from plumbing supply houses, home-made slabs of reinforced concrete (see fig. 27), or wooden covers (see fig. 23) may be used.

Overflow.—The purpose of an overflow is to pass sewage to the distribution field should the siphon stop working. The overflow (fig. 25) is a 3-inch riser pipe with top 3 inches above the discharge line and the bottom calked or cemented into the side outlet of a T-branch. The run of the T-branch should correspond with the size [ 41 ] of the sewer from the tank to the distribution field. If this sewer is 4-inch pipe, a 4 by 3 inch T-branch is used, the 4-inch spigot end of the siphon being calked or cemented into the branch, as shown in figure 25; if the sewer is 5-inch, a 5 by 3 inch T-branch is used and connected to the siphon with a 5-inch to 4-inch reducer (in vitrified specials the equivalent is a 4-inch to 5-inch increaser); if the sewer is 6-inch, a 6 by 3 inch T-branch is used and connected to the siphon with a 6-inch to 4-inch reducer.

Concrete work.—Before excavation for the tank is begun, two wooden forms should be built for shaping the inside of the settling and siphon chambers. In most instances the ground is fairly firm, so that the lines of excavation may conform to the outside dimensions of the tank, the back of the walls being built against the earth. The forms may be made of square-edged boards, braced and lightly nailed, as shown in figure 28. The forms should have no bottom. If it is desired to lay the sides and covering slab in one operation, the top of the forms must be boarded over. All pipe and manhole openings should be accurately placed and cut. The faces of the forms may be covered with paper or smeared with soap or grease to facilitate removal later.

The ground should next be excavated to the proper depth for placing the floors in both chambers. The settling chamber floor, being the lower, should be placed first. Effort should be made to secure water-tight work, a feature of especial importance where leakage might endanger a well or spring. A concrete mixture of 1:2:4 is generally preferred (1 volume cement, 2 volumes sand, 4 volumes stone). The ingredients should be of best quality and thoroughly mixed. The concrete should be poured promptly and worked with a spade or flat shovel to make the face smooth and eliminate pockets or voids within the mass.[10] Before the settling chamber floor has hardened the form should be set upon the floor and the concrete work continued up the sides. The pipe form for the submerged outlet should be set. When the side walls of the settling chamber have reached the bottom of the excavation for the siphon chamber, the siphon trap with its connecting branch and short piece of pipe should be set to proper line and grade and blocked in position. The floor of the siphon chamber should now be poured and the form for that chamber placed thereon, leaving a 6-inch or 8-inch space (according to the thickness of the division wall) between the ends of the two forms. Pouring of all side walls and the top slab should continue without stop, making the entire structure a monolith.

[10] See footnote, p. 17. For more detailed information on form and concrete work the reader is referred to U. S. Department of Agriculture Farmers' Bulletin No. 481, "Concrete Construction on the Live-Stock Farm."

[ 42 ]

Fig. 28.—Forms for concrete work—how to use them.
Click on image to view larger size.

1. Make the forms as shown and to the dimensions required by fig. 25 and the table on p. 37; nails to be driven from the inside and left projecting for drawing with a claw hammer.

2. Excavate to lines 6 or 8 inches, as may be required, outside of the forms and to the depths required for both chambers.

3. Pour settling chamber floor and place form thereon.

4. Pour settling chamber walls to level of siphon chamber excavation, inserting submerged outlet pipe at the proper height.

5. Block siphon trap and connected branch and short pipes to correct line and grade, and fill with concrete around the trap.

6. Pour siphon chamber floor, and place the form thereon.

7. Continue pouring all walls to their full height, inserting the inlet pipe when the concrete reaches that elevation.

8. Do not remove forms till the concrete is hard; with favorable weather, forms for walls only may be removed in 1 to 2 days; forms supporting a cover slab should remain 1 to 2 weeks.

Steel reinforcement.—To stiffen the cover slab and guard against cracking, a little steel should be embedded in the concrete about 1 inch above the inside top. For this purpose a strip of heavy stock fencing is convenient and inexpensive. The line wires should be not less than No. 10 gauge (about 1⁄8 inch) and the stay wires not less than No. 11 gauge. The reinforcement should be cut at manholes and [ 43 ] fastened around manhole openings. If desired a standard wire-mesh reinforcement weighing about one-third of a pound per square foot may be used. Another alternative is to use ¼-inch round rods, spacing the crosswise rods 6 inches apart and the lengthwise rods 12 inches apart. Poultry netting should not be used, because of its lightness.

Sewer from tank to distribution field.—The length of this sewer depends on the situation of the field and the fall to it. The size of the sewer depends on the fall that can be obtained and the size of siphon. The table in figure 26 shows the minimum fall at which 4-inch, 5-inch, and 6-inch sewers should be laid to take the discharge of the 3-inch and 4-inch siphons specified. The line and grade should be set in the same manner as for the house sewer (see fig. 20), and the construction should be as specified under that caption.

Distribution field.—The distribution field or area is a sewage filter, and its selection and the manner of preparing it largely determine the success of subsoil disposal of sewage. As a rule farm land is not the best filtering material. It is too fine grained and fertile. Its tendency is to hold water too long, to admit insufficient air, to clog when even small quantities of sewage are applied. Hence the distribution area should be of liberal size—on the average 500 square feet for each person served. It should be dry, porous, and well drained—qualities that characterize sandy, gravelly, and light loam soils. It should be devoid of trees and shrubbery, thus giving sunlight and air free access. It should be located at least 300 feet downhill from a well or spring used for domestic water supply. Preferably it should slope gently, but sharp slopes are not prohibitive. Subsoiling the area is always desirable.

Clay and other compact, impervious soils require special treatment. Less sewage can be applied to them, and hence it is well to have the area larger than 500 square feet per person. Clay should be subsoiled as deep as possible with a subsoil plow. In some instances dynamite has been of service in opening up the ground to still greater depth. Drainage and aeration should be further promoted by laying tile underdrains, as outlined in figure 19 and shown in more detail in figure 31.

After the construction work the distribution area should be raked and seeded with thick-growing grass. Grass is a safe crop; its water requirement is high, and it affords considerable protection from frost. Suitable grasses are redtop, white clover, blue grass, and Bermuda grass. The area may be pastured or kept as grass land.

Distribution system.—Poor distribution of the sewage and failure to protect the joints of the distribution tile account for most of the failures. Each flush of the siphon should be so controlled that every part of the field will receive its due proportion. The distribution [ 44 ] tile must be so laid that loose dirt will not fall or wash into the open joints.

Different methods of dividing the flush and laying out the distribution tile are shown in figures 29 and 32. Layouts 1, 2, and 3, figure 29, are suitable for flat or gently sloping areas and are planned for the shallow siphon chambers tabulated on page 37. Layout 4, figure 29, is suitable for steep slopes. In all four layouts use is made of one or more V-branches (not Y-branches) to divide the flow equally among the several lines. V-branches, sometimes called breeches, should be leveled with a carpenter's level crosswise the ends of the legs, thus insuring equal division of the flow.

The size and length of distribution tile and the spacing of the lines or runs admit of considerable variation in different soils. Water sinks rapidly in gravels and sands, and hence larger tile and shorter length are permissible than in close soils. Lateral movement is slow in all soils, but extends farther in gravels and sands than in close soils. In average soils the effect on vegetation 5 feet away from the line is practically nil.

From these considerations, with the siphon dose 20 gallons per person, it is usually a safe rule to provide 50 feet of 3-inch tile for each person served and to lay the lines 10 feet apart. Such provision gives a capacity within the bore of the tile lines about equal to the siphon dose, and as some sewage is wasted at each joint a reasonable factor of safety is provided. A spacing of 10 feet will, it is believed, permanently prevent the extension of lateral absorption from line to line, provided the area is fairly well drained. As between 3-inch and 4-inch tile the smaller size costs less and is better calculated to taper the dose to small proportions. Four-inch tile is less likely to get out of alignment or to become clogged; a length of 28 feet has the same capacity in the bore as 50 feet of 3-inch.

Good-quality drain tile in 1-foot lengths or second-quality sewer pipe in 2-foot lengths may be used. The lines are generally laid in parallel runs, but may be varied according to the topography. Layouts 1, 2, and 3, figure 29, for flat or gently sloping land, run with the slope; layout 4, for steep slopes, runs back and forth along the contour in a series of long flat sweeps and short steep curves. The grade of the runs and sweeps should be gentle, rarely more than 10 or 12 inches in 100 feet. In layouts 1, 2, and 3, figure 29 especially, it is desirable that the last 20 feet of each run should be laid level or given a slight upward slope, thus guarding against undue flow of sewage to the lowest ends of the system.

[ 45 ]

Fig. 29.—Methods of laying distribution system: Methods 1, 2, and 3 for flat or gently sloping land; method 4 for steep slopes (see also fig. 32); A, direction of slope; B, contour of field; C, sewer from tank, preferably size 5 inch, though 4 or 6 inch may be used, depending on the fall and the size of the siphon (see table, fig. 26); D, V-branch set to divide the flow exactly; E, reducer, to 4 inches; F, 1⁄8 bend, 4-inch; G, increaser, from 4 inches; H, increaser, 3 to 4 inches; I, reducer, 4 to 3 inches; J, distribution tile, 3-inch; K, distribution tile, 4-inch.

[ 46 ]

The runs should be laid no deeper than necessary to give clearance when plowing and prevent injury from frost. Ten inches of earth above the top of the tile is sufficient generally throughout the southern half of the United States and 18 inches generally in the North, but if the field is exposed or lacks a thick heavy growth of grass the cover should be increased to 2½ or 3 feet near the Canadian line. What is better, the tile in all instances may be laid with a 10-inch cover and in cold weather the runs may be covered with hay, straw, or leaves weighted down, which may be removed in the spring.

Fig. 30.—Four methods of protecting open joints in distribution lines—an all-important work. Sketches show cross-section and longitudinal views; the depth from the surface of the ground to the top of the tile is about 10 inches.

1. A, Subsoil ground; B, 3 or 4 inch drain tile; C, strip of tarred paper about 6
inches wide and extending three-fourths the distance around the tile, allowing sewage
to escape at the bottom; D, coarse sand, gravel, broken stone or brick, slag, cinders, or
coke, the coarsest material placed around the tile (where the ground is naturally very
porous and well drained, special filling in the trench may be omitted); E, natural soil.

2. Drain tile covered with a board laid flat, leaving the entire joint open.

3. Drain tile laid in stoneware gutter pieces and the joint covered with stoneware
caps; gutter and cap pieces are inexpensive commercial products; their radius is longer
than that of the outside of the tile, thus leaving open most of the joint space; the gutter
aids in keeping the tile in line.

4. Vitrified sewer pipe with hubs facing downhill; the spigot end should be centered
in the hub with a few small chinks or wedges.

Making the joints of the distribution tile demands especial attention. For a short distance on the upper end of each run the tile should be laid with ends abutting; the joint opening should be increased gradually to one-eighth inch and this increased to one-fourth in the last 20 feet of the run. All joints should be protected against the entrance of loose dirt. Four methods are shown in figure 30. The lower end of each run should be closed with a brick or flat stone; or, what is better, an elbow or T-branch may be placed on the end and vented above the surface of the ground, improving the flow of sewage, the ventilation of pipes, and the aeration of the soil.

If the distribution tile must be laid in clay or other close, poorly drained soil, special treatment is necessary. A common method is [ 47 ] to subsoil and underdrain the area thoroughly, as shown in figure 31. It is not always possible to run the underdrain in lines between the distribution lines as shown in figures 19 and 31, but it is a desirable thing to do, as the sewage must then receive some filtration through natural soil.

In some instances it is sufficient to lay the distribution tile on a continuous bed, 8 to 12 inches thick, of coarse gravel, broken stone, or brick, slag, coke, or cinders and complete the refill as shown in figure 18 or 31.

Figure 32 shows two other methods of controlling the flow on steep slopes and diverting proper proportions to the several lateral distributors laid along the contour of the field. This work can not be effected properly with T or Y branches; the flow tends to shoot straight ahead, comparatively little escaping laterally. To overcome this difficulty recourse is had to diverting boxes, of which two types are shown in figure 32. These boxes involve expense, but permit inspection and division of the flow according to the needs. They may be built of brick, stone, concrete, or even wood.

Fig. 31.—Close soils should be deeply subsoiled and underdrained. Porous, well-drained, air-filled soil is absolutely necessary. A, Subsoiled ground; B, 3 or 4 inch distribution tile; C, depth variable with the climate, 1¼ to 3½ feet; D, 4-inch underdrain; E, depth such as would prepare land for good crop production, generally 3½ to 4 feet; F, stone or other coarse material; G, gravel grading upward to coarse sand; H, loose soil.

Type 1 consists of a single box, into which all the lateral distributors head. It will be noted that the laterals enter at slightly different elevations, the two opposite the inlet sewer being the highest, the next two slightly lower, and the next two the lowest. This staggering of the outlets, in a measure, offsets the tendency of the flow to shoot across and escape by the most direct route.

Type 2 calls for one or more diverting boxes, according to the number of lateral distributors, and readily permits of wasting sewage at widely separated elevations and distances. The outlet pipes enter the box at slightly different elevations, for the reason already stated. With either type, should the outlets not be set at the right elevations, [ 48 ] partial plugging of the holes and a little experimenting will enable one to equalize or proportion the discharges.

Fig. 32.—Two systems of distribution on steep slopes—use of diverting box. A Direction of slope; B, contour of field; C, 4, 5 or 6 inch sewer from tank; D diverting box; E, 3-inch or 4-inch distribution tile.>

Sewage switch.—The clogging of filters and soils after long-continued application of sewage has been previously referred to. It is, therefore, desirable to arrange the distribution system in two units with a switch between them, so that one area may drain and become aerated while the other is in use. This procedure is especially desirable where the soil is close and the installation of considerable size. It adds to the life and effectiveness of the distribution area and permits use of a plant in case it is necessary to repair, extend, or relay the tile in either unit.

Arrangement in two units does not necessarily mean doubling the amount of tile and the area required in a single field. However desirable [ 49 ] that may be, expense or lack of suitable ground will often prevent. With open sands and gravels and the assumed siphon dose of 20 gallons per person, 15 to 20 feet of 4-inch tile in each unit for each person will usually suffice. With more compact soil it is advisable to more nearly double the requirements previously described. Two simple types of switch are shown in figure 33. The switch should be turned frequently, certainly as often as is necessary to prevent saturation or bogginess of either area.

Fig. 33.—Two simple types of sewage switch. A, Sewer from tank; B, switch box; C, cover; D, blade or stop board (in the left-hand box the direction of flow is controlled by placing the blade in alternate diagonal position; in the right-hand box the stop works in iron guides cast integral with a short piece of light-weight pipe set in the masonry; if desired the guides may be wood, fastened to the masonry with expansion bolts); E, sewer to distribution area; F (right-hand box), alternate position of outlets or additional outlets if required.

A complete installation.—The general layout and working plans of a complete installation built in 1915-16 are shown in figure 34. The plant is larger than those heretofore considered, and involves several additional features. The settling chamber below the flow line has a capacity of 1,000 gallons, and on a basis of 40 gallons per person per day would serve 25 people.

For many years sewage had been discharged through two 4-inch sewers to a cesspool in the rear of the house. The proximity of the well made it unsafe, and the overflow of the cesspool dribbled over the low portion of the garden and barnyard, creating nuisance.

[ 50 ]

The first step was to make borings with a soil auger in the pasture 400 or 500 feet from the house. The borings showed a heavy clay soil to a depth of about 4 feet, underlaid with a sandy stratum only a few inches in thickness. It was decided to locate the distribution area in the pasture and to aid the seepage of sewage by digging numerous filter wells through the clay to the sandy stratum. Levels were taken and a contour plan prepared to serve for laying out the plant and establishing the grades.

Fig. 34.—A complete installation for a large rural home. General layout on a contour plan and construction drawings. Note abandonment of old cesspool near the well and garden and removal of sewage to a lower and safer location in the pasture, where the treatment is subsurface distribution, aided by numerous filter wells about 4 feet deep filled with coarse gravel. Note that sludge is removed from the bottom of the settling chamber by opening the gate on the sludge drain.
Click on image to view larger size.

[ 51 ]

The septic tank is built in one corner of the barnyard, and a 5-inch sewer connects it with the old 4-inch sewers to the cesspool. All sewer pipe joints were poured with a flexible jointing compound. The settling chamber is of hopper shape at the bottom, and a 4-inch sludge drain with gate provides for the gravity removal of sludge. The lower end of the sludge drain is above the surface of the ground and 9 feet below the flow line. The end is protected by a small retaining wall, and the sludge is readily caught in barrels and hauled out on the land for burial. The outlet is low enough to drain the settling chamber completely. If it is desired merely to force out the sludge, the drain may be brought to the surface under a head of 3 to 5 feet, discharging the sludge into a trench or drying bed, to be applied later to the land. A 2-inch waste pipe about mid-depth of the settling chamber permits drawing off the clearer portion of the sewage to the siphon chamber and from thence through another 2-inch waste pipe into the 6-inch sewer leading to the distribution field.

The 4-inch siphon has a drawing depth of 33 inches, and as the siphon chamber is 4 feet wide by 6 feet long the dose is about 500 gallons. The siphon cost $35. The 6-inch sewer to the switch box falls about 6 inches in 50 feet. The distribution field was thoroughly subsoiled, and about 800 feet of 3-inch tile was laid in each unit. At intervals of 25 feet along the distribution trenches 6-inch holes were dug through the clay stratum with a posthole digger. These holes were filled with stone and constitute the filter wells previously mentioned. All tile lines are surrounded with stone and coarse gravel, and the ground has been trimmed to give a uniform cover of 12 inches. All work was done by day labor in a thorough manner. As the men were doing other work at the same time the actual cost is not known, but it is believed the installation cost about $700.

Cost data.—Reliable cost figures are difficult to estimate. Labor, materials, freight, haulage, and other items vary greatly in different localities. The septic tank shown in figure 23 contains about 1,000 bricks and is estimated to cost $60 complete. The septic tank shown in figure 25 for 5 persons is estimated to cost $135; for 10 persons, $170; for 15 persons, $240; for 20 persons, $280. In Maryland, in 1916, the cost of installing a septic tank similar to that shown in figure 25 (for 5 people), including 86 feet of 5-inch house sewer (55 feet of cast-iron pipe passing a well, and 31 feet of vitrified pipe) and 214 feet of second-quality 4-inch sewer pipe in the distribution area, was as follows:

Excavation, labor $7.50
Materials delivered 46.60
Three-inch siphon, including freight 15.75
Construction, labor 28.00
Supervision 5.00
   Total 102.85

[ 52 ]

The quotations in the following table will be found useful in making estimates of cost:

Cost of pipe and drain tile.

(February, 1921.)

Kind of pipe. Size, in inches.
3 4 5 6

Extra heavy cast-iron soil pipe, on cars Chicago, Ill.,
or Washington, D. C.

per foot $0.34 $0.46 $0.61 $0.72

Vitrified salt-glazed sewer pipe, on cars Chicago, Ill.

do .15 .15 .22½ .22½

Vitrified salt-glazed sewer pipe, at factory near
Washington, D. C.

do .12 .12 .18 .18

Clay or shale drain tile, at factory in Ohio

do .03 .03½ .04½ .05½

Clay or shale drain tile, at factory near Washington, D. C.

do .04 .05 .06 .07

The cost of cast-iron fittings may be roughly estimated as follows: Bends, one to one and one-half times the price of straight pipe; T-branches, two times the price of straight pipe; reducers, average of the prices of straight pipe at each end. The cost of clay bends, T-branches, reducers, and increasers may be roughly estimated at four times the price of straight pipe.

Operation.—Attention must be given to every plant to insure success. Unusual or excessive foulness should be investigated. No chemicals should be used in a septic tank; garbage, rags, newspaper, and other solids not readily soluble in water should be kept out of sewers and tanks. The plant should be inspected often, noting particularly if the siphon is operating satisfactorily. If scum forms in the settling chamber it should be removed, and the sludge should be bailed or pumped out yearly. Frequently tanks are not cleaned out for three or four years, resulting in large quantities of solid matter going through to the distribution system and clogging it. Clogging may occur in the tile or in the adjacent soil. In either case the tile should be dug up, cleaned, and relaid. In some cases it has been found advantageous to relay the tile between the former lines. When sewage is applied to fairly porous land at the slow rate here recommended and the plant is well handled the tile lines should operate satisfactorily for many years. Liming heavy soils tends to loosen and keep them sweet.

Field data.—As a basis for outlining or designing a suitable installation the following data should be known:

 1. State, town, and whether in or near an incorporated municipality.

 2. Usual number of persons to be served.

 3. Average daily consumption of water in gallons.

 4. Kind and depth of well, depth to water surface.

 5. Character of soil, whether sandy, gravelly, loamy, clay, or muck.

 6. Condition of soil as to drainage.

[ 53 ]

 7. Character of subsoil.

 8. Character of underlying rock and, if known, its depth below the surface.

 9. Depth to ground water at both house and field where sewage is to be distributed.

10. Minimum winter temperature and approximate depth to which frost goes.

11. Number and kind of buildings to be connected with the sewer.

12. Number and kind of plumbing fixtures in each building.

13. Whether plumbing fixtures are to be put in the basement.

14. Depth of basement floor below ground.

A plan to scale or a sketch with dimensions showing property lines, buildings, wells, springs, and drainage outlets should be furnished. The direction of surface drainage should be indicated by arrows. The slope of the land (vertical fall in a stated horizontal distance) should be given or if possible a contour plan (showing lines of constant elevation) should be furnished.


GREASE TRAPS.

Farm sewage may contain from 10 to 30 pounds of grease and fats per person per year. This grease, originating mainly in the kitchen sink, hinders septic action and clogs pipes, filters, and soils. Half the grease may be stopped by a septic tank, but the remainder goes into the distribution system, interfering with its action. A grease trap is a device for separating the grease from other wastes. The need for it may be lessened by carefully depositing waste greases and fats with the garbage; but one should always be installed if the kitchen is carelessly managed or discharges quantities of greasy water as at institutions, hotels, boarding houses, and bakeshops.

A grease trap should have several times the capacity of the greatest quantity of greasy water discharged into it at one time, in order that the entering water shall be well cooled and the grease congealed. The solidified grease rises to the surface of the water in the trap and is retained therein. A dishpan of greasy water (2½ to 3 gallons) is the largest quantity likely to be discharged at one time from an ordinary kitchen sink, hence the grease trap should have not less capacity than 7 or 8 gallons. Figure 35 shows three types of grease traps suitable for farm use. In each the outlet pipe has small clearance at the bottom. This feature, together with the V-shaped hopper bottom, tends to create a scouring velocity and thus prevent the accumulation of coffee grounds and other solid wastes in the bottom of the trap. A grease trap should be close to the sink it is intended to serve, but not within the kitchen, on account of objectionable odors when the trap is opened to remove grease. It is good practice to place the trap in the cellar or basement, where it is safe from frost yet close to the source of grease.

[ 54 ]

Ready-made grease trap. Vitrified, salt-glazed earthenware.
Diameter.
Inches.
15
18
24
Depth.
Inches.
24
36
36
Home-made grease trap. Concrete or well-plastered brick work; elbow, cross and increaser to be recessed drainage fittings.
Type of grease trap used at U. S. Army camps.
Fig. 35.—Three types of grease trap.
Click here to view larger sized.

[ 55 ]

GENERAL PROCEDURE.

Do not waste money by digging and, partly constructing, afterwards seeking information. Prepare a plan and work from it. Get in touch with your county agricultural and home demonstration agents. Advice may be obtained also from extension workers, State agricultural colleges, State and local boards of health, the United States Public Health Service, and the United States Department of Agriculture. Do not guess distances and levels. Use a measuring tape and some type of level—engineer's, architect's, drainage, hand, or carpenter's. Study this bulletin, and design, lay out, and construct in accordance therewith. Remember to: (1) Isolate the septic tank—locate it 50 to 100 or more feet from any dwelling and, if practicable, to the leeward of prevailing summer breezes; (2) locate the cesspool or sewage distribution field downhill from the well or spring, and, if possible, 300 feet therefrom; (3) select dry, porous, deeply drained ground for disposal of all sewage; (4) do not apply more sewage to a given area of land than can be thoroughly absorbed and oxidized; (5) lay sewers straight and below the reach of frost, ventilate them thoroughly, and make the joints water-tight and root-proof.

Makeshift methods, materials, or devices should be avoided or used sparingly. Do not place a vent pipe in the top of a cesspool or septic tank if near a dwelling. Siphon chamber and siphon may be omitted in those rare instances where it is feasible to discharge into salt water or into a large stream already badly polluted. Disposal of sewage in a running stream should be a last resort. Such practice endangers water supplies downstream, and unless the volume and velocity of flow are good nuisance may be created in the vicinity. Do not neglect inspection and operation. Clean out settling tanks yearly or oftener. All pipe lines below ground should be marked with iron or stone markers to facilitate examination, repair, or extension of the system.

There is a general but erroneous belief that the cost of sewerage is little in the city but almost prohibitive in the country. All personal and realty properties in one eastern city represent a valuation of $10,382 per home, which pays $355 for sewers outside the cellar wall. An average farm in a Middle West State represents a valuation of $17,259. Is not the farmer justified in the small outlay required to dispose of the farm sewage? Because of the issuance of bonds and the apportionment of sewer assessments for a series of years the city dweller may have his burden distributed over a long period. The farmer does not pay interest on these obligations, and sewer work can be done more cheaply in the country than in the city.

Safe disposal of farm sewage is not a passing fad but a vital necessity. Besides being an asset a good sewerage installation greatly promotes the wholesomeness and healthfulness of the farm. Moreover the benefits are far-reaching, because farm products go into every home, and farm and urban populations mingle freely.


Transcriber Note

Two headers (Kitchen-Sink Drainage and Cesspools) were added to the Table of Contents based on their formatting in the text. Minor typos have been corrected. Illustrations were moved to prevent splitting paragraphs. Figure 21. was moved adjacent to the directions and specifications on Page 32. Due to space considerations in the text only version, emphasis of column headers were sometimes eliminated and some of the tables were rearranged.

*** END OF THE PROJECT GUTENBERG EBOOK 63094 ***