The Project Gutenberg eBook of The Aneroid Barometer: Its Instruction and Use, by George Washington Plympton

This eBook is for the use of anyone anywhere in the United States and most other parts of the world at no cost and with almost no restrictions whatsoever. You may copy it, give it away or re-use it under the terms of the Project Gutenberg License included with this eBook or online at www.gutenberg.org. If you are not located in the United States, you will have to check the laws of the country where you are located before using this eBook.

Title: The Aneroid Barometer: Its Instruction and Use

Author: George Washington Plympton

Release Date: December 9, 2022 [eBook #69513]

Language: English

Produced by: deaurider and the Online Distributed Proofreading Team at https://www.pgdp.net (This file was produced from images generously made available by The Internet Archive)

*** START OF THE PROJECT GUTENBERG EBOOK THE ANEROID BAROMETER: ITS INSTRUCTION AND USE ***


THE
ANEROID BAROMETER:
ITS
Construction and Use.


THIRD EDITION.

REVISED AND ENLARGED.


NEW YORK:

D. VAN NOSTRAND COMPANY,

23 Murray and 27 Warren Street.

1890.

Copyright, 1884,
By
D. VAN NOSTRAND.


CONTENTS.

  Page.
Chapter I.—The Atmosphere  5
Chapter II.—Barometric Measurements of Altitudes 27
Chapter III.—Aneroid Barometers: Their Construction 39
Chapter IV.—The Use of Aneroid Barometers 52
Chapter V.—Suggestions in Regard to the Selection and Systematic Use of an Aneroid 77
Table I.—Prof. Airy’s Table of Altitudes 88
Table II.—Logarithmic Table 106
Table III.—Metric Altitude Table 121
Table IV.—Corrections for Mercurial Barometer 125
Table V.—Boiling Point of Water corresponding to Different Barometric Pressures 126

PREFACE TO SECOND EDITION.

The fact that the first edition of this little manual is entirely exhausted is a sufficient indication that it supplied a want. As the use of the Aneroid Barometer is on the increase, the presumption is that there will be a further demand for this book of tables and instructions.

It has been thought advisable to rearrange the matter and to increase it by fuller descriptions of different instruments; and what is of more importance to the novice in measuring altitudes, to add a number of examples.

Another table has also been added to the collection of the previous edition.


[Pg 5]

THE ANEROID BAROMETER:

ITS CONSTRUCTION AND USE.


CHAPTER I.
THE ATMOSPHERE.

The gaseous envelope which surrounds our globe, and to which we give the name of atmosphere, is subject to many and varied changes. In the relative amount of the two gases which chiefly compose it, it remains marvelously constant; yielding upon analysis the same ratio of oxygen to nitrogen for all latitudes and all altitudes. It is only within a few restricted and generally confined areas where the natural chemical processes of respiration, combustion or fermentation are active, that the free oxygen is found to be notably deficient, and the product, [Pg 6] carbonic dioxide, which exists normally to the extent of one twenty-fifth of one per cent., is, to a corresponding extent, in excess.

When, however, we regard the conditions which arise from its physical properties, no such constancy is observable. Indeed, it seems the most fitting type of a transitory state, and whether we regard the temperature, the moisture, the pressure resulting from its weight, or the direction and velocity of its motions, we can only acquaint ourselves with the limits within which these conditions have been known to vary. The nature of the changes within these limits we cannot, in the present state of our knowledge, assume to predict for the future, except for very limited periods; and even then the prediction is set forth only as a “probability.”

Certain average conditions are noticeable as belonging to certain areas or zones of the earth, and differing somewhat among themselves, especially as to greater or less range in temperature, moisture, etc. To such general conditions we apply the term climate. [Pg 7]

The department of science which regards the physical phenomena arising from these varying conditions is called meteorology. The instruments employed with which to indicate or measure the extent of these changes, are of various kinds. Thus the thermometer indicates the relative temperature, the hygrometer the humidity, the anemometer the force or the velocity of the wind, and the barometer the pressure of the air which arises directly from its weight.

It is with the last of these instruments that we are especially concerned in the present essay. It has two quite distinct uses: One to indicate the varying pressures of the air at some fixed point for meteorological purposes, and the other to indicate difference in altitude of points to which the instrument is carried by affording a measure of the greater or less amount of atmosphere above it. Before using the instrument to measure altitudes it is important to become somewhat familiar with its use as a stationary instrument. The [Pg 8] barometer most frequently employed for such use is the one invented by Toricelli in 1643. It is too well known to require description here. It will be sufficient to say that it measures the varying pressure of the air by the varying length of a column of mercury which balances the pressure.

When the barometer is employed for the purposes of meteorology only, the following facts are taken into consideration. We quote from Buchan’s “Handy Book of Meteorology.”

Variations of the Barometer.—The variations observed in the pressure of the air may be divided into two classes, viz., periodical and irregular; the periodical variations recurring at regular intervals, whilst the irregular variations observe no stated times. The most marked of the periodical variation is the daily variation, the regularity of which in the tropics is so great that, according to Humboldt, the hour may be ascertained from the height of the barometer without an error of more than 15 or 17 minutes on the average. This [Pg 9] horary oscillation of the barometer is masked in Great Britain by the frequent fluctuations to which the atmosphere is subjected in these regions. It is, however, detected by taking the mean of a series of hourly observations conducted for some time. The results show two maxima occurring from 9 to 11 a.m. and from 9 to 11 p.m., and two minima occurring from 3 to 5 a.m. and from 3 to 5 p.m. (See Table, page 10.)

The maxima occur when the temperature is about the mean of the day, and the minima when it is at the highest and lowest respectively.

This daily fluctuation of the barometer is caused by the changes which take place from hour to hour of the day in the temperature, and by the varying quantity of vapor in the atmosphere. [Pg 10]

Table Showing the Daily Variations and Range of the Barometer in Different Latitudes.

 
  Lat. A.M. P.M.   Range.
Min. Max. Min. Max.
     Inches.   Inches.   Inches.   Inches.   Inches. 
Atlantic Ocean 0.0  -.056 +.069 -.045 +.045 .125
Pacific Ocean 0.0  -.032 +.040 -.045 +.028 .085
Sierra Leone   8.28 N. -.022 +.032 -.038 +.031 .070
Lima  12.3  S. -.071 +.065 -.067 +.050 136
Calcutta 22.36 N. -.017 +.052 -.038 +.018 .090
Pekin 39.53 N. -.038 +.047 -.052 +.014 .099
Great St. Bernard 45.51 N. -.010 +.005 -.003 +.012 .022
Plymouth (England)   50.21 N. -.007 +.006 -.010 +.010 .020
St. Petersburg 59.58 N. -.003 +.008 -.004 +.002 .012
 

[Pg 11] The surface of the globe is always divided into a day and night hemisphere, separated by a great circle which revolves with the sun from east to west in twenty-four hours. These two hemispheres are thus in direct contrast to each other in respect of heat and evaporation. The hemisphere exposed to the sun is warm, and that turned in the other direction is cold. Owing to the short time in which each revolution takes place, the time of greatest heat is not at noon, when the sun is in the meridian, but about two or three hours thereafter; similarly, the period of greatest cold occurs about four in the morning. As the hemisphere under the sun’s rays becomes heated, the air, expanding upwards and outwards, flows over upon the other hemisphere where the air is colder and denser. There thus revolves round the globe from day to day, a wave of heat, from the crest of which air constantly tends to flow towards the meridian of greatest cold on the opposite side of the globe.

The barometer is influenced to a large extent by the elastic force of the vapor of water invisibly suspended in the atmosphere, in the same way as it is influenced by the dry air (oxygen and hydrogen). But the [Pg 12] vapor of water also exerts a pressure on the barometer in another way. Vapor tends to diffuse itself equally through the air; but as the particles of air offer an obstruction to the watery particles, about 9 or 10 a.m., when evaporation is most rapid, the vapor is accumulated or pent up in the lower stratum of the atmosphere, and being impeded in its ascent its elastic force is increased by the reaction, and the barometer consequently rises. When the air falls below the temperature of the dew-point, part of its moisture is deposited in dew, and since some time must elapse before the vapor of the upper strata can diffuse itself downwards to supply the deficiency, the barometer falls—most markedly at 10 p.m., when the deposition of dew is greatest.

Hence, as regards temperature, the barometer is subject to a maximum and minimum pressure each day—the maximum occurring at the period of greatest cold, and the minimum at the period of greatest heat. And as regards vapor in the atmosphere, the barometer is subject to two maxima [Pg 13] and minima of pressure—the maxima occurring at 10 a.m., when, owing to the rapid evaporation, the accumulation of vapor near the surface is greatest, and about sunset, or just before dew begins to be deposited, when the relative amount of vapor is great; and the minima in the evening, when the deposition of dew is greatest, and before sunrise, when evaporation and the quantity of vapor in the air is least.

Thus the maximum in the forenoon is brought about by the rapid evaporation arising from the dryness of the air and the increasing temperature. But as the vapor becomes more equally diffused, and the air more saturated, evaporation proceeds more languidly; the air becomes also more expanded by the heat, and flows away to meet the diurnal wave of cold advancing from the eastwards. Thus the pressure falls to the afternoon minimum about 4 p.m. From this time the temperature declines, the air approaches more nearly the point of saturation, and the pressure being further increased by accessions of [Pg 14] air from the warm wave, now considerably to the westward, the evening maximum is attained. As the deposition of dew proceeds, the air becomes drier, the elastic pressure of the vapor is greatly diminished, and the pressure falls to a second minimum about 4 a.m.

The amount of these daily variations diminishes from the equator towards either pole, for the obvious reason that they depend, directly, or indirectly, on the heating power of the sun’s rays. Thus, while at the equator the daily fluctuation is 0.125 inch, in Great Britain it is only a sixth part of that amount. It is very small in the high latitudes of St. Petersburg and Bossekop; and in still higher latitudes, at that period of the year when there is no alternation of day and night, the diurnal variation probably does not occur. In the dry climate of Barnaul, in Siberia, there is no evening maximum; the lowest minimum occurs as early as midnight, and the only maximum at 9 a.m. [Pg 15]

Since the whole column of the atmosphere, from the sea level upwards, expands during the heat of the day, thus lifting a portion of it above all places at higher levels, it is evident that the afternoon minimum at high stations will be less than at lower stations, especially when the ascent from the one to the other is abrupt. Thus, at Padua, in Italy, the afternoon minimum is 0.014 inch, but at Great St. Bernard it is only 0.003 inch.

Annual Variation.—When it is summer in the one hemisphere, it is winter in the other. In the hemisphere where summer prevails, the whole air being warmer than in the other hemisphere, expands both vertically and laterally. As a consequence of the lateral expansion there follows a transference of part of the air from the warm to the cold hemisphere along the earth’s surface; and, as a consequence of the vertical expansion, an overflow in the upper regions of the atmosphere in the same direction. Hence, in so far as the dry air of [Pg 16] the atmosphere is concerned, the atmospheric pressure will be least in the summer and greatest in the winter of each hemisphere. But the production of aqueous vapor by evaporation being most active in summer, the pressure on the barometer will be much increased from this cause. As the aqueous vapor is transferred to the colder hemisphere it will be there condensed into rain, and being thereby withdrawn from the atmosphere, the barometer pressure will be diminished; but the dry air which the vapor brought with it from the warm hemisphere will remain, thus tending to increase the pressure.

In the neighborhood of the equator there is little variation in the mean pressure from month to month. Thus, at Cayenne, the pressure in January is 29.903 inches, and in July 29.957 inches.

At Calcutta, 22° 36' N. lat., the pressure is 29.408 in July, and 30.102 in January, thus showing a difference of 0.694; and at Rio de Janeiro, 22° 57' S. lat., it is 29.744 in January (summer), and 29.978 [Pg 17] in July (winter), the difference being 0.234. The large annual variation at Calcutta is caused jointly by the great heat in July, and by the heavy rains which accompany the south-west monsoons at this season; while in January the barometer is high, owing to the north-east monsoons, by which the dry cold dense air of Central Asia is conveyed southward over India.

At places where the amount of vapor in the air varies little from month to month, but the variations of temperature are great, the difference between the summer and winter pressures are very striking. Thus, at Barnaul and Irkutsk, both in Siberia, the pressures in July are respectively 29.243 and 28.267, and in January 29.897 and 28.865, the differences being upwards of six-tenths of an inch. The great heat of Siberia during summer causes the air to expand and flow away in all directions, and the diminished pressure is not compensated for by any material accessions being made to the aqueous vapor of the atmosphere; [Pg 18] and, on the other hand, the great cold and little rain in that region during winter causes high pressures to prevail during that season. The same peculiarity is seen, though in a modified degree, at Moscow, St. Petersburg, and Vienna.

At Reykjavik, in Iceland, the pressure in June is 29.717, and in December 29.273; at Sandwich, Orkney, 29.775, and 29.586; and at Sitcha, in Russian America, 29.975, and 29.664. In all these places the distribution of the pressure is just the reverse of what obtains in Siberia, being least in winter and greatest in summer. The high summer pressures are due to the cool summer temperatures as compared with surrounding countries, thus causing an inflow from these regions, and to the large amount of vapor in the atmosphere, thus still further raising the barometric column. On the other hand, the low winter pressures are due to the comparatively high winter temperatures causing an outflow towards adjoining countries, and the large [Pg 19] winter rainfall which, by setting free great quantitles of latent heat, still farther augments and accelerates the outflow.

The variations in mean pressure are very slight, and not marked by any very decided regularity in their march through the seasons, at Dublin, Glasgow, London, Paris, and Rome. As compared with Barnaul and Reykjavik their temperature is at no season very different from that of surrounding countries, and the vapor and rainfall are at no time much in excess or defect, but are more equally distributed over the different months of the year.

At the Great St. Bernard, 8174 feet above the sea, the pressure in summer is 22.364 inches, while in winter it is only 22.044. At Padua, there is scarcely any difference in the pressure between summer and winter. The increase in the summer pressure at the Great St. Bernard is no doubt due to the same cause already referred to in art. 65—viz., the expansion of the air upward during the warm summer months, thus [Pg 20] raising a larger portion of it above the barometer at the highest station. But at St. Fe de Bogota, 8615 feet high, near the equator, and where, consequently, the difference between the temperature in July and January is very small, the difference in the pressures of the same months is also very small, being only 0.035.

Distribution of Atmospheric Pressure over the globe, as determined by the Annual Means.—Though much additional observation is required, especially in Africa, Asia, and South America, before the isobarometric lines can be laid down on a map of the world, yet many important conclusions regarding the mean barometric pressure have been arrived at from the results already obtained. We have seen that the daily and monthly variations of pressure observed at different places are modified by the variations of the temperature of the air, the amount of vapor, and the rainfall. Since these are in their turn greatly modified by the unequal distribution of land and water on the earth’s surface, we should expect to find the pressure, and the [Pg 21] variations in the pressure, most regular in the southern hemisphere. Accordingly, there is a remarkable regularity observed in the distribution of the pressure from about 40° N. lat. southwards to the Antarctic Ocean, with the exception of the region of the monsoons in Southern Asia.

The mean pressure in the equatorial regions is about 29.90; at 20° N. lat. it rises to 30.00, and at 35° N. lat. to 30.20, from which northwards the pressure is diminished. The same peculiarity is seen south of the equator, but it is not so strongly marked. At 45° S. lat. it falls to 29.90, and from this southwards it continues steadily and rapidly to fall to a mean pressure of 28.91 at 75° S. lat. This extraordinary depression of the barometer in the Antarctic Ocean, being one inch less than at the equator and 1,326 inches less than at Algiers, is perhaps the most remarkable fact in the meteorology of the globe.

The pressure in the north temperate and frigid zones is in striking [Pg 22] contrast to the above. From Athens, in a north-eastern direction, a high isobarometric line traverses Asia, passing in its course Tiflis, Barnaul, Irkutsk, and Yakutsk. To the east of the northern part of this area of high mean pressure, around the peninsula of Kamtschatka, there is a region of low barometer, the mean pressure being only 29.682. There is another remarkable area of low pressure around Iceland, the center being probably in the south-west of the island near Reykjavik, where the mean is 29.578. As observations are more numerous in Europe and North America, the dimensions of this depression may be defined with considerable precision by drawing the isobarometric of 29.90, which is about the mean atmospheric pressure. This line passes through Barrow Straits in North America, thence south-eastward toward Newfoundland, then eastward through the north of Ireland, the south of Scotland, and the south of Sweden, whence it proceeds in a north-easterly direction to Spitzbergen. The following mean annual [Pg 23] pressures will show the nature of the depression: New York, 30.001; Paris, 29.988; London, 29.956; Glasgow, 29.863; Orkney, 29.781; Bergen, 29.804; Spitzbergen, 29.794; Reykjavik, 29.578; Godthaab, in S. Greenland, 29.605; Upernavik, in N. Greenland, 29.732; and Melville Island, 29.807. A depression also occurs in India, where the mean is only about 29.850, whereas in the same latitudes elsewhere it is about 30.100.

There are thus four areas of low pressure on the globe, the extent of each being nearly proportioned to the depth of the central depression—viz., Antarctic Ocean, the least pressure being 28.910; Iceland, 29.578; Kamtschatka, 29.682; and India, 29.850; and three areas of high pressure, one lying between latitudes 20° and 40° N., another between 15° and 35° S., and the third in Central Asia, from south-west to north-east. These low mean pressures are by no means constant in all cases during the months of the year. In the Antarctic Ocean they are nearly constant during the months, with perhaps a slight [Pg 24] tendency to an increase in winter. In the region of low pressure around Iceland the pressure is a little less than elsewhere in summer; but in winter, when the rainfall is heaviest, it is very much less, being 0.251 inch less in winter than in summer at Reykjavik, and 0.189 at Sandwich, in Orkney. Similarly at Petropaulovski, in Kamtschatka, the pressure in winter is 0.323 less than in summer. Hence the low mean annual pressures in the North Atlantic and the North Pacific are chiefly brought about by the low pressure during the cold months of the year, and are doubtless caused by the copious rainfall during that season. On the other hand, in Southern Asia, the lowest pressures occur in summer. Thus, at Calcutta it is 29.408 in July, while in January it is 30.102—the average pressure for that degree of north latitude. Hence, in Hindostan, the low mean annual pressure arises from the very low pressure in summer caused by the heavy rains falling at that season, particularly on the south slope of the Himalayas. Generally the [Pg 25] pressure is low wherever a copious rainfall prevails over a considerable portion of the earth’s surface, owing to the large quantity of caloric set free as the vapor is condensed into rain.

It is scarcely necessary to point out how important it is to keep in mind these facts of the pressure of the atmosphere, it being evident, for instance, that a pressure of 29.00 in the North Atlantic would portend stormy winds, while the same pressure south of Cape Horn, being the mean pressure there, would indicate settled weather.

The readings of the mercurial barometer are subjected in nice observations to several corrections:

1st. To 32° F. allowance being made for expansion of both mercury and scale for all observations above that temperature. A barometric pressure of thirty inches at 32° would be indicated by a height of 30⅒ inches at 70°.

[Pg 26]

2d. For decrease of gravitation at stations above the level of the sea, acting on both the mercury and the air.

3d. For increase of gravity with increase of latitude.

4th. For temperature of air; the density decreasing as temperature rises.

5th. For humidity of the air which also influences its density.

6th. For capillary attraction of the tube.


[Pg 27]

CHAPTER II.
BAROMETRIC MEASUREMENTS
OF ALTITUDES.

The text books in physics present formulas for computing heights from barometric observations, based on physical laws which we will briefly give.

If the density of the air were constant throughout, the measurement of heights would be a problem of the simplest character; for as mercury weighs 10,500 times as much as air at the sea level, the mercurial column would fall one inch for every 10,500 inches of ascent above the sea. But air is compressible, and, in accordance with Boyle’s law, its density varies with the pressure to which it is subjected.

Now suppose the atmosphere divided into layers of uniform thickness, but so thin that the density may be considered uniform throughout. [Pg 28]

Let h = the thickness of each layer.
  W = weight of a cubic foot of air at pressure H.
  W₁ = weight of a cubic foot of air at H.
 H₀ H₁, &c. = pressures measured in inches of mercury.

Then the pressure upon the unit of surface of any layer is greater than that upon the surface of next higher layer, by the weight of a volume of air whose base is the unit of surface and whose height is the thickness of the layer. If one foot be the unit of surface, then this quantity would be hW. And to express it by height of mercury column, it is necessary to multiply by

 which gives

But W : W₀ : : H : 30.

W₀ being the weight of a cubic foot air at the level of the sea (=.0807 at 32°F).

We have from the above

 ,

and the above expression for diminution may be written

 .

[Pg 29] If H₀ H₁ H₂ represent the pressures at the surfaces of the successive layers, we shall have

Multiplying these equations and suppressing common factors, we get

If h be taken at one foot then n would represent the number of feet vertically between two stations at which the barometric pressures are Hn and H₀ respectively.

By substituting for W₀ its value and taking logarithms we have

whence

[Pg 30] For use in accurate observations, corrections are required for temperature, humidity and variation in the force of gravity.

La Place’s formula which includes terms derived from the consideration of these conditions is obtained as follows:

Suppose a portion of the atmosphere included between two stations at different altitudes to be divided into very thin laminæ.

Let z be the distance of one of these from the surface of the globe and dz its thickness.

Let P be the pressure upon a unit of surface upon the lower side of this layer; and W the weight per cubic meter of the air at this pressure.

Then the pressure on the upper side will be less than P by an amount equal to the weight of a column of air whose base is a unit and height is equal to dz.

Whence

If W₀ be the weight of a cubic meter of air at the temperature 0°C [Pg 31] and a barometric pressure of 0.ᵐ76, the weight of this same volume at pressure P and temperature ϴ would be

a being the coefficient of dilatation of air which is here taken at .004 in consequence of the constant presence of watery vapor.

This expresses the weight at the surface of the globe. If transferred to the height z, the weight would be diminished in the ratio of the squares of the distances from the center of the earth. We should then have

Substituting in equation 1, dividing by P and integrating between 0 and z, we get, by calling the pressure at the lower station P₀

the logarithm being Napierian.

From this we obtain [Pg 32]

But the pressures P₀ and P are in direct ratio of the mercury columns which we will designate by h₀ and h. These columns also vary in weight in accordance with the law of inverse squares of distance from the earth’s center, so that

Substituting in the value of z, we have

But as z is so very small compared with R₁ we may replace  by  .

Also  may be neglected.

We shall then have

The weight W₀ refers to the height h₁ the lower of the two [Pg 33] stations. At the surface of the earth, this weight would be greater in the ratio of  . But as h is always small compared with R this correction may be neglected.

But there is another of more importance which should be taken into account. On account of the spheroidal form of the globe weight varies with the latitude. If G represent the weight of a body at latitude 45°, then at any other latitude l, its weight, is found by multiplying G by

This factor is to be applied to W₀ in the formula. This is accomplished by multiplying the above value of z by

In order to simplify the expression we will substitute for  the mean between the temperatures of the upper and lower stations, designated by t₀ and t. The factor  then becomes

and the value of z may be written [Pg 34]

If M be used to represent the modulus of the Napierian logarithms we may write

in which the logarithms are of the common kind.

This is La Place’s formula. h in the expression is not the barometric height directly observed at the upper station, but this height reduced to the temperature of the lower station.

The value of  has been determined by trial of the formula upon known altitudes. Ramond in his survey of the Pyrenees determined its value to be 18336. [Pg 35]

The unknown term z in the second member is determined by successive approximations.

The first value being

This being substituted, we may have

Finally, these being substituted in the above value of z we get

The terms of this formula are generally reduced to tabular form for practical use.

Guyot’s formula which is derived from this, reducing meters to feet and the constants depending on temperature being changed to accord with Fahrenheit’s scale, is

[Pg 36]

The three terms after the first are the corrections. The first being that for the temperature at the two stations. The second is the correction for the force of gravity depending on the latitude.

The third contains, first the correction for action of gravity on the mercury column at the elevation z, and second a correction required for decrease in density of air owing to decrease in action of gravity at the greater elevation. The factor s being the approximate difference in altitude of the stations.

Plantamour’s formula, which has been much used, differs slightly from Guyot’s. The first coefficient is 60384.3. The denominator of temperature term is 982.26 and a separate correction is used for humidity of the air.

To use either of these formulas tables are necessary, of which those [Pg 37] prepared by Lieut. Col. Williamson[1] are the most elaborate.

For the Aneroid in ordinary practice, formulas of much less complexity may be profitably used. The corrections depending upon the gravity of the mercury column would, in any case, be omitted. The other corrections may in very nice work be retained. But a correction depending on the effect of changes of temperature on the metallic work of the instrument should be carefully remembered. First-class Aneroids claim to be compensated, but a greater portion will need a correction which the purchaser can determine for himself, by subjecting the instrument to different temperatures while the pressure remains constant.

A modification of Guyot’s formula adapted to aneroid work was suggested in an excellent paper on the use of the aneroid, read before the American Society of Civil Engineers, in January, 1871. [Pg 38]

It is

D is the difference of altitude in feet. H and h are the barometric readings in inches.

T and t are the temperatures of the air at the two stations.

Table II is prepared for the use of this formula.

Other formulas will be given in another chapter.

[1] The use of the Barometer on Surveys and Reconnoisances. By R. S. Williamson. New York: D. Van Nostrand. London: Trubner & Co.


[Pg 39]

CHAPTER III.
ANEROID BAROMETERS:
THEIR CONSTRUCTION.

The general principle of construction of all aneroids is the same. A box with flexible sides, hermetically sealed, the air having been first exhausted, changes its form as the pressure of the atmosphere varies.

The chief differences in the various kinds lie in the mechanical devices, by which the motions of the box are rendered apparent to the eye, and also measured in such a manner as to allow the corresponding pressures to be expressed in inches of mercury. [Pg 40]

Fig. 1.

The aneroid was invented about the beginning of this century, but was first made of a serviceable form by Vidi, in 1848. It is substantially the form most used to-day. The vacuum box is a thin low cylinder, and the motion of the thin flexible head of the cylinder is conveyed by suitable mechanism to the index hand. Vidi’s aneroid is shown in Fig. 1. D is the vacuum box, supporting the upright pillar M upon its center. As M rises or falls, a corresponding motion is given to the [Pg 41] plate C. A counter-pressure is afforded by the spiral spring S. The motion of C is conveyed by the links 1 and 2 to a little rocker shaft, shown in the figure. An arm, 3, attached to this shaft is connected by a minute chain with the shaft which carries the index pointer. It is kept wound to the proper tension about this shaft by a fine spiral hair spring.

Fig. 2.

[Pg 42]

Fig. 3.

A modification of this is shown in Figs. 2 and 3. (See, also, frontispiece). This is Naudet’s aneroid, and is the one chiefly employed now. It differs from Vidi’s in the substitution of the thin [Pg 43] laminated spring (B in frontispiece) for the spiral spring (S in Fig. 1).

Fig. 4.

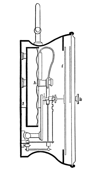
One of the oldest forms of box barometer and the one to which the name aneroid is restricted by some writers, is represented in Fig. 4. A rectangular tube, from which the air has been perfectly [Pg 44] exhausted, is sealed hermetically, and, having been bent into the form represented in the figure by cbd, is made fast at the middle point b. The varying pressure of the atmosphere causes the extremities c and d to approach or recede from each other. This motion is converted into a to-and-fro traverse of the index, by a mechanism sufficiently well exhibited by the diagram.

This is known as Bourdon’s form. It is not now employed for delicate work. The forms of Vidi and Naudet are, by some writers, designated the holosteric barometers.

The graduation of these instruments is made to correspond with the height of the mercurial barometer, and is expressed as inches or millimeters.

The difficulties to be met by the maker, in securing accuracy of working, are those which arise chiefly from the varying elasticity of the several metallic elements under change of temperature. Greater simplicity of construction might be presumed to be attended with a [Pg 45] smaller liability to a kind of error, for which it is exceedingly difficult to compensate. This is the theory of the Goldschmid Aneroid.

The instrument designed for ordinary engineering use is represented by Fig. 5. The size recommended by the present makers for this service is 3⅛ inches in diameter and 2½ inches high. [Pg 46]

Fig. 5.

Fig. 6.

Fig. 7.

The construction is exhibited by Fig. 6. The vacuum box, constructed as before described, is shown at aa. The motions of the box, caused by variations of atmospheric pressure, are conveyed directly to the lever, whose fulcrum is at e″, and whose free end is at e. This end, projecting through the side of the casing and working freely through a slot, is observed with a magnifying lens, and the reading on the index ff taken. But it is evident that the lever, working with proper ease on its fulcrum, must be supplied with a certain amount of counter-pressure. This is ingeniously done by aid of the delicate spring e', which is attached to the lever near the fulcrum. Bearing on the spring is the point of the micrometer screw M, whose head is graduated to hundredths and forms the top of the case. Both lever and spring are furnished at their extremities with bright [Pg 47] metal heads, whose end surfaces lie in the same plane. The head e' is, under ordinary conditions, higher than e, as shown in Fig. 6. When a reading is to be taken the top of the case is turned until e' and e are side by side; the horizontal marks borne on the metallic heads being brought to an exact coincidence by aid of a lens (P in Fig. 5). The reading of the inches is taken from the scale ff, and of the hundredths from the divisions on the scale around the top of the box T; a fixed point c being marked on the cylinder. In figure 7 the indices exhibit a reading of 29.75 inches.

The thermometer F is an important part of the instrument.

In some of these instruments the scale ff bears no reference to the inches of the mercurial barometer, but is of an arbitrary character, and is different for different instruments. The value of the divisions is determined by comparison with standard instruments, and is carefully expressed in tabular form on the cover of the box. [Pg 48]

Some corrections for temperature and pressure are required in the use of these instruments which, although desirable in the more common forms of aneroid, have not heretofore been considered necessary. In the latter instruments, however, when of the best construction, a compensation has been effected which renders a correction for temperature unnecessary. In the Goldschmid aneroids no compensation is attempted, but each instrument is furnished with a table of corrections which have been prepared from observation on standard instruments.

Thus, aneroid No. 3187, imported last year, bears on the cover the following: [Pg 49]

CORRECTION TABLE.

For Division.     For Temperature.
26.0″ = -0.02 28° to 48° = 0
26.5″ = -0.03 52° = +0.01 
27.0″ = -0.03 56° = +0.015
27.5″ = -0.02 60° = +0.025
28.0″ = 0 64° = +0.035
28.5″ = +0.03 68° = +0.04 
29.0″ = +0.06 72° = +0.05 
29.5″ = +0.10 76° = +0.07 
30.0″ = +0.14 80° = +0.09 
30.5″ = +0.19 84° = +0.11 
31.0″ = +0.25 92° = +0.15 

The temperatures are, of course, taken from the thermometer that forms a part of the instrument, and which, when the latter is carried slung from the shoulder, may exhibit a temperature considerably higher than that of the air.

A smaller and ruder instrument called the Pocket Aneroid is made by the Zurich manufacturers. It is only 1½ inches in diameter and 1¼ inches high. A bar fastened to the top of the vacuum box takes the place of the lever in the larger instrument.

A larger size is also made in which the movements of the vacuum box are directly observed with a compound microscope. [Pg 50]

Fig. 8.

 

Fig. 9.

There is no doubt that all aneroids need a careful comparison with standard instruments or a series of trials upon known altitudes, in order to determine the proper corrections. Such trials should be made at different temperatures and under different conditions as to rising or falling at the time of observation. The tables of corrections [Pg 51] furnished by the maker cannot well be substituted for those made by a careful observer deduced from systematic work. The air pump, the hot chamber and the freezing box are convenient, but inadequate substitutes for a large number of trials under normal conditions.


[Pg 52]

CHAPTER IV.
THE USE OF ANEROID BAROMETERS.

The Aneroid, like the Mercurial barometer may be used either as a weather indicator or in the measurement of altitudes. When used in the former capacity, the Aneroid, especially at sea, possesses some obvious advantages. Aside from its superior compactness of form and its portability, it responds more readily to the changes in atmospheric pressure than the Mercury column, and thereby serves more efficiently to warn the mariner of sudden tempests.

The words Rain—Change—Fair seen stamped or engraved on the dial of many barometers have, of course, no special significance, and are now rarely seen on first-class instruments of either kind. The probable changes of weather indicated by changes of the barometer are briefly set forth in the following: [Pg 53]

RULES FOR FORETELLING THE WEATHER.

A Rising Barometer.

A “rapid” rise indicates unsettled weather.

A “gradual” rise indicates settled weather.

A “rise” with dry air, and cold increasing in summer, indicates wind from Northward; and if rain has fallen better weather is to be expected.

A “rise” with moist air, and a low temperature, indicates wind and rain from Northward.

A “rise” with southerly wind indicates fine weather.

A Steady Barometer.

With dry air and seasonable temperature, indicates a continuance of very fine weather.

A Falling Barometer.

A “rapid” fall indicates stormy weather.

A “rapid” fall, with westerly wind, indicates stormy weather from Northward. [Pg 54]

A “fall,” with a northerly wind, indicates storm, with rain and hail in summer, and snow in winter.

A “fall,” with increased moisture in the air, and the heat increasing, indicates wind and rain from Southward.

A “fall” with dry air and cold increasing (in winter) indicates snow.

A “fall” after very calm and warm weather indicates rain with squally weather.

It does not require the highest quality in the mechanism of an Aneroid to serve the purpose indicated in the above rules.

For the accurate measurement of differences of altitude, however, the best skill in construction and the most careful adjustment of the parts is indispensably necessary. The use of an Aneroid of even medium quality will frequently lead to considerable errors in estimating heights. It may also be added here that instruments of the best manufacture in the hands of observers unacquainted with the principles [Pg 55] involved, will often lead to erroneous conclusions. This is owing in many cases to a method adopted by some makers of adding a circle marked feet outside of the common graduation to inches of mercury.

Many tourists carry Aneroids of the pocket size, and consult them frequently while traveling, relying upon a single observation of the index for the determination of their altitude.

If such a circle of feet be engraved on the dial plate with the zero mark made to correspond with 30 inches of the mercury column, of course every estimate of altitude made as above mentioned assumes that at the moment of observation; the barometer at the level of the sea would stand exactly at 30 inches; a condition only realized occasionally. And the further condition is also assumed, that the temperature of the air is of no account in estimating heights; an assumption equally at variance with fact.

It is only an inferior class of Aneroids that bear a fixed graduated circle of feet, with the zero of altitude corresponding to 30 inches of pressure. [Pg 56]

Prof. Airy, the former Astronomer Royal of Great Britain, prepared a table for the use of barometer makers—a scale from which is now engraved on many English Aneroids. It places the zero of altitude at 31 inches of pressure. This affords such large numbers for slight elevations that the proper use of the rule is suggested to the observer. He is led to subtract the two readings of feet to get difference in height. But this again assumes that the average temperature is 50° F.

Table I exhibits Prof. Airy’s series of heights.

Some makers, designing to improve upon the simple construction just described, have engraved the outer circle of feet on a movable ring encircling the dial, so that when an observer is at any locality whose height is known, he may bring the proper mark of the altitude scale against the index pointer. Then if the observer travels about over a section of country, the pointer will indicate with fair approximation for some hours the altitude of the new positions.

FIELD’S ENGINEERING ANEROID.

For description, see page 57.

[Pg 57] This device is convenient to a skilled observer who only requires rapid and approximate results, but to the novice it is misleading in two ways; first, because the temperature is left out of the calculation, and furthermore, such a use of the movable scale will, at times, involve a large error, as it is not a scale of equal parts.

Mr. Rogers Field, C. E., in 1873, applied the movable scale to the Aneroid, so as to convert it from a source of inaccuracy into an aid towards accuracy. He employs the altitude scale proposed by Sir G. Airy for temperature 50°, but he makes it movable so as to adjust it for any other temperature. The shifting of the scale into certain fixed positions, is made to answer the same purpose as if the original scale were altered to suit various temperatures of the air. In the Journal of the Meteorological Society for 1874, January, Mr. Field says:

“The object aimed at in designing this improved form of Aneroid was, to [Pg 58] simplify the correct determination of altitudes in cases such as ordinarily occur in England, and the instrument is therefore arranged to suit moderate elevations, say of 2000 feet and under, and is not intended for more considerable heights.

“The Aneroid is graduated for inches in the usual way on the face, but the graduation only extends from 31 inches to 27 inches so as to preserve an open scale. The outer movable scale is graduated in feet for altitudes, and this graduation is laid down by fixing the movable scale with the zero opposite 31 inches. This is the normal position of the scale and it is then correct for a temperature of 50°. For temperatures below 50° the zero of the scale is moved below 31 inches; for temperatures above 50°, the zero of the scale is moved above 31 inches. The exact position of the scale for different temperatures has been determined partly by calculation and partly by trial, and marked by figures engraved on the outside of the Aneroid. In order to insure the altitude scale not being shifted, after it has once been set in its [Pg 59] proper position there is a simple contrivance for locking it in the various positions. This consists of a pin, which fits into a series of notches on the outside of the ring carrying the glass. By slightly raising the glass it is freed from this locking pin, and can be turned until the figures corresponding to the air temperature are opposite to the pin, when the glass should be depressed so as to relock it, and the scale becomes correct for that temperature. The altitudes are in all cases determined by taking two readings, one at each station, and then subtracting the reading at the lower station from that at the upper.

“It will be seen from the foregoing description that the movable scale of the instrument requires to be set for temperatures before taking any observations, and must not be shifted during the progress of the observations.

“This may appear at first sight as a defect, inasmuch as the temperature of the air may alter during the progress of the observations; but practically it will not be found to be any drawback [Pg 60] in the case of moderate altitudes, as small variations of temperature will not appreciably affect the result. A variation of 5° of temperature gives only about 1 per cent. variation in the altitude, an amount that would under ordinary circumstances be inappreciable, so that as long as the temperature does not vary during the course of the observations more than 5° from that at which the instrument is set, the results may be accepted as correct, and, generally speaking, even a greater variation than this, say 6° or 8°, would be practically of no importance. Of course, if it should be found at any time that the temperature has varied considerably, during the course of the observations, from that at which the instrument was set, this variation can be allowed for by calculation in the usual way.”

The principle of allowing for variation of temperatures of the air by shifting the altitude scale is not theoretically accurate, but sufficiently so for practical purposes. For altitudes within the range [Pg 61] of the instrument (say 3000 feet and under) and temperatures between 30° and 70°, the maximum error from using the shifted scale, instead of the calculation, is only 2 feet, which is inappreciable on the scale. The same principle might even be applied to altitudes up to 6000 feet, as the maximum error would be only 10 feet. For considerable elevations, however, the variations of the temperature between the base and the summit would interfere with the application of the principle.

Nevertheless, the best plan is to dispense with altitude scales, whether fixed or movable, and to calculate the heights. Simple rules, giving more reliable results than the attached scales, are at the service of those who need easy processes. Among these are the following:

Note the rise or fall of the barometer in hundredths of an inch, in passing from one station to the other; multiply by 9. The product is the difference of altitude in feet.

This is for ordinary temperatures and pressures. If the pressure is [Pg 62] below 26 inches or the temperature above 70°, use 10 for a multiplier.

A higher degree of accuracy is obtained by using the multiplier obtained from the following table prepared by Mr. G. J. Symons:

 
Mean temperature  30°   40°   50°   60°   70°   80° 
Mean pressure,   27in. 9.7 9.9 10.1 10.3 10.6 10.8
28in. 9.3 9.5 9.8 10.0 10.2 10.4
29in. 9.0 9.2 9.4 9.6 9.8 10.0
30in. 8.7 8.9 9.1 9.3 9.5 9.7
 

To find the difference in height between two stations: Find the mean pressure; also the mean temperature. The number in the table corresponding to these two means, if multiplied by the difference of the barometric pressures in hundredths of an inch, will give the difference in altitude very nearly.

In the absence of a table to aid in computation, but having an Aneroid with the scale of feet, use the formula,

[Pg 63] adding  of the estimated altitude for every degree, the average temperature is above 55°, and subtracting a like amount when it is below. D, is the difference of altitude in feet; H and h are the readings in feet from the Aneroid scale. This gives fair approximations up to 3000 feet.

For accurate results use one of the following methods: Having Airy’s table (Table 1) and an Aneroid carefully graduated to inches; Take the reading in inches of the barometric scale at both lower and upper stations; also the temperature at both stations. Find from the table the heights in feet corresponding to the barometer readings. Subtract them and multiply the remainder by

The complete formula is

T and t are the observed temperatures; H and h are the heights in feet taken from the table. [Pg 64]

In the absence of this table, but with a table of logarithms at hand, the barometric heights in inches are to be taken, and the following formula used:

B and b are the barometric readings in inches; D, T and t as in the other formulas. (See Table II.)

To avoid error from the constant changes in barometric pressure, the observations should be simultaneous. This is accomplished in the best manner by using two instruments, and requires, when the distance between the stations is considerable, two observers. With one instrument only, large errors are avoided by repeating the observation at the first station after taking that at the 2d station, and assuming that any change in barometric pressure that has occurred has been gradual during the absence.

When it is impracticable to repeat the observation at the first [Pg 65] station, the error which, in case of a changing pressure, might be a large one, may be reduced if the observation at the 2d station be continued for an hour or two, or until the rate of change can be estimated and a proportionate correction applied.

Many Aneroids marked “compensated” exhibit a sensible change when the temperature is varied; such instruments may be serviceable and quite accurate if allowance be made for the error of the instrument. This correction the owner had better determine by experiment. It is easy to subject the Aneroid to such variation of temperature as shall embrace the range at which it is likely to be used, and the movement of the index for each 10° or 20° of temperature recorded.

Aneroids require to be compared from time to time with a good mercurial barometer. While making such comparisons, it is well to remember that the mercurial column and the scale by which it is measured both require correcting, and that during times of rapid changes, in atmospheric [Pg 66] pressure, the Aneroid shows such changes more readily than the mercurial barometer. (See Table IV.)

In measuring heights with the Aneroid care should be taken that the instrument is not influenced by the heat of the hand nor by the direct rays from the sun.

The instrument should always be tapped gently with the finger at the moment of taking an observation. It should also be held in the same position for both observations; preferably with the face horizontal.

Considerable care is also required to determine exactly where the index points. It is best accomplished by sighting along the pointer, using one eye only for the purpose.

The following example will illustrate the use of the tables.

Barometer at Station A  30.04  Thermometer  78°
 ”   ”   B 28.68   65°

From Table I we find height corresponding to reading at A is 857 feet. The height for B is 2120 feet.

[Pg 67] The approximate height is 2120-857 = 1263 feet; but the sum of the temperatures is 143°. An additional correction of  is, therefore, to be applied to the above difference; this is 54 feet. The total estimated difference of altitude is then 1263 + 54 = 1317 feet.

The formula directly applied is

Applying the logarithmic formula we have:

As before remarked, the Goldschmid Aneroid requires that both the temperature of the air and of the instrument be carefully taken. Two examples of altitudes taken with the instrument previously referred to (No. 3187) will serve to show the kind of correction necessary, and as [Pg 68] both examples apply to the same mountain (Kiarsarge of Conway, N. H.,) they will together indicate the character of the instrument

Ex. I.—July 9th, 1881.

 
Station. Time Bar.
Reading.
Temp. Correct’ns Corrected
Reading.
Air. Inst. Temp. Press.
Freyb’g. 6.00 a.m. 29.51 66° 66° +.04 -.10 29.65
Mt. Kiarsarge. 1.00 p.m. 26.75 74° 74° +.06 -.03 26.78
 

Ex. II.—August 9th, 1881.

 
Station. Time Bar.
Reading.
Temp. Correct’ns Corrected
Reading.
Air. Inst. Temp. Press.
Freyb’g. 7.00 a.m. 29.34 60° 65° +.03 +.09 29.46
Mt. Kiarsarge. 1.20 p.m. 26.48 65° 75° +.06 -.03 26.51
 

In both these examples another reading would have been taken at Fryeburg [Pg 69] on the return, if the better alternative of securing hourly readings of a stationary barometer at Fryeburg had not been followed. On July 9th there was no change in the Fryeburg barometer. On August 9th the following readings were taken at Fryeburg:

7  A.M.  29.53
8 29.52
10 29.515
12 29.46
1 P.M. 29.46
2 29.455
3 29.40

As this set of observations indicates a fall of .07 in the interval between the base and summit readings, it becomes necessary to make another correction to the last column.

Correcting the first reading to accord with the fall indicated by the stationary barometer, we get after all corrections:

Fryeburg, 29.39
Mt. Kiarsarge, 26.51

The logarithmic formula for estimating heights from barometric observations is

in which [Pg 70]

D  =  difference in altitude in feet.
B = height of barometer in inches at lower station.
b = height of barometer in inches at upper station.
T and t are the temperatures of the air in Fahrenheit degrees.

Applying this formula to our first example we have:

The second example gives:

As the station at Fryeburg is 434 feet above the sea, the estimated total height of Kiarsarge would be, in one case, 3321 feet, and in the other 3315 feet.

Prof. Airy’s table gives 3319 and 3314 from the same data.

The instrument employed in the above measurements has been used in many [Pg 71] other cases of altitudes from 3000 to 4000 feet. An error of about 2 per cent. in excess has been detected in those cases where the altitude has been measured by more accurate means. It seems likely that the special correction needs some slight revision.


The following measurement was made with an aneroid only 1½ inches diameter, made by Casella.

Neversink, Sullivan Co., N. Y.,
and Slide Mountain, Ulster Co.

 
  Time. Bar.
Readings
  T.   Ht.
Tab. I.
Neversink. 7 a.m. 28.64 61° 2158
Fly Club Camp. 11  ” 27.92 78° 2853
Slide Mountain. 4 p.m. 25.87 69° 4931
 

As Neversink had been satisfactorily determined to be 1350 feet above the sea, the total height of Slide Mountain is estimated from this observation to have an altitude of 4206 feet. [Pg 72]

(Note).—Return observations were made only at the camp of the Fly Club. Between 11 a.m. and 9 p.m., no change occurred in the barometer.

The Tribune report, however, indicates a rise on this date of .07 between 7 and 11 a.m. If such a change was felt in this region, then the calculated height of the mountain is too low by at least 60 feet. On the other hand, a height given by railway survey in this vicinity, (Johnson’s Mill) near the camp, seems to confirm the figures given here.

Also, the height of Helsinger Notch, taken incidentally on this excursion, was estimated at 2660 feet. Guyot makes the Notch 2677 and the summit of Slide Mountain 4205 feet.

The height of the base at Neversink was established by four observations, between New York Bay and this base, and was confirmed by comparison with the height of the railway track at Liberty, six miles south-west. [Pg 73]

Neversink to Blue Mountain,
August 18, 1880.

 
  Time. Bar.
Readings
  T.   Cor.
Rd’g.
Ht.
Tab. I.
Neversink. 10:30 p.m. 28.90 60° 28.87 1941
Blue Mt.  3   p.m. 27.47 60° 27.47 3295
Neversink  6 28.85 64°    
 

The corrected reading would be 28.875, if the second reading had been midway in point of time between the first and last.

This mountain is in Ulster Co., N. Y. Long. 74° 35 W, and Lat. 41° 52 N.


Neversink and Denman Mountains (Casella Aneroid).
September 11, 1880.

 
  Time. Bar.
Readings
  T.   Cor.
Rd’g.
Ht.
Tab. I.
Neversink. 12:30 a.m. 28.86 70° 28.84 1969
D. Mt.  4:30 ” 27.13 63° 27.13 3634
Neversink  9 ” 28.82 55°    
 

[Pg 74]

This mountain is S. S. W. of Slide Mountain, and near Claraville. Long. 74° 28'; Lat. 41° 53' N.


Fryeburg, Me., and Kiarsarge Mountain, N. H.—Fryeburg base 434 feet above the sea, July 9th, 1881.

(Casella Aneroid)

 
   Time.  Bar.
 Readings 
  T.   Ht.
Tab. I.
Fryeburg 6 a.m. 29.63 66° 1233
Kiarsarge  1 p.m. 26.83 74° 3938
 

(Note)—Barometer at Fryeburg remained stationary.

[Pg 75] Fryeburg, Me., and Mt. Kiarsarge, N. H. (second survey) August 17th, 1881.

(Casella Aneroid.)

 
   Time.  Bar.
 Readings 
  T.   Ht.
Tab. I.
Fryeburg 9 a.m. 29.70 59° 1169
Mt. Kiarsarge  3 p.m. 26.81 53° 3958
 

(Note)—Barometer at Fryeburg stationary till 4 p.m.

Diff. = 2,789 × 1.012 = 2822 feet.
Total ht. = 3256 feet above the sea.
Height of this summit according to the Geological Survey is 3251 feet.


Liberty Hill, N. H. (near Laconia), and Mt. Belknap.—The base station was at Mr. Rowe’s 1130 feet above the sea, July 9th, 1878.

(Casella Barometer.)

 
  Bar.
 Readings 
  T.   Ht.
Tab. I.
Liberty Hill 28.75 82° 2054
Mt. Belknap   27.53 79° 3235
 

[Pg 76] As the interval between the observations was very short, and the general pressure sensibly stationary, no record was made of the time nor the return reading.

(Note)—An average of three measurements of this mountain gave 2392 feet. The other observations yielding 2369 and 2425 ft. respectively.

The height given in the Guide Books quoted from the Geological Survey is 2394 feet.


[Pg 77]

CHAPTER V.
SUGGESTIONS IN REGARD TO THE
SELECTION AND SYSTEMATIC
USE OF AN ANEROID.

Dealers in good aneroids are generally prepared to testify in regard to the performance of their instruments when tested by the air pump. Comparison tables frequently accompany first-class instruments which show the differences between the aneroid referred to and a standard mercurial barometer submitted to the same exhaustion.

The buyer may reasonably ask, therefore, that such a test may be made if it has not been previously done.

The best English aneroids are now marked compensated, and are presumably free from error arising from changes of temperature in the instrument itself. Whether such be the case can readily be determined, [Pg 78] by the owner of the instrument subjecting it to the action of a freezing mixture and then of a drying oven, while the normal pressure remains the same. A thermometer should be placed beside the aneroid during the trial. A range of temperature from 15° F. to 175° F. may easily be produced, and a coefficient of correction if the instrument is not compensated, may be determined.

The graduations of a good instrument are neatly engraved on the dial.

The divisions corresponding to the inches and fractions of a mercurial barometer are the only essential ones. The circle of feet, whether movable or fixed, is a convenience of secondary importance.

If an aneroid bears a fixed circle of feet with the zero mark corresponding to the 30-inch point of the other scale, the probabilities are that the instrument is not from one of the best makers.

Excellent aneroids are now made with dial plates only 2½ inches in diameter. The Casella barometer referred to in the examples has a [Pg 79] diameter of only 1¼ inches. Of course the smaller fractions of an inch are more easily read on dials of 4 inches in diameter; but the portability of the smaller instruments recommends them for the use of the topographer, and the medium size, which is from 2¼ to 2½ inches, is now most in demand for surveyor’s work.

The aneroids in any considerable collection will be found to be variously graduated; some of them capable of indicating a fall of pressure to 20 inches, corresponding to a height of over 11,000 feet, while many are designed for continual use below 3,000 feet of altitude. In two instruments of the same diameter, but differing as above, it is clear that the latter will have the larger scale divisions, and will, therefore, be the better instrument to use at the lower altitudes.

It should be carefully remembered that all aneroids vary in their readings, with the position in which they are held; reading always a [Pg 80] little higher with the dial horizontal (face uppermost), than when it is vertical. The difference is clearly owing to the direct weight of the mechanism exerted on the vacuum box. There is no objection to allowing this weight to be always added, but the practice of the observer should be uniform, and to read from the horizontal dial is probably the most convenient practice.

A tap with the finger just before taking the reading is required to bring the springs to their proper bearing. Also, in case of rapid ascents, as some aneroids will not, at the moment of attaining an altitude, indicate the entire fall of pressure, a few minutes’ delay is necessary.

The pointer should be fine and very close to the graduated scale, and the reading should be taken by looking along the direction of the pointer.

For ordinary work it should not be considered important to adjust the aneroid to an absolute agreement with the mercurial barometer. The difference between the readings may be noted, but to force the aneroid [Pg 81] to an agreement by aid of the adjusting screw is a questionable practice.

Whenever comparison with the mercury column is made, the reduction for the latter by Table 4 should be carefully observed.

In the use of either form of Aneroid, whether it has been furnished with a correction or not, the observer should take early means to become acquainted with its limits of error under various conditions of temperature or pressure. Repeated measurements of a known altitude afford good data for such information, but direct comparisons, for a long time, with a standard cistern barometer will yield, with a minimum of labor, the greatest number of comparisons.

For the method of dealing with such data to determine correction coefficients, the reader is referred to the larger treatises, the most exhaustive of which, probably, is “Die Aneroide,” by Josef Höltschl (Alfred Holder, Vienna, 1872). [Pg 82]

For ordinary use of a single instrument, however, the corrections, if any are necessary, are determined with sufficient accuracy by the exercise of ordinary skill and patience; skill here implying, also, systematic trial.

Some of the sources of error in measuring altitudes, which are not to be eliminated by any adjustment or correction of instruments, are clearly stated by Prof. Elias Loomis, in a paper read before the National Academy of Sciences, April 19, 1881.

“The Laplace formula assumed that the atmosphere has attained a condition of equilibrium, and in such a case it gives the reduction to sea level with tolerable accuracy. The average of a long series of observations represents approximately such a condition of equilibrium; but in the daily observations this equilibrium is very much disturbed. The mean between the temperatures at the upper and lower stations does not represent the average temperature of the intermediate column of [Pg 83] air; and when the atmosphere is in rapid motion the downward pressure is modified by the earth’s rotation, in a manner not represented by the Laplace formula. There is no doubt that the formulæ of reduction now employed may be considerably improved; but it does not seem possible that any single formula, with constant coefficients, should provide for the immense variety of conditions which prevail in the neighborhood of mountain stations; and we may be compelled for each mountain region to adopt tables founded upon a direct comparison of observations made at stations of different elevations and not very remote from each other.”

The following remarks bearing upon the same subject are from an article by J. Allan Brown, F. R. S., on “Periodic Oscillations of Barometric Pressure,” published in Nature in April, 1881:

Sedgwick has said: [“To explain difficulties in these questions” (relating to pressure and temperature) “the atmospheric strata have been shuffled in accordance with laboratory experience.”] [Pg 84]

“If we suppose that the attraction of gravity is not the only attraction which affects the pressure of the atmosphere, but that this pressure varies through some other attracting force—such as an electric attraction of the sun depending upon the varying humidity of the air, and this again depending on its temperature, we should find another method of relating the two variations which does not exist if gravitation alone is employed. It is quite certain that many physicists will not admit the idea of an electric attraction on our atmosphere in the present state of our knowledge, hence the efforts to make expansion, and a shuffling of the atmospheric strata suffice. We must not, however, in our ignorance, attempt to force conclusions in opposition to facts, and if these can be satisfied more easily and with greater probabilities in its favor by the aid of the hypothesis of an electric attraction of the sun, that hypothesis will have a better claim to acceptance than the other. I shall here note a few facts which cannot be explained by thermic actions. [Pg 85]

“1. I have shown that, on the average of many years’ observation in our latitudes, the mean pressure diminishes at the rate of 0″.038 of mercury for every one hundred miles we proceed toward the north. This has been called a gradient from the similar term used in railway slopes: but it is no slope, it is a level of a surface of equilibrium like that of the sea. It is the mean heights of the barometer at the sea level which indicate the form, if we may so say, of the equilibrating atmosphere.

“2. In India we have seen that the atmospheric pressure oscillates at each station even when these are quite near to each other, independently of the known laws of equilibrium of gases. When we turn to the semi-diurnal oscillation of the barometer we are only amused at the attempts made to explain it by shuffling the atmospheric strata. Nothing can be more certain than that the theories of expansion, or resistance to expansion and overflow, are the vain efforts to make the [Pg 86] laws of nature agree with a theory. Over the great ocean within the tropics, where the diurnal variations of temperature are small and the air is absolutely without perceptible currents for days together, the barometer rises and falls a tenth of an inch twice in twenty-four hours with the regularity of the solar clock. The action of the sun on the whole atmosphere which produces this movement varies chiefly during the day hours at inland stations with the temperature oscillation, so that, as in the case of the annual variation, the fall of the barometer at 4 p.m. is greater in the same latitude as the temperature is higher. This variation occurs during the most complete calms; the smoke rises vertically from the plain of Tinnevelly; no current is visible in the motion of the clouds; yet the barometer falls at four in the morning as it did at four in the afternoon, only it falls less.”

It seems probable that the use of the Aneroid will soon become more widely extended, and that engineers, when made familiar with the [Pg 87] qualities of well-made instruments, will welcome so valuable an aid in preliminary surveys. The conditions of satisfactory work with barometers are certainly peculiar, and to field workers familiar only with the level and transit, may seem unique. But when the conditions are fully understood, the engineer may easily take precautions which will avoid too large errors, and conduct surveys in hilly regions with a celerity not heretofore attained.


[Pg 88]

TABLE I.
FOR ESTIMATING HEIGHTS
BY THE ANEROID.

Take readings of the barometer and thermometer at both stations; find in the the heights corresponding to the barometric readings, and subtract them. Multiply the remainder by  . T and t being the temperatures, the product will be the difference in altitude.

 
Barometer 
Readings.
 Heights.
Inches.   Feet.
31.00 00
30.99 9
30.98 18
30.97 27
30.96 35
30.95 44
30.94 53
30.93 62
30.92 71
30.91 80
30.90 88
30.89 97
30.88 106
30.87 115
30.86 124
30.85 133
30.84 142
30.83 151
30.82 160
30.81 168
30.80 177
30.79 186
30.78 195
30.77 203
30.76 212
30.75 221
30.74 230
30.73 239
30.72 247
30.71 256
30.70 265
30.69 274
30.68 283
30.67 292
30.66 301
30.65 310
30.64 318 [Pg 89]
30.63 327
30.62 336
30.61 345
30.60 354
30.59 363
30.58 372
30.57 381
30.56 390
30.55 399
30.54 407
30.53 416
30.52 425
30.51 434
30.50 443
30.49 452
30.48 461
30.47 470
30.46 479
30.45 488
30.44 497
30.43 506
30.42 515
30.41 524
30.40 533
30.39 542
30.38 551
30.37 559
30.36 569
30.35 578
30.34 587
30.33 596
30.32 605
30.31 613
30.30 622
30.29 631
30.28 640
30.27 649
30.26 658
30.25 667
30.24 676
30.23 685
30.22 694
30.21 703
30.20 712
30.19 721
30.18 730
30.17 740
30.16 749
30.15 758
30.14 767
30.13 776
30.12 785
30.11 794
30.10 803
30.09 812
30.08 821
30.07 830
30.06 839
30.05 849
30.04 857
30.03 866
30.02 875
30.01 884
30.00 893 [Pg 90]
29.99 903
29.98 911
29.97 920
29.96 929
29.95 938
29.94 947
29.93 956
29.92 965
29.91 976
29.90 985
29.89 994
29.88 1002
29.87 1012
29.86 1021
29.85 1030
29.84 1039
29.83 1049
29.82 1058
29.81 1067
29.80 1076
29.79 1085
29.78 1094
29.77 1103
29.76 1113
29.75 1122
29.74 1132
29.73 1141
29.72 1150
29.71 1159
29.70 1169
29.69 1177
29.68 1186
29.67 1195
29.66 1205
29.65 1214
29.64 1224
29.63 1233
29.62 1242
29.61 1251
29.60 1260
29.59 1269
29.58 1278
29.57 1287
29.56 1296
29.55 1305
29.54 1314
29.53 1324
25.52 1333
29.51 1342
29.50 1352
29.49 1361
29.48 1370
29.47 1379
29.46 1389
29.45 1398
29.44 1408
29.43 1417
29.42 1426
29.41 1435
29.40 1445
29.39 1454
29.38 1464
29.37 1473
29.36 1482 [Pg 91]
29.35 1491
29.34 1500
29.33 1509
29.32 1519
29.31 1528
29.30 1537
29.29 1546
29.28 1556
29.27 1565
29.26 1574
29.25 1583
29.24 1593
29.23 1603
29.22 1612
29.21 1621
29.20 1630
29.19 1639
29.18 1649
29.17 1658
29.16 1668
29.15 1677
29.14 1687
29.13 1696
29.12 1706
29.11 1715
29.10 1725
29.09 1734
29.08 1743
29.07 1752
29.06 1762
29.05 1771
29.04 1781
29.03 1790
29.02 1799
29.01 1809
29.00 1818
28.99 1827
28.98 1837
28.97 1846
28.96 1856
28.95 1865
28.94 1875
28.93 1884
28.92 1894
28.91 1903
28.90 1913
28.89 1922
28.88 1931
28.87 1941
28.86 1950
28.85 1960
28.84 1969
28.83 1979
28.82 1988
28.81 1998
28.80 2007
28.79 2016
28.78 2026
28.77 2035
28.76 2044
28.75 2054
28.74 2063
28.73 2073
28.72 2082 [Pg 92]
28.71 2091
28.70 2101
28.69 2111
28.68 2120
28.67 2129
28.66 2139
28.65 2148
28.64 2158
28.63 2168
28.62 2177
28.61 2186
28.60 2196
28.59 2205
28.58 2215
28.57 2224
28.56 2234
28.55 2243
28.54 2253
28.53 2263
28.52 2272
28.51 2282
28.50 2291
28.49 2301
28.48 2310
28.47 2320
28.46 2329
28.45 2339
28.44 2349
28.43 2358
28.42 2368
28.41 2378
28.40 2387
28.39 2397
28.38 2407
28.37 2416
28.36 2426
28.35 2435
28.34 2445
28.33 2455
28.32 2464
28.31 2474
28.30 2483
28.29 2493
28.28 2503
28.27 2512
28.26 2522
28.25 2531
28.24 2541
28.23 2551
28.22 2561
28.21 2570
28.20 2580
28.19 2590
28.18 2600
28.17 2609
28.16 2619
28.15 2628
28.14 2638
28.13 2648
28.12 2658
28.11 2667
28.10 2677
28.09 2687
28.08 2696 [Pg 93]
28.07 2706
28.06 2715
28.05 2726
28.04 2735
28.03 2745
28.02 2755
28.01 2765
28.00 2774
27.99 2784
27.98 2794
27.97 2804
27.96 2813
27.95 2823
27.94 2833
27.93 2843
27.92 2853
27.91 2863
27.90 2873
27.89 2882
27.88 2892
27.87 2901
27.86 2911
27.85 2921
27.84 2930
27.83 2940
27.82 2950
27.81 2960
27.80 2969
27.79 2979
27.78 2989
27.77 2999
27.76 3009
27.75 3019
27.74 3029
27.73 3039
27.72 3048
27.71 3058
27.70 3068
27.69 3078
27.68 3087
27.67 3097
27.66 3107
27.65 3117
27.64 3126
27.63 3136
27.62 3146
27.61 3156
27.60 3166
27.59 3176
27.58 3186
27.57 3196
27.56 3206
27.55 3216
27.54 3225
27.53 3235
27.52 3245
27.51 3255
27.50 3265
27.49 3275
27.48 3285
27.47 3295
27.46 3305
27.45 3315
27.44 3325 [Pg 94]
27.43 3335
27.42 3345
27.41 3355
27.40 3365
27.39 3375
27.38 3384
27.37 3394
27.36 3404
27.35 3414
27.34 3424
27.33 3434
27.32 3444
27.31 3454
27.30 3464
27.29 3474
27.28 3484
27.27 3494
27.26 3504
27.25 3514
27.24 3524
27.23 3534
27.22 3544
27.21 3554
27.20 3564
27.19 3574
27.18 3584
27.17 3594
27.16 3604
27.15 3614
27.14 3624
27.13 3634
27.12 3644
27.11 3654
27.10 3665
27.09 3675
27.08 3685
27.07 3695
27.06 3705
27.05 3715
27.04 3725
27.03 3735
27.02 3745
27.01 3755
27.00 3765
26.99 3775
26.98 3785
26.97 3795
26.96 3806
26.95 3816
26.94 3826
26.93 3836
26.92 3846
26.91 3856
26.90 3866
26.89 3876
26.88 3886
26.87 3897
26.86 3907
26.85 3917
26.84 3927
26.83 3938
26.82 3948
26.81 3958
26.80 3968 [Pg 95]
26.79 3978
26.78 3988
26.77 3999
26.76 4009
26.75 4019
26.74 4030
26.73 4040
26.72 4050
26.71 4060
26.70 4070
26.69 4081
26.68 4091
26.67 4101
26.66 4111
26.65 4122
26.64 4132
26.63 4142
26.62 4152
26.61 4163
26.60 4173
26.59 4183
26.58 4193
26.57 4203
26.56 4213
26.55 4223
26.54 4233
26.53 4244
26.52 4254
26.51 4264
26.50 4274
26.49 4284
26.48 4294
26.47 4304
26.46 4315
26.45 4326
26.44 4336
26.43 4347
26.42 4357
26.41 4368
26.40 4378
26.39 4388
26.38 4399
26.37 4409
26.36 4419
26.35 4430
26.34 4440
26.33 4450
26.32 4461
26.31 4472
26.30 4482
26.29 4492
26.28 4502
26.27 4513
26.26 4523
26.25 4533
26.24 4544
26.23 4554
26.22 4565
26.21 4575
26.20 4585
26.19 4596
26.18 4606
26.17 4617
26.16 4627 [Pg 96]
26.15 4638
26.14 4648
26.13 4658
26.12 4669
26.11 4679
26.10 4690
26.09 4700
26.08 4711
26.07 4721
26.06 4731
26.05 4742
26.04 4752
26.03 4763
26.02 4773
26.01 4784
26.00 4794
25.99 4805
25.98 4815
25.97 4826
25.96 4836
25.95 4847
25.94 4857
25.93 4868
25.92 4878
25.91 4889
25.90 4899
25.89 4910
25.88 4920
25.87 4931
25.86 4941
25.85 4952
25.84 4962
25.83 4973
25.82 4983
25.81 4994
25.80 5004
25.79 5014
25.78 5025
25.77 5036
25.76 5046
25.75 5057
25.74 5067
25.73 5078
25.72 5088
25.71 5099
25.70 5110
25.69 5121
25.68 5132
25.67 5142
25.66 5153
25.65 5164
25.64 5174
25.63 5185
20.62 5195
25.61 5206
25.60 5216
25.59 5227
25.58 5237
25.57 5248
25.56 5259
25.55 5270
25.54 5281
25.53 5291
25.52 5302 [Pg 97]
25.51 5312
25.50 5323
25.49 5333
25.48 5344
25.47 5355
25.46 5365
25.45 5376
25.44 5387
25.43 5397
25.42 5408
25.41 5419
25.40 5429
25.39 5440
25.38 5451
25.37 5462
25.36 5473
25.35 5483
25.34 5494
25.33 5505
25.32 5516
25.31 5527
25.30 5537
25.29 5548
25.28 5559
25.27 5570
25.26 5581
25.25 5592
25.24 5602
25.23 5613
25.22 5624
25.21 5635
25.20 5646
25.19 5657
25.18 5668
25.17 5679
25.16 5689
25.15 5700
25.14 5711
25.13 5722
25.12 5733
25.11 5744
25.10 5754
25.09 5765
25.08 5776
25.07 5787
25.06 5798
25.05 5809
25.04 5820
25.03 5831
25.02 5842
25.01 5853
25.00 5863
24.99 5874
24.98 5885
24.97 5896
24.96 5907
24.95 5918
24.94 5929
24.93 5940
24.92 5950
24.91 5962
24.90 5972
24.89 5983
24.88 5994 [Pg 98]
24.87 6005
24.86 6016
24.85 6027
24.84 6038
24.83 6049
24.82 6060
24.81 6071
24.80 6082
24.79 6093
24.78 6104
24.77 6115
24.76 6126
24.75 6137
24.74 6148
24.73 6159
24.72 6170
24.71 6181
24.70 6192
24.69 6203
24.68 6214
24.67 6225
24.66 6236
24.65 6247
24.64 6258
24.63 6269
24.62 6280
24.61 6291
24.60 6302
24.59 6313
24.58 6324
24.57 6335
24.56 6346
24.55 6357
24.54 6368
24.53 6379
24.52 6390
24.51 6401
24.50 6412
24.49 6424
24.48 6435
24.47 6446
24.46 6458
24.45 6469
24.44 6480
24.43 6491
24.42 6503
24.41 6514
24.40 6525
24.39 6536
24.38 6547
24.37 6559
24.36 6570
24.35 6581
24.34 6592
24.33 6603
24.32 6615
24.31 6626
24.30 6637
24.29 6648
24.28 6659
24.27 6671
24.26 6682
24.25 6693
24.24 6705 [Pg 99]
24.23 6716
24.22 6727
24.21 6738
24.20 6750
24.19 6761
24.18 6772
24.17 6783
24.16 6795
24.15 6806
24.14 6817
24.13 6828
24.12 6840
24.11 6851
24.10 6862
24.09 6873
24.08 6885
24.07 6896
24.06 6907
24.05 6919
24.04 6930
24.03 6941
24.02 6953
24.01 6964
24.00 6976
23.99 6987
23.98 6999
23.97 7010
23.96 7022
23.95 7033
23.94 7045
23.93 7056
23.92 7068
23.91 7079
23.90 7090
23.89 7101
23.88 7113
23.87 7124
23.86 7135
23.85 7146
23.84 7157
23.83 7168
23.82 7180
23.81 7191
23.80 7203
23.79 7214
23.78 7226
23.77 7237
23.76 7249
23.75 7261
23.74 7272
23.73 7283
23.72 7294
23.71 7305
23.70 7316
23.69 7327
23.68 7339
23.67 7350
23.66 7362
23.65 7374
23.64 7386
23.63 7398
23.62 7409
23.61 7421
23.60 7433 [Pg 100]
23.59 7445
23.58 7456
23.57 7468
23.56 7480
23.55 7492
23.54 7503
23.53 7515
23.52 7527
23.51 7539
23.50 7550
23.49 7562
23.48 7574
23.47 7585
23.46 7597
23.45 7609
23.44 7621
23.43 7633
23.42 7644
23.41 7656
23.40 7667
23.39 7679
23.38 7690
23.37 7702
23.36 7713
23.35 7725
23.34 7736
23.33 7748
23.32 7759
23.31 7771
23.30 7782
23.29 7793
23.28 7805
23.27 7817
23.26 7829
23.25 7841
23.24 7853
23.23 7865
23.22 7876
23.21 7888
23.20 7900
23.19 7912
23.18 7923
23.17 7935
23.16 7946
23.15 7958
23.14 7969
23.13 7981
23.12 7092
23.11 8004
23.10 8015
23.09 8027
23.08 8039
23.07 8051
23.06 8063
23.05 8075
23.04 8086
23.03 8098
23.02 8110
23.01 8122
23.00 8134
22.99 8146
22.98 8158
22.97 8170
22.96 8182 [Pg 101]
22.95 8194
22.94 8206
22.93 8218
22.92 8230
22.91 8242
22.90 8254
22.89 8266
22.88 8278
22.87 8290
22.86 8302
22.85 8314
22.84 8326
22.83 8338
22.82 8850
22.81 8362
22.80 8374
22.79 8386
22.78 8398
22.77 8410
22.76 8422
22.75 8434
22.74 8446
22.73 8458
22.72 8470
22.71 8482
22.70 8495
22.69 8507
22.68 8519
22.67 8531
22.66 8543
22.65 8555
22.64 8567
22.63 8579
22.62 8591
22.61 8603
22.60 8615
22.59 8627
22.58 8638
22.57 8650
22.56 8661
22.55 8673
22.54 8685
22.53 8697
22.52 8709
22.51 8721
22.50 8733
22.49 8745
22.48 8757
22.47 8769
22.46 8781
22.45 8793
22.44 8806
22.43 8818
22.42 8830
22.41 8842
22.40 8855
22.39 8867
22.38 8879
22.37 8891
22.36 8904
22.35 8916
22.34 8928
22.33 8941
22.32 8953 [Pg 102]
22.31 8965
22.30 8977
22.29 8090
22.28 9002
22.27 9014
22.26 9026
22.25 9039
22.24 9051
22.23 9063
22.22 9075
22.21 9088
22.20 9100
22.19 9113
22.18 9125
22.17 9138
22.16 9150
22.15 9162
22.14 9174
22.13 9187
22.12 9199
22.11 9212
22.10 9224
22.09 9236
22.08 9249
22.07 9262
22.06 9274
22.05 9286
22.04 9298
22.03 9311
22.02 9323
22.01 9336
22.00 9348
21.99 9360
21.98 9372
21.97 9384
21.96 9397
21.95 9410
21.94 9422
21.93 9435
21.92 9447
21.91 9460
21.90 9472
21.89 9485
21.88 9497
21.87 9510
21.86 9522
21.85 9535
21.84 9547
21.83 9560
21.82 9572
21.81 9585
21.80 9597
21.79 9610
21.78 9622
21.77 9635
21.76 9647
21.75 9660
21.74 9672
21.73 9685
21.72 9697
21.71 9710
21.70 9722
21.69 9735
21.68 9747 [Pg 103]
21.67 9760
21.66 9772
21.65 9785
21.64 9797
21.63 9810
21.62 9822
21.61 9835
21.60 9848
21.59 9861
21.58 9873
21.57 9886
21.56 9898
21.55 9911
21.54 9923
21.53 9936
21.52 9949
21.51 9962
21.50 9974
21.49 9987
21.48 9999
21.47 10012
21.46 10025
21.45 10038
21.44 10050
21.43 10063
21.42 10075
21.41 10088
21.40 10101
21.39 10114
21.38 10126
21.37 10139
21.36 10151
21.35 10164
21.34 10176
21.33 10189
21.32 10202
21.31 10214
21.30 10228
21.29 10241
21.28 10253
21.27 10266
21.26 10278
21.25 10291
21.24 10304
21.23 10317
21.22 10330
21.21 10343
21.20 10355
21.19 10368
21.18 10381
21.17 10394
21.16 10407
21.15 10420
21.14 10432
21.13 10445
21.12 10458
21.11 10471
21.10 10484
21.09 10497
21.08 10509
21.07 10522
21.06 10535
21.05 10548
21.04 10561 [Pg 104]
21.03 10574
21.02 10587
21.01 10600
21.00 10613
20.99 10627
20.98 10640
20.97 10654
20.96 10667
20.95 10681
20.94 10694
20.93 10707
20.92 10720
20.91 10733
20.90 10746
20.89 10759
20.88 10772
20.87 10785
20.86 10798
20.85 10811
20.84 10824
20.83 10837
20.82 10850
20.81 10863
20.80 10876
20.79 10889
20.78 10902
20.77 10915
20.76 10928
20.75 10941
20.74 10954
20.73 10967
20.72 10980
20.71 10993
20.70 11006
20.69 11019
20.68 11032
20.67 11045
20.66 11058
20.65 11071
20.64 11084
20.63 11097
20.62 11110
20.61 11123
20.60 11136
20.59 11149
20.58 11163
20.57 11176
20.56 11190
20.55 11204
20.54 11217
20.53 11230
20.52 11243
20.51 11257
20.50 11270
20.49 11284
20.48 11297
20.47 11311
20.46 11324
20.45 11338
20.44 11351
20.43 11364
20.42 11377
20.41 11391
20.40 11404 [Pg 105]
20.39 11418
20.38 11431
20.37 11444
20.36 11457
20.35 11470
20.34 11483
20.33 11496
20.32 11509
20.31 11523
20.30 11536
20.29 11550
20.28 11563
20.27 11577
20.26 11591
20.25 11605
20.24 11618
20.23 11632
20.22 11645
20.21 11659
20.20 11673
20.19 11687
20.18 11700
20.17 11714
20.16 11727
20.15 11741
20.14 11754
20.13 11768
20.12 11781
20.11 11795
20.10 11808
20.09 11821
20.08 11835
20.07 11859
20.06 11863
20.05 11877
20.04 11891
20.03 11905
20.02 11918
20.01 11932
20.00 11945
 

[Pg 106]


The following table is to be used when applying the modified formula of chapter II:

Rule.—Find in the table the logarithms of the barometer readings to hundredths of an inch. Subtract these logarithms and multiply the remainder by 60000. The product is the approximate difference in altitude between the two stations. To apply the corrections for temperature, add the temperatures of the two stations and subtract 60°. Increase the above approximate value by  of itself for each degree of excess above 60°. If the sum of the temperature is less than 60° diminish the value by a like amount.

[Pg 107]

TABLE II.

Bar.
  Height.  
  Log.  
2200 3.34242
01 .34262
02 .34282
03 .34301
04 .34321
05 .34341
06 .34361
07 .34380
08 .34400
09 .34420
10 .34439
11 .34459
12 .34479
13 .34498
14 .34518
15 .34537
16 .34557
17 .34577
18 .34596
19 .34616
20 .34635
21 .34655
22 .34674
23 .34694
24 .34713
25 .34733
26 .34753
27 .34772
28 .34792
29 .34811
30 .34830
31 .34850
32 .34869
33 .34889
34 .34908
35 .34928
36 .34947
37 .34967
38 .34986
39 .35005
40 .35025
41 .35044
42 .35064
43 .35083
44 .35102
45 .35122
46 .35141
47 .35160
48 .35180
49 .35199
50 .35218
51 .35238
52 .35257
53 .35276
54 .35295
55 .35315
56 .35334
57 .35353
58 .35372
59 .35392
60 .35411 [Pg 108]
61 .35430
62 .35449
63 .35468
64 .35488
65 .35507
66 .35526
67 .35545
68 .35564
69 .35583
70 .35603
71 .35622
72 .35641
73 .35660
74 .35679
75 .35698
76 .35717
77 .35736
78 .35755
79 .35774
80 .35793
81 .35813
82 .35832
83 .35851
84 .35870
85 .35889
86 .35908
87 .35927
88 .35946
89 .35965
90 .35984
91 .36003
92 .36021
93 .36040
94 .36059
95 .36078
96 .36097
97 .36116
98 .36135
99 .36154
2300 3.36173
01 .36192
02 .36211
03 .36229
04 .36248
05 .36267
06 .36286
07 .36305
08 .36324
09 .36342
10 .36361
11 .36380
12 .36399
13 .36418
14 .36436
15 .36455
16 .36474
17 .36493
18 .36511
19 .36530
20 .36549
21 .36568
22 .36586
23 .36605
24 .36624
25 .36642
26 .36661 [Pg 109]
27 .36680
28 .36698
29 .36717
30 .36736
31 .36754
32 .36773
33 .36791
34 .36810
35 .36829
36 .36847
37 .36866
38 .36884
39 .36903
40 .36922
41 .36940
42 .36959
43 .36977
44 .36996
45 .37014
46 .37033
47 .37051
48 .37070
49 .37088
50 .37107
51 .37125
52 .37144
53 .37162
54 .37181
55 .37199
56 .37218
57 .37236
58 .37254
59 .37273
60 .37291
61 .37310
62 .37328
63 .37346
64 .37365
65 .37383
66 .37401
67 .37420
68 .37438
69 .37457
70 .37475
71 .37493
72 .37511
73 .37530
74 .37548
75 .37566
76 .37585
77 .37603
78 .37621
79 .37639
80 .37658
81 .37676
82 .37694
83 .37712
84 .37731
85 .37749
86 .37767
87 .37785
88 .37803
89 .37822
90 .37840
91 .37858
92 .37876 [Pg 110]
93 .37894
94 .37912
95 .37931
96 .37949
97 .37967
98 .37985
99 .38003
2400 3.38021
01 .38039
02 .38057
03 .38075
04 .38093
05 .38112
06 .38130
07 .38148
08 .38166
09 .38184
10 .38202
11 .38220
12 .38238
13 .38256
14 .38274
15 .38292
16 .38310
17 .38328
18 .38346
19 .38364
20 .38382
21 .38399
22 .38417
23 .38435
24 .38453
25 .38471
26 .38489
27 .38507
28 .38525
29 .38543
30 .38561
31 .38579
32 .38596
33 .38614
34 .38632
35 .38650
36 .38668
37 .38686
38 .38703
39 .38721
40 .38739
41 .38757
42 .38775
43 .38792
44 .38810
45 .38828
46 .38846
47 .38863
48 .38881
49 .38899
50 .38917
51 .38934
52 .38952
53 .38970
54 .38987
55 .39005
56 .39023
57 .39041
58 .39058 [Pg 111]
59 .39076
60 .39094
61 .39111
62 .39129
63 .39146
64 .39164
65 .39182
66 .39199
67 .39217
68 .39235
69 .39252
70 .39270
71 .39287
72 .39305
73 .39322
74 .39340
75 .39358
76 .39375
77 .39393
78 .39410
79 .39428
80 .39445
81 .39463
82 .39480
83 .39498
84 .39515
85 .39533
86 .39550
87 .39568
88 .39585
89 .39602
90 .39620
91 .39637
92 .39655
94 .39672
94 .39690
95 .39707
96 .39724
97 .39742
98 .39759
99 .39777
2500 3.39794
01 .39811
02 .39829
03 .39846
04 .39863
05 .39881
06 .39898
07 .39915
08 .39933
09 .39950
10 .39967
11 .39985
12 .40002
13 .40019
14 .40037
15 .40054
16 .40071
17 .40088
18 .40106
19 .40123
20 .40140
21 .40157
22 .40175
23 .40192
24 .40209 [Pg 112]
25 .40226
26 .40243
27 .40261
28 .40278
29 .40295
30 .40312
31 .40329
32 .40346
33 .40364
34 .40381
35 .40398
36 .40415
37 .40432
38 .40449
39 .40466
40 .40483
41 .40500
42 .40518
43 .40535
44 .40552
45 .40569
46 .40586
47 .40603
48 .40620
49 .40637
50 .40654
51 .40671
52 .40688
53 .40705
54 .40722
55 .40739
56 .40756
57 .40773
58 .40790
59 .40807
60 .40824
61 .40841
62 .40858
63 .40875
64 .40892
65 .40909
66 .40926
67 .40943
68 .40960
69 .40976
70 .40993
71 .41010
72 .41027
73 .41044
74 .41061
75 .41078
76 .41095
77 .41111
78 .41128
79 .41145
80 .41162
81 .41179
82 .41196
83 .41212
84 .41229
85 .41246
86 .41263
87 .41280
88 .41296
89 .41313
90 .41330 [Pg 113]
91 .41347
92 .41364
93 .41380
94 .41397
95 .41414
96 .41430
97 .41447
98 .41464
99 .41481
2600 3.41497
01 .41514
02 .41531
03 .41547
04 .41564
05 .41581
06 .41597
07 .41614
08 .41631
09 .41647
10 .41664
11 .41681
12 .41697
13 .41713
14 .41731
15 .41747
16 .41764
17 .41781
18 .41797
19 .41814
20 .41831
21 .41847
22 .41863
23 .41880
24 .41896
25 .41913
26 .41929
27 .41946
28 .41963
29 .41979
30 .41996
31 .42012
32 .42029
33 .42045
34 .42062
35 .42078
36 .42095
37 .42111
38 .42127
39 .42144
40 .42160
41 .42177
42 .42193
43 .42210
44 .42226
45 .42243
46 .42259
47 .42275
48 .42292
49 .42308
50 .42325
51 .42341
52 .42357
53 .42374
54 .42390
55 .42406
56 .42423 [Pg 114]
57 .42439
58 .42455
59 .42472
60 .42488
61 .42504
62 .42521
63 .42537
64 .42553
65 .42570
66 .42586
67 .42602
68 .42619
69 .42635
70 .42651
71 .42667
72 .42684
73 .42700
74 .42716
75 .42732
76 .42749
77 .42765
78 .42781
79 .42797
80 .42813
81 .42830
82 .42846
83 .42862
84 .42878
85 .42894
86 .42911
87 .42927
88 .42943
89 .42959
90 .42975
91 .42991
92 .43008
93 .43024
94 .43040
95 .43056
96 .43072
97 .43088
98 .43104
99 .43120
2700 3.43136
01 .43152
02 .43169
03 .43185
04 .43201
05 .43217
06 .43233
07 .43249
08 .43265
09 .43281
10 .43297
11 .43313
12 .43329
13 .43345
14 .43361
15 .43377
16 .43393
17 .43409
18 .43425
19 .43441
20 .43457
21 .43473
22 .43489 [Pg 115]
23 .43505
24 .43521
25 .43537
26 .43553
27 .43569
28 .43584
29 .43600
30 .43616
31 .43632
32 .43648
33 .43664
34 .43680
35 .43696
36 .43712
37 .43727
38 .43743
39 .43759
40 .43775
41 .43791
42 .43807
43 .48823
44 .43838
45 .43854
46 .43870
47 .43886
48 .43902
49 .43917
50 .43933
51 .43949
52 .43965
53 .43981
54 .43996
55 .44012
56 .44028
57 .44044
58 .44059
59 .44075
60 .44091
61 .44107
62 .44122
63 .44138
64 .44154
65 .44170
66 .44185
67 .44201
68 .44217
69 .44232
70 .44248
71 .44264
72 .44279
73 .44295
74 .44311
75 .44326
76 .44342
77 .44358
78 .44373
79 .44389
80 .44404
81 .44420
82 .44436
83 .44451
84 .44467
85 .44483
86 .44498
87 .44514
88 .44529 [Pg 116]
89 .44545
90 .44560
91 .44576
92 .44592
93 .44607
94 .44623
95 .44638
96 .44654
97 .44669
98 .44685
99 .44700
2800 3.44716
01 .44731
02 .44747
03 .44762
04 .44778
05 .44793
06 .44809
07 .44824
08 .44840
09 .44855
10 .44871
11 .44886
12 .44902
13 .44917
14 .44932
15 .44948
16 .44963
17 .44979
18 .44994
19 .45010
20 .45025
21 .45040
22 .45056
23 .45071
24 .45086
25 .45102
26 .45117
27 .45133
28 .45148
29 .45163
30 .45179
31 .45194
32 .45209
33 .45225
34 .45240
35 .45255
36 .45271
37 .45287
38 .45301
39 .45317
40 .45332
41 .45347
42 .45362
43 .45378
44 .45393
45 .45408
46 .45423
47 .45439
48 .45454
49 .45469
50 .45484
51 .45500
52 .45515
53 .45530
54 .45545 [Pg 117]
55 .45561
56 .45576
57 .45591
58 .45606
59 .45621
60 .45637
61 .45652
62 .45667
63 .45682
64 .45698
65 .45712
66 .45728
67 .45743
68 .45758
69 .45773
70 .45788
71 .45803
72 .45818
73 .45834
74 .45849
75 .45864
76 .45879
77 .45894
78 .45909
79 .45924
80 .45939
81 .45954
82 .45969
83 .45984
84 .46000
85 .46015
86 .46030
87 .46045
88 .46060
89 .46075
90 .46090
91 .46105
92 .46120
93 .46135
94 .46150
95 .46165
96 .46180
97 .46195
98 .46210
99 .46225
2900 3.46240
01 .46255
02 .46270
03 .46285
04 .46300
05 .46315
06 .46330
07 .46344
08 .46859
09 .46374
10 .46389
11 .46404
12 .46419
13 .46434
14 .46449
15 .46464
16 .46479
17 .46494
18 .46509
19 .46523
20 .46538 [Pg 118]
21 .46553
22 .46568
23 .46583
24 .46598
25 .46613
26 .46627
27 .46642
28 .46657
29 .46672
30 .46687
31 .46702
32 .46716
33 .46731
34 .46746
35 .46761
36 .46776
37 .46790
38 .46805
39 .46820
40 .46835
41 .46849
42 .46864
43 .46879
44 .46894
45 .46909
46 .46923
47 .46938
48 .46953
49 .46967
50 .46982
51 .46997
52 .47012
53 .47026
54 .47041
55 .47056
56 .47070
57 .47085
58 .47100
59 .47114
60 .47129
61 .47144
62 .47159
63 .47176
64 .47188
65 .47202
66 .47217
67 .47232
68 .47246
69 .47261
70 .47276
71 .47290
72 .47305
73 .47319
74 .47334
75 .47349
76 .47363
77 .47378
78 .47392
79 .47407
80 .47422
81 .47436
82 .47451
83 .47465
84 .47480
85 .47494
86 .47509 [Pg 119]
87 .47524
88 .47538
89 .47553
90 .47567
91 .47582
92 .47596
93 .47611
94 .47625
95 .47640
96 .47654
97 .47669
98 .47683
99 .47698
3000 3.47712
01 .47727
03 .47741
03 .47755
04 .47770
05 .47784
06 .47799
07 .47813
08 .47828
09 .47842
10 .47857
11 .47871
12 .47886
13 .47900
14 .47914
15 .47929
16 .47943
17 .47958
18 .47972
19 .47986
20 .48001
21 .48015
22 .48030
23 .48044
24 .48058
25 .48073
26 .48087
27 .48101
28 .48116
29 .48130
30 .48144
31 .48159
32 .48173
33 .48187
34 .48202
35 .48216
36 .48230
37 .48244
38 .48259
39 .48273
40 .48287
41 .48302
42 .48316
43 .48330
44 .48344
45 .48359
46 .48373
47 .48387
48 .48402
49 .48416
50 .48430
51 .48444
52 .48458 [Pg 120]
53 .48473
54 .48487
55 .48501
56 .48515
57 .48530
58 .48544
59 .48558
60 .48572
61 .48586
62 .48601
63 .48615
64 .48629
65 .48643
66 .48657
67 .48671
68 .48686
69 .48700
70 .48714
71 .48728
72 .48742
73 .48756
74 .48770
75 .48785
76 .48799
77 .48813
78 .48827
79 .48841
80 .48855
81 .48869
82 .48883
83 .48897
84 .48911
85 .48926
86 .48940
87 .48954
88 .48968
89 .48982
90 .48996
91 .49010
92 .49024
93 .49038
94 .49052
95 .49066
96 .49080
97 .49094
98 .49108
99 .49122
3100 .49136

[Pg 121]

TABLE III.
BAROMETRIC READINGS IN MILLIMETERS.—
ALTITUDES IN METERS.

This is from Radau’s table. The formula for calculation of difference of altitude of two stations is

in which D is the difference of height in meters, h and h' are barometer readings in millimeters and t and t' are the temperatures in centigrade degrees.

  Mill.      Meters.
500 3365.4
501 3349.4
502 3333.5
503 3317.6
504 3301.7
505 3285.9
506 3270.1
507 3254.3
508 3238.5
509 3222.8
510 3207.1
511 3191.5
512 3175.9
513 3160.3
514 3144.7
515 3129.2
516 3113.7
517 3098.2
518 3082.8
519 3067.4
520 3052.0
521 3036.6
522 3021.3
523 3006.0
524 2990.7
525 2975.5
526 2960.3
527 2945.1
528 2930.0
529 2914.9
530 2899.8
531 2884.7
532 2869.7
533 2854.7
534 2839.7
535 2824.7
536 2809.8
537 2794.9
538 2780.0
539 2765.2
540 2750.4
541 2735.6
542 2720.9
543 2706.1
544 2691.4
545 2676.8
546 2662.1
547 2647.5
548 2632.9
549 2618.3
550 2603.8
551 2589.3
552 2574.8
553 2560.3
554 2545.9
555 2531.5 [Pg 122]
556 2517.1
557 2502.7
558 2488.4
559 2474.1
560 2459.8
561 2445.6
562 2431.4
563 2417.2
564 2403.0
565 2388.8
566 2374.7
567 2360.6
568 2346.5
569 2332.5
570 2318.4
571 2304.4
572 2290.4
573 2276.5
574 2262.6
575 2248.7
576 2234.8
577 2220.9
578 2207.1
579 2193.3
580 2179.5
581 2165.7
582 2152.0
583 2138.3
584 2124.6
585 2110.9
586 2097.3
587 2083.7
588 2070.1
589 2056.5
590 2042.9
591 2029.4
592 2015.9
593 2002.4
594 1989.0
595 1975.5
596 1962.1
597 1948.7
598 1935.4
599 1922.0
600 1908.7
601 1895.4
602 1882.1
603 1868.8
604 1855.6
605 1842.4
606 1829.2
607 1816.0
608 1802.9
609 1789.8
610 1776.7
611 1763.6
612 1750.5
613 1737.5
614 1724.4
615 1711.4
616 1698.5
617 1685.5
618 1672.6
619 1659.7
620 1646.8
621 1633.9
622 1621.0
623 1608.2
624 1595.4
625 1582.6
626 1569.8
627 1557.1
628 1544.4
629 1531.7
630 1519.0
631 1506.3
632 1493.7
633 1481.0
634 1468.4
635 1455.8
636 1443.3
637 1430.7
638 1418.2
639 1405.7
640 1393.2
641 1380.7
642 1368.3
643 1355.8
644 1343.4
645 1331.0
646 1318.7
647 1306.3
648 1294.0
649 1281.7
650 1269.4
651 1257.1
652 1244.8
653 1232.6
654 1220.4
655 1208.2
656 1196.0
657 1183.8 [Pg 123]
658 1171.7
659 1159.5
660 1147.4
661 1135.3
662 1123.3
663 1111.3
664 1099.2
665 1087.2
666 1075.2
667 1063.2
668 1051.2
669 1039.3
670 1027.3
671 1015.4
672 1003.5
673 991.7
674 979.8
675 968.0
676 956.1
677 944.3
678 932.6
679 920.8
680 909.0
681 897.3
682 885.6
683 873.9
684 862.2
685 850.5
686 838.9
687 827.3
688 815.6
689 804.0
690 792.5
691 780.9
692 769.3
693 757.8
694 746.3
695 734.8
696 723.3
697 711.9
698 700.4
699 689.0
700 677.6
701 666.2
702 654.8
703 643.4
704 632.1
705 620.7
706 609.4
707 598.1
708 586.8
709 575.6
710 564.3
711 553.1
712 541 8
713 530.6
714 519.5
715 508.3
716 497.1
717 486.0
718 474.8
719 463.7
720 452.6
721 441.6
722 430.5
723 419.4
724 408.4
725 397.4
726 386.4
727 375.4
728 364.4
729 353.5
730 342.5
731 331.6
732 320.7
733 309.8
734 298.9
735 288.0
736 277.2
737 266.3
738 255.5
739 244.7
740 233.9
741 223.1
742 212.3
743 201.6
744 190.8
745 180.1
746 169.4
747 158.7
748 148.0
749 137.4
750 126.7
751 116.1
752 105.5
753 94.9
754 84.3
755 73.7
756 63.1
757 52.6
758 42.0
759 31.5 [Pg 124]
760 21.0
761 10.5
762 0.0
763 -10.5
764 -20.9
765 -31.4
766 -41.8
767 -52.2
768 -62.6
769 -73.0
770 -83.4
771 -93.7
772 -104.1
773 -114.4
774 -124.7
775 -135.0
776 -145.3
777 -155.6
778 -165.9
779 -176.1
780 -186.4

[Pg 125]


In comparing the Aneroid with a Mercurial Barometer, correct the latter by the following table, subtracting the corrections.

TABLE IV.
REDUCTION OF MERCURIAL
COLUMN TO 32° FAHR.

Brass scale to barometer correct at 62° Fahr.

 
Temp. 
°F.
  30”     25”     20”  
32 .009 .008 .006
35 .017 .015 .012
40 .031 .026 .021
45 .044 .037 .030
50 .058 .048 .038
55 .071 .059 .047
60 .084 .070 .056
65 .098 .082 .065
70 .111 .093 .074
75 .125 .104 .083
80 .138 .115 .092
85 .151 .126 .101
90 .164 .137 .110
95 .178 .148 .118
100  .191 .159 .127
 

[Pg 126]

TABLE V.
BAROMETRIC PRESSURES CORRESPONDING
TO BOILING WATER TEMPERATURES.

 
Whole Deg. Tenths of each Degree.
  .0 .2 .4 .6 .8
  in. in. in. in. in.
 183   16.317   16.389   16.461   16.533   16.605 
184 16.618 16.752 16.826 16.900 16.974
185 17.048 17.122 17.197 17.272 17.348
186 17.423 17.499 17.575 17.652 17.729
187 17.806 17.883 17.961 18.039 18.117
188 18.195 18.274 18.353 18.432 18.512
189 18.592 18.672 18.753 18.833 18.914
190 18.996 19.077 19.159 19.241 19.324
191 19.407 19.490 19.573 19.657 19.741
192 19.825 19.910 19.995 20.080 20.166
193 20.251 20.338 20.424 20.511 20.598
194 20.685 20.773 20.861 20.949 21.038
195 21.126 21.216 21.305 21.395 21.485
196 21.576 21.666 21.758 21.849 21.941
197 22.033 22.125 22.218 22.311 22.404
198 22.498 22.592 22.686 22.781 22.876
199 22.971 23.067 23.163 23.259 23.356
200 23.453 23.550 23.648 23.746 23.845
201 23.943 24.042 24.142 24.241 24.341
202 24.442 24.542 24.644 24.745 24.847
203 24.949 25.051 25.154 25.257 25.361
204 25.465 25.569 25.674 25.779 25.884
205 25.990 26.096 26.202 26.309 26.416
206 26.523 26.631 26.740 26.848 26.957
207 27.066 27.176 27.286 27.397 27.507
208 27.618 27.730 27.842 27.954 28.067
209 28.180 28.293 28.407 28.521 28.636
210 28.751 28.866 28.982 29.098 29.215
211 29.331 29.449 29.566 29.684 29.803
212 29.922 30.041 30.161 30.281 30.401
 

Transcriber’s Notes:


The cover image was created by the transcriber, and is in the public domain.

The illustrations have been moved so that they do not break up paragraphs and so that they are next to the text they illustrate.

Typographical and punctuation errors have been silently corrected.

*** END OF THE PROJECT GUTENBERG EBOOK THE ANEROID BAROMETER: ITS INSTRUCTION AND USE ***
Updated editions will replace the previous one—the old editions will be renamed.
Creating the works from print editions not protected by U.S. copyright law means that no one owns a United States copyright in these works, so the Foundation (and you!) can copy and distribute it in the United States without permission and without paying copyright royalties. Special rules, set forth in the General Terms of Use part of this license, apply to copying and distributing Project Gutenberg™ electronic works to protect the PROJECT GUTENBERG™ concept and trademark. Project Gutenberg is a registered trademark, and may not be used if you charge for an eBook, except by following the terms of the trademark license, including paying royalties for use of the Project Gutenberg trademark. If you do not charge anything for copies of this eBook, complying with the trademark license is very easy. You may use this eBook for nearly any purpose such as creation of derivative works, reports, performances and research. Project Gutenberg eBooks may be modified and printed and given away—you may do practically ANYTHING in the United States with eBooks not protected by U.S. copyright law. Redistribution is subject to the trademark license, especially commercial redistribution.
START: FULL LICENSE
THE FULL PROJECT GUTENBERG LICENSE
PLEASE READ THIS BEFORE YOU DISTRIBUTE OR USE THIS WORK
To protect the Project Gutenberg™ mission of promoting the free distribution of electronic works, by using or distributing this work (or any other work associated in any way with the phrase “Project Gutenberg”), you agree to comply with all the terms of the Full Project Gutenberg™ License available with this file or online at www.gutenberg.org/license.
Section 1. General Terms of Use and Redistributing Project Gutenberg™ electronic works
1.A. By reading or using any part of this Project Gutenberg™ electronic work, you indicate that you have read, understand, agree to and accept all the terms of this license and intellectual property (trademark/copyright) agreement. If you do not agree to abide by all the terms of this agreement, you must cease using and return or destroy all copies of Project Gutenberg™ electronic works in your possession. If you paid a fee for obtaining a copy of or access to a Project Gutenberg™ electronic work and you do not agree to be bound by the terms of this agreement, you may obtain a refund from the person or entity to whom you paid the fee as set forth in paragraph 1.E.8.
1.B. “Project Gutenberg” is a registered trademark. It may only be used on or associated in any way with an electronic work by people who agree to be bound by the terms of this agreement. There are a few things that you can do with most Project Gutenberg™ electronic works even without complying with the full terms of this agreement. See paragraph 1.C below. There are a lot of things you can do with Project Gutenberg™ electronic works if you follow the terms of this agreement and help preserve free future access to Project Gutenberg™ electronic works. See paragraph 1.E below.
1.C. The Project Gutenberg Literary Archive Foundation (“the Foundation” or PGLAF), owns a compilation copyright in the collection of Project Gutenberg™ electronic works. Nearly all the individual works in the collection are in the public domain in the United States. If an individual work is unprotected by copyright law in the United States and you are located in the United States, we do not claim a right to prevent you from copying, distributing, performing, displaying or creating derivative works based on the work as long as all references to Project Gutenberg are removed. Of course, we hope that you will support the Project Gutenberg™ mission of promoting free access to electronic works by freely sharing Project Gutenberg™ works in compliance with the terms of this agreement for keeping the Project Gutenberg™ name associated with the work. You can easily comply with the terms of this agreement by keeping this work in the same format with its attached full Project Gutenberg™ License when you share it without charge with others.
1.D. The copyright laws of the place where you are located also govern what you can do with this work. Copyright laws in most countries are in a constant state of change. If you are outside the United States, check the laws of your country in addition to the terms of this agreement before downloading, copying, displaying, performing, distributing or creating derivative works based on this work or any other Project Gutenberg™ work. The Foundation makes no representations concerning the copyright status of any work in any country other than the United States.
1.E. Unless you have removed all references to Project Gutenberg:
1.E.1. The following sentence, with active links to, or other immediate access to, the full Project Gutenberg™ License must appear prominently whenever any copy of a Project Gutenberg™ work (any work on which the phrase “Project Gutenberg” appears, or with which the phrase “Project Gutenberg” is associated) is accessed, displayed, performed, viewed, copied or distributed:
This eBook is for the use of anyone anywhere in the United States and most other parts of the world at no cost and with almost no restrictions whatsoever. You may copy it, give it away or re-use it under the terms of the Project Gutenberg License included with this eBook or online at www.gutenberg.org. If you are not located in the United States, you will have to check the laws of the country where you are located before using this eBook.
1.E.2. If an individual Project Gutenberg™ electronic work is derived from texts not protected by U.S. copyright law (does not contain a notice indicating that it is posted with permission of the copyright holder), the work can be copied and distributed to anyone in the United States without paying any fees or charges. If you are redistributing or providing access to a work with the phrase “Project Gutenberg” associated with or appearing on the work, you must comply either with the requirements of paragraphs 1.E.1 through 1.E.7 or obtain permission for the use of the work and the Project Gutenberg™ trademark as set forth in paragraphs 1.E.8 or 1.E.9.
1.E.3. If an individual Project Gutenberg™ electronic work is posted with the permission of the copyright holder, your use and distribution must comply with both paragraphs 1.E.1 through 1.E.7 and any additional terms imposed by the copyright holder. Additional terms will be linked to the Project Gutenberg™ License for all works posted with the permission of the copyright holder found at the beginning of this work.
1.E.4. Do not unlink or detach or remove the full Project Gutenberg™ License terms from this work, or any files containing a part of this work or any other work associated with Project Gutenberg™.
1.E.5. Do not copy, display, perform, distribute or redistribute this electronic work, or any part of this electronic work, without prominently displaying the sentence set forth in paragraph 1.E.1 with active links or immediate access to the full terms of the Project Gutenberg™ License.
1.E.6. You may convert to and distribute this work in any binary, compressed, marked up, nonproprietary or proprietary form, including any word processing or hypertext form. However, if you provide access to or distribute copies of a Project Gutenberg™ work in a format other than “Plain Vanilla ASCII” or other format used in the official version posted on the official Project Gutenberg™ website (www.gutenberg.org), you must, at no additional cost, fee or expense to the user, provide a copy, a means of exporting a copy, or a means of obtaining a copy upon request, of the work in its original “Plain Vanilla ASCII” or other form. Any alternate format must include the full Project Gutenberg™ License as specified in paragraph 1.E.1.
1.E.7. Do not charge a fee for access to, viewing, displaying, performing, copying or distributing any Project Gutenberg™ works unless you comply with paragraph 1.E.8 or 1.E.9.
1.E.8. You may charge a reasonable fee for copies of or providing access to or distributing Project Gutenberg™ electronic works provided that:
• You pay a royalty fee of 20% of the gross profits you derive from the use of Project Gutenberg™ works calculated using the method you already use to calculate your applicable taxes. The fee is owed to the owner of the Project Gutenberg™ trademark, but he has agreed to donate royalties under this paragraph to the Project Gutenberg Literary Archive Foundation. Royalty payments must be paid within 60 days following each date on which you prepare (or are legally required to prepare) your periodic tax returns. Royalty payments should be clearly marked as such and sent to the Project Gutenberg Literary Archive Foundation at the address specified in Section 4, “Information about donations to the Project Gutenberg Literary Archive Foundation.”
• You provide a full refund of any money paid by a user who notifies you in writing (or by e-mail) within 30 days of receipt that s/he does not agree to the terms of the full Project Gutenberg™ License. You must require such a user to return or destroy all copies of the works possessed in a physical medium and discontinue all use of and all access to other copies of Project Gutenberg™ works.
• You provide, in accordance with paragraph 1.F.3, a full refund of any money paid for a work or a replacement copy, if a defect in the electronic work is discovered and reported to you within 90 days of receipt of the work.
• You comply with all other terms of this agreement for free distribution of Project Gutenberg™ works.
1.E.9. If you wish to charge a fee or distribute a Project Gutenberg™ electronic work or group of works on different terms than are set forth in this agreement, you must obtain permission in writing from the Project Gutenberg Literary Archive Foundation, the manager of the Project Gutenberg™ trademark. Contact the Foundation as set forth in Section 3 below.
1.F.
1.F.1. Project Gutenberg volunteers and employees expend considerable effort to identify, do copyright research on, transcribe and proofread works not protected by U.S. copyright law in creating the Project Gutenberg™ collection. Despite these efforts, Project Gutenberg™ electronic works, and the medium on which they may be stored, may contain “Defects,” such as, but not limited to, incomplete, inaccurate or corrupt data, transcription errors, a copyright or other intellectual property infringement, a defective or damaged disk or other medium, a computer virus, or computer codes that damage or cannot be read by your equipment.
1.F.2. LIMITED WARRANTY, DISCLAIMER OF DAMAGES - Except for the “Right of Replacement or Refund” described in paragraph 1.F.3, the Project Gutenberg Literary Archive Foundation, the owner of the Project Gutenberg™ trademark, and any other party distributing a Project Gutenberg™ electronic work under this agreement, disclaim all liability to you for damages, costs and expenses, including legal fees. YOU AGREE THAT YOU HAVE NO REMEDIES FOR NEGLIGENCE, STRICT LIABILITY, BREACH OF WARRANTY OR BREACH OF CONTRACT EXCEPT THOSE PROVIDED IN PARAGRAPH 1.F.3. YOU AGREE THAT THE FOUNDATION, THE TRADEMARK OWNER, AND ANY DISTRIBUTOR UNDER THIS AGREEMENT WILL NOT BE LIABLE TO YOU FOR ACTUAL, DIRECT, INDIRECT, CONSEQUENTIAL, PUNITIVE OR INCIDENTAL DAMAGES EVEN IF YOU GIVE NOTICE OF THE POSSIBILITY OF SUCH DAMAGE.
1.F.3. LIMITED RIGHT OF REPLACEMENT OR REFUND - If you discover a defect in this electronic work within 90 days of receiving it, you can receive a refund of the money (if any) you paid for it by sending a written explanation to the person you received the work from. If you received the work on a physical medium, you must return the medium with your written explanation. The person or entity that provided you with the defective work may elect to provide a replacement copy in lieu of a refund. If you received the work electronically, the person or entity providing it to you may choose to give you a second opportunity to receive the work electronically in lieu of a refund. If the second copy is also defective, you may demand a refund in writing without further opportunities to fix the problem.
1.F.4. Except for the limited right of replacement or refund set forth in paragraph 1.F.3, this work is provided to you ‘AS-IS’, WITH NO OTHER WARRANTIES OF ANY KIND, EXPRESS OR IMPLIED, INCLUDING BUT NOT LIMITED TO WARRANTIES OF MERCHANTABILITY OR FITNESS FOR ANY PURPOSE.
1.F.5. Some states do not allow disclaimers of certain implied warranties or the exclusion or limitation of certain types of damages. If any disclaimer or limitation set forth in this agreement violates the law of the state applicable to this agreement, the agreement shall be interpreted to make the maximum disclaimer or limitation permitted by the applicable state law. The invalidity or unenforceability of any provision of this agreement shall not void the remaining provisions.
1.F.6. INDEMNITY - You agree to indemnify and hold the Foundation, the trademark owner, any agent or employee of the Foundation, anyone providing copies of Project Gutenberg™ electronic works in accordance with this agreement, and any volunteers associated with the production, promotion and distribution of Project Gutenberg™ electronic works, harmless from all liability, costs and expenses, including legal fees, that arise directly or indirectly from any of the following which you do or cause to occur: (a) distribution of this or any Project Gutenberg™ work, (b) alteration, modification, or additions or deletions to any Project Gutenberg™ work, and (c) any Defect you cause.
Section 2. Information about the Mission of Project Gutenberg™
Project Gutenberg™ is synonymous with the free distribution of electronic works in formats readable by the widest variety of computers including obsolete, old, middle-aged and new computers. It exists because of the efforts of hundreds of volunteers and donations from people in all walks of life.
Volunteers and financial support to provide volunteers with the assistance they need are critical to reaching Project Gutenberg™’s goals and ensuring that the Project Gutenberg™ collection will remain freely available for generations to come. In 2001, the Project Gutenberg Literary Archive Foundation was created to provide a secure and permanent future for Project Gutenberg™ and future generations. To learn more about the Project Gutenberg Literary Archive Foundation and how your efforts and donations can help, see Sections 3 and 4 and the Foundation information page at www.gutenberg.org.
Section 3. Information about the Project Gutenberg Literary Archive Foundation
The Project Gutenberg Literary Archive Foundation is a non-profit 501(c)(3) educational corporation organized under the laws of the state of Mississippi and granted tax exempt status by the Internal Revenue Service. The Foundation’s EIN or federal tax identification number is 64-6221541. Contributions to the Project Gutenberg Literary Archive Foundation are tax deductible to the full extent permitted by U.S. federal laws and your state’s laws.
The Foundation’s business office is located at 809 North 1500 West, Salt Lake City, UT 84116, (801) 596-1887. Email contact links and up to date contact information can be found at the Foundation’s website and official page at www.gutenberg.org/contact
Section 4. Information about Donations to the Project Gutenberg Literary Archive Foundation
Project Gutenberg™ depends upon and cannot survive without widespread public support and donations to carry out its mission of increasing the number of public domain and licensed works that can be freely distributed in machine-readable form accessible by the widest array of equipment including outdated equipment. Many small donations ($1 to $5,000) are particularly important to maintaining tax exempt status with the IRS.
The Foundation is committed to complying with the laws regulating charities and charitable donations in all 50 states of the United States. Compliance requirements are not uniform and it takes a considerable effort, much paperwork and many fees to meet and keep up with these requirements. We do not solicit donations in locations where we have not received written confirmation of compliance. To SEND DONATIONS or determine the status of compliance for any particular state visit www.gutenberg.org/donate.
While we cannot and do not solicit contributions from states where we have not met the solicitation requirements, we know of no prohibition against accepting unsolicited donations from donors in such states who approach us with offers to donate.
International donations are gratefully accepted, but we cannot make any statements concerning tax treatment of donations received from outside the United States. U.S. laws alone swamp our small staff.
Please check the Project Gutenberg web pages for current donation methods and addresses. Donations are accepted in a number of other ways including checks, online payments and credit card donations. To donate, please visit: www.gutenberg.org/donate
Section 5. General Information About Project Gutenberg™ electronic works
Professor Michael S. Hart was the originator of the Project Gutenberg™ concept of a library of electronic works that could be freely shared with anyone. For forty years, he produced and distributed Project Gutenberg™ eBooks with only a loose network of volunteer support.
Project Gutenberg™ eBooks are often created from several printed editions, all of which are confirmed as not protected by copyright in the U.S. unless a copyright notice is included. Thus, we do not necessarily keep eBooks in compliance with any particular paper edition.
Most people start at our website which has the main PG search facility: www.gutenberg.org.
This website includes information about Project Gutenberg™, including how to make donations to the Project Gutenberg Literary Archive Foundation, how to help produce our new eBooks, and how to subscribe to our email newsletter to hear about new eBooks.